

GWN7800 Series
Entreprise Layer 2+
Managed Network Switch
Quick Installation Guide
OVERVIEW
The GWN7800 series are Layer 2+ managed network switches that allow small-to-medium enterprises to build scalable, secure, high-performance, and smart business networks that are fully manageable. It supports advanced VLAN for flexible and sophisticated traffic segmentation, advanced QoS for automated detection & prioritization of latency-sensitive voice/video traffic, IGMP Snooping for network performance optimization, and comprehensive security capabilities against potential attacks. The PoE models provide smart dynamic PoE output to power IP phones, IP cameras, Wi-Fi access points, and other PoE endpoints. The GWN7800 series can be managed in a number of ways, including the local network controller embedded in the GWN7800 series switch, any GWN7000 series router with integrated local master, Grandstream’s free on-premise network management software (GWN Manager), as well as Grandstream’s cloud network management platform (GWN.Cloud). The GWN7800 series are best value enterprise-grade managed network switches for small-to-medium businesses.
PRECAUTIONS
- Do not attempt to open, disassemble, or modify the device.
- Do not expose this device to temperatures outside the range of 0 °C to 45 °C for operation and -10 °C to 60 °C for storage.
- Do not expose the GWN7800 to environments outside of the following humidity range: 10-90% RH (non-condensing) for operation and 5-95% RH (non-condensing) forstorage.
- Do not power cycle your GWN7800 during system boot up or firmware upgrade. You may corrupt firmware images and cause the unit to malfunction.
PACKAGE CONTENTS

PORTS & LED Indicator
GWN7801/GWN7801P

| No. | Port & LED | Description |
| 1 | Port 1-8 | 8x Ethernet RJ45 (10/100/1000Mbps), used for connecting terminals. Note: GWN7801P Ethernet ports support PoE and PoE+. |
| 2 | 1-8 | Ethernet ports’ LED indicators |
| 3 | Port SFP1/2 | 2x 1000Mbps SFP ports |
| 4 | SFP 1/2 | SFP ports’ LED indicators |
| 5 | Console | 1x Console port, used for connecting and managing PC |
| 6 | RESET | Factory Reset pinhole. Press for 5 seconds to reset the factory default settings |
| 7 | SYS | System LED indicator |
| 8 | 100-240VAC 50-60Hz | Power socket |
| 9 | Lighting protection grounding post |

| No. | Port & LED | Description |
| 1 | Port 1-16 | 16x Ethernet RJ45 (10/100/1000Mbps), used for connecting terminals. Note: GWN7802P Ethernet ports support PoE and PoE+. |
| 2 | 1-16 | Ethernet ports’ LED indicators |
| 3 | Port SFP1/2/3/4 | 4x 1000Mbps SFP ports |
| 4 | SFP 1/2/3/4 | SFP ports’ LED indicators |
| 5 | Console | 1x Console port, used for connecting managing PC |
| 6 | RESET | Factory Reset pinhole. Press for 5 seconds to reset factory default settings |
| 7 | SYS | System LED indicator |
| 8 | 100-240VAC 50-60Hz | Power socket |
| 9 | Lighting protection grounding post | |
| 10 | Fan | 1x Fan |

| No. | Port & LED | Description |
| 1 | Port 1-24 | 24x Ethernet RJ45 (10/100/1000Mbps), used for connecting terminals. Note: GWN7803P Ethernet ports support PoE and PoE+. |
| 2 | 1-24 | Ethernet ports’ LED indicators |
| 3 | Port SFP1/2/3/4 | 4x 1000Mbps SFP ports |
| 4 | SFP 1/2/3/4 | SFP ports’ LED indicators |
| 5 | Console | 1x Console port, used for connecting managing PC |
| 6 | RESET | Factory Reset pinhole. Press for 5 seconds to reset factory default settings |
| 7 | SYS | System LED indicator |
| 8 | 100-240VAC 50-60Hz | Power socket |
| 9 | Lighting protection grounding post | |
| 10 | Fan | 2x Fans |
LED Indicator
| LED Indicator | Status | Description |
| System Indicator | Off | Power off |
| Solid green | Booting | |
| Flashing green | Upgrade | |
| Solid blue | Normal use | |
| Flashing blue | Privisioning | |
| Solid red | Upgrade failed | |
| Flashing red | Factory reset | |
| Port Indicator | Off | • For all ports, port off • For SFP ports, port failure |
| Solid green | Port connected and there is no activity | |
| Flashing green | Port connected and data is transferring | |
| Solid yellow | Ethernet port connected and PoE powered | |
| Flashing yellow | Ethernet port connected, data is transferred and PoE powered | |
| Alternately flashing yellow and green | Ethernet port failure |
POWERING & CONNECTING
Grounding the Switch
- Remove the ground screw from the back of switch, and connect one end of the ground cable to the wiring terminal of the switch.
- Put the ground screw back into the screw hole, and tighten it with a screwdriver.
- Connect the other end of the ground cable to another device that has been grounded or directly to the terminal of the ground bar in the equipment room.

Powering on the Switch
Connect the power cable and the switch first, then connect the power cable to the power supply system of the equipment room.

Connecting Power Cord Anti-Trip(Optional)
In order to protect the power supply from accidental disconnection, it’s recommended to purchase a power cord anti-trip for installation.
- Place the smooth side of the fixing strap towards the power outlet and insert it into the hole on the side of it.

- After plugging the power cord into the power outlet, slide the protector over the remaining strap until it slides over the end of the power cord.

- Wrap the strap of the protective cord around the power cord and lock it tightly. Fasten the straps until the power cord is securely fastened.
PORT CONNECTING
Connect to RJ45 Port
- Connect one end of the network cable to the switch and the other end to the peer device.

- After powering on, check the status of the port indicator. If on, it means that the link is connected normally; if off, it means the link is disconnected, please check the cable and the peer device whether is enabled.
Connect to SFP Port
The installation process of the fiber module is as follows:
- Grasp the fiber module from the side and insert it smoothly along the switch SFP port slot until the module is in close contact with the switch.

- When connecting, pay attention to confirming the Rx and Tx ports of SFP fiber module. Insert one end of the fiber into the Rx and Tx ports correspondingly, and connect the other end to another device.
- After powered on, check the status of the port indicator. If on, it means that the link is connected normally; if off, it means the link is disconnected, please check the cable and the peer device whether are enabled.
Notes:
- Please select the optical fiber cable according to the module type. The multi-mode module corresponds to the multi-mode optical fiber, and the single-mode module corresponds to the single-mode optical fiber.
- Please select the same wavelength optical fiber cable for connection.
- Please select an appropriate optical module according to the actual networking situation to meet different transmission distance requirements.
- The laser of first-class laser products is harmful to eyes. Do not look directly at the optical fiber connector.
Connect to Console Port
- Connect the RJ45 end of the console cable to the console port of a switch.
- Connect the other end of the console cable to the DB9 male connector or USB port to the PC.

INSTALLATION
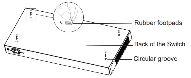
Install on the Desktop
- Place the bottom of the switch on a sufficiently large and stable table.
- Peel off the rubber protective paper of the four footpads one by one, and stick them in the corresponding circular grooves at the four corners of the bottom of the case.
- Flip the switch over and place it smoothly on the table

Install on the Wall
- Use the matching screws (KM 3*6) to fix the two L-shaped rack mounting kits (rotated 90°) on both sides of a switch.
- Stick the switch port up and horizontally on the selected wall, mark the position of the screw hole on the L-shaped rack-mounting kits with a marker. Then, drill a hole at the marked position with an impact drill, and drill the expansion screws(prepared by yourself) into the drilled hole in the wall.
- Use a screwdriver to tighten the screws(prepared by yourself) that have passed through the L-shaped rack-mounting kits to tighten the expansion solenoids to ensure that the switch is firmly installed on the wall.

Install on a 19” Standard Rack
Note: GWN7802/GWN7802P/GWN7803/GWN7803P support rack mounting.
- Check the grounding and stability of the rack.
- Install the two L-shaped rack-mounting in the accessories on both sides of the switch, and fix them with the screws provided (KM 3*6).

- Place the switch in a proper position in the rack and support it by the bracket.
- Fix the L-shaped rack mounting to the guide grooves at both ends of the rack with screws(prepared by yourself) to ensure that the switch is stably and horizontally installed on the rack.

ACCESS & CONFIGURE
Method 1: Login using Ethernet port
- A PC uses a network cable to correctly connect any RJ45 port of a switch.
- Set the Ethernet (or local connection) IP address of the PC to 192.168.0.x (“x” is any value between 1-253), and the subnet mask to 255.255.255.0, so that it is in the same network segment with switch IP address.
- Type the switch’s default management IP address http://192.168.0.254 in the browser, and enter username and password to log in (The default administrator username is “admin” and the default random password can be found at the sticker on the GWN7800 switch)

Method 2: Login using the Web UI
- Use the console cable to connect the console port of the switch and the serial port of the PC.
- Open the terminal emulation program of the PC (e.g. SecureCRT), and enter the default username and password to log in. (The default administrator username is “admin” and the default random password can be found at the sticker on the GWN7800 switch).
Method 3: Login Remotely using SSH/Telnet
- Turn on the Telnet of switch.
- Enter “cmd” in PC/Start.
- Enter telnet 192.168.0.254 in the cmd window.
- Enter the default username and password to log in (The default administrator username is “admin” and the default random password can be found at the sticker on the GWN7800 switch).
Method 4: Configure using GWN.Cloud / GWN Manager
Type https://www.gwn.cloud in the browser, and enter the account and password to log in to the cloud platform. If you don’t have an account, please register first or ask the administrator to assign one for you.
The GNU GPL license terms are incorporated into the device firmware and can be accessed via the Web user interface of the device at my_device_ip/gpl_license. It can also be accessed here: https://www.grandstream.com/legal/open-sourcesoftware
To obtain a CD with
GPL source code information please submit a written request to:
[email protected]
Refer to online documents and FAQ for more detailed information:
https://www.grandstream.com/our-products
U. S. FCC Part 15 Regulatory Information
This device complies with part 15 of the FCC Rules. Operation is subject to the following two conditions:
(1) this device may not cause harmful interference, and
(2) this device must accept any interference received, including interference that may cause undesired operation.
Any Changes or modifications not expressly approved by the party responsible for compliance could void the user’s authority to operate the equipment.
Note: This equipment has been tested and found to comply with the limits for a Class A digital device, pursuant to part 15 of the FCC Rules. These limits are designed to provide reasonable protection against harmful interference when the equipment is operated in a commercial environment. This equipment generates, uses, and can radiate radio frequency energy and, if not installed and used in accordance with the instruction manual, may cause harmful interference to radio communications. Operation of this equipment in a residential area is likely to cause harmful interference in which case the user will be required to correct the interference at his own expense.
CAN ICES-003 (A)/NMB-003(A)
If trouble is experienced with this equipment, please contact (Agent in the US):
Company Name: Grandstream Networks, Inc.
Address: 126 Brookline Ave, 3rd Floor Boston, MA 02215, USA
Tel: 1-617-5669300
Fax: 1-617-2491987
Grandstream Networks, Inc.
126 Brookline Ave, 3rd Floor
Boston, MA 02215. USA
Tel : +1 (617) 566 – 9300
Fax: +1 (617) 249 – 1987
www.grandstream.com
For Certification, Warranty, and RMA information, please visit
www.grandstream.com![]()




























