Instruction Manual

Sous Vide Garer PC-SV 1126![]()
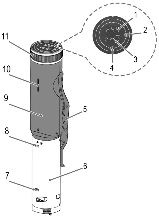
Overview of the Components
Illustrations A – B

Thank you for choosing our product. We hope you will enjoy using the appliance.
Symbols in these Instructions for Use
Important information for your safety is specially marked. It is essential to comply with these instructions in order to avoid accidents and prevent damage to the machine:
WARNING:
This warns you of dangers to your health and indicates possible injury risks.
Δ CAUTION:
This refers to possible hazards to the machine or other objects.
NOTE: This highlights tips and information.
General Notes
- Read the operating instructions carefully before putting the appliance into operation and keep the instructions including the warranty, the receipt, and, if possible, the box with the internal packing. If you give this device to other people, please also pass on the operating instructions.
- The appliance is designed exclusively for private use and for the envisaged purpose. This appliance is not fit for commercial use.
- Do not use it outdoors. Keep the motor housing away from heat, direct sunlight, dampness (never immerse in liquids), and sharp edges. Do not use the appliance with wet hands. If the motor housing is humid or wet, unplug it immediately.
- When cleaning or putting it away, switch off the appliance and always pull out the plug from the socket (pull the plug itself, not the lead) if the appliance is not being used and remove the attached accessories.
- The device and the main lead have to be checked regularly for signs of damage. If damage is found the device must not be used.
- Use only original spare parts.
- In order to ensure your children’s safety, please keep all packaging (plastic bags, boxes, polystyrene etc.) out of their reach.
WARNING:
Do not allow small children to play with the foil. There is a danger of suffocation!
Special Safety Instructions for the Appliance
WARNING: Risk of burns!
During operation and afterward, the temperature of the accessible surfaces will be very high.
- Always hold the appliance by the motor housing.
Δ CAUTION:
Do not immerse the motor housing in water for cleaning. Please follow the instructions as stipulated in the chapter “Cleaning”.
- The pan in which you wish to use the appliance must be heat-resistant and stable in shape. Do not use any plastic containers.
- The water level must be between the MAX and MIN marks.
- Use the appliance only on a level work surface.
- Do not move the appliance and the pan and do not touch both during operation.
- Only operate the appliance if fully assembled.
- Do not operate the appliance with an external timer or a separate remote control system.
- Unplug the power plug before removing the appliance from water.
- Do not leave the unit unattended for hours at a time. Do not leave your home whilst the unit is in operation.
- Children are not allowed to use the appliance.
- Cleaning and user maintenance shall not be made by children.
- Keep the appliance and its cord out of reach of children less than 8 years.
- Children shall not play with the appliance.
- This appliance may be used by persons with limited physical, sensory or mental capabilities or a lack of experience and knowledge, if they are supervised or have been instructed in the safe use of the appliance and understand the hazards involved.
- Do not try to repair the appliance on your own. Always contact an authorized technician. If the supply cord is damaged, it must be replaced by the manufacturer, its service agent, or similarly qualified persons in order to avoid a hazard.
Designated Use
This appliance is intended exclusively for normal domestic use. It is not intended for use in the following locations:
- in staff kitchens in shops, offices, and other commercial areas;
- in agricultural enterprises;
- by guests in hotels, motels, and other housing facilities;
- in bed & breakfasts.
Unpacking the Appliance
- Remove the device from its packaging.
- Remove all packaging materials like foils, filling materials, cable holders, and carton packaging.
- The control panel (display) was covered in a protective film for transportation purposes. Remove this foil.
- Check the scope of deliveries for completeness.
- If there are missing parts or obvious damage, do not use the device. Return it to your retailer immediately.
NOTE:
There may still be dust or production remains on the device. We recommend that you clean the device as described under “Cleaning”.
Overview of the Components /Delivery Scope
- Temperature display
- Button
with integrated indicator light - Cooking time display
- Button
with integrated indicator light - Fastening clip
- Heater box
- Marking MIN (minimum amount of water)
- Marking MAX (maximum water quantity)
- Motor housing
- Power indicator light
- Mode selector wheel
Interesting Facts Concerning Sous Vide Cooking
Sous Vide cooking (French sous “under”, vide “vacuum”) is a method for slow cooking of meat, fish, or vegetables at low temperatures. The food is welded into a plastic bag before cooking, the air is sucked out with a vacuuming unit, and then the food is cooked at constant water temperatures in the range from 45 to 90 °C.
With this cooking method, the food is pasteurized and the storage life is extended.
WARNING:
- Pasteurized food must either be consumed immediately or must be cooled and frozen quickly to prevent the growth and increase of spores.
- Food prepared with Sous Vide cooking is not suitable for immuno-compromised persons.
Vacuuming Food
Vacuuming preserves the original flavors and aromas of the food. When you add ingredients like spices or herbs to the foil bag, the taste becomes more intense.
- Use only foil bags that are especially suited for vacuuming and are heat-resistant. Other bags do not guarantee the required correct closure.
- Keep the area at the welding seam dry and clean. Avoid wrinkles. The seam may leak at such places.
- You can purchase a vacuum sealer in a specialist shop. From our product line, we recommend the vacuum sealer PC-VK 1080 and the corresponding spare bags and foils.
Contact your dealer.
– Vacuum Sealer PC-VK 1080
Item No.: 501 080
– Spare bag, size 22 x 30 cm
Item No.: 8 910 151
– Spare bag, size 28 x 40 cm
Item No.: 8 910 152
– Foil roll, size 28 cm x 6 m
Item No.: 8 910 155
Application Instructions for the Appliance
Location
- Put the pan in which you want to use the appliance on a non-slip, flat, and heat-resistant surface.
- Take care that the appliance and the mains cable never are placed onto hot surfaces or near heat sources (e.g. range, hob).
Electric Connection
- Before inserting the power plug into the outlet, check that the main voltage to be used matches that of the device. You can find the required information on the nameplate.
- Connect the device only to a correctly installed safety socket.
| Button | Function description |
| Turn the appliance on / off / Start the heating phase; start the cooking time / stop the process To switch off the appliance or terminate the process, press and hold the button | |
| To select the next setting (Water temperature→ Hours→ Minutes) |
When switched on, each button press is confirmed with a beep.
Fastening Clip
Use the clip to attach the Sous Vide cooker to a suitable pan. The pan capacity should be between 6 and 15 liters. In order to securely attach the appliance to the pan with the clip, make sure that the pan height is at least 15 cm. (See page 4, Fig. A)
Water Quantity
- First, attach the Sous Vide cooker to the pan and put in the food. Fill up the pan with water to the MAX mark shown on the appliance. This ensures that the set temperatures are maintained within + / – 1 °C.
- The weld-sealed food always must be covered with water.
- If the food has not been covered with water due to air bubbles, place a weight (e.g., plate) on the bag.
- When the water level drops below the MIN mark, the temperature protection unit starts up. A beep will be heard and the appliance will shut down. The notification “EE
“ appears on the display. Therefore, ensure that the water level is between the MIN and MAX marks. The process must be restarted after this. Selecting the Cooking Time - The cooking time depends on the thickness of the food. The times may vary due to the quantity and consistency of the food as well. Accordingly, the following time settings are only guidelines and should be adapted according to your taste.
- Extend the time by at least 20 % for deep-frozen food.
- Double the time for tough meat.
WARNING:
The temperatures listed in the tables must not be fallen short of!
– Meat: Temperature 58 °C – 62 °C
| Thickness | Time in minutes |
| 10 mm | 30 |
| 20 mm | 45 |
| 30 mm | 95 |
| 40 mm | 120 |
| 50 mm | 180 |
| 60 mm | 250 |
– Poultry: Temperature 63 °C – 65 °C
| Thickness | Time in minutes |
| 10 mm | 20 |
| 20 mm | 40 |
| 30 mm | 75 |
| 40 mm | 90 |
– Fish: Temperature 55 °C – 58 °C
| Thickness | Time in minutes |
| 10 mm | 10 |
| 20 mm | 20 |
| 30 mm | 30 |
| 40 mm | 40 |
| 50 mm | 50 |
| 60 mm | 60 |
– Vegetables: Temperature 80 °C – 85 °C
| Type | Time in minutes |
| Potatoes | 40 |
| Asparagus | 25 |
| Root vegetables | 70 |
| Crisp vegetables | 70 |
Power Failure
If the power supply is interrupted, the process must be restarted.
Use
- Attach the appliance onto a suitable pan.
- Place the packaged food into the pan.
- Pour warm water into the pan to reduce the heating time.
- Press the
button to switch on the appliance. A beep is heard and the temperature indicator starts flashing. - Use the selector wheel to set the desired temperature.
- Confirm your setting by pressing the
button. The hour display starts flashing. - Use the selector wheel to set the hours.
- Confirm your setting by pressing the
button. The minute display and the
button control lamp start flashing. - Use the selector wheel to set the minutes.
- Press the
button. The current water temperature is displayed. The appliance starts to heat the water. The power indicator lights blue. - When the set temperature is reached, you will hear two beeps. The colon in the clock time and the operation indicator lamp start flashing. The countdown timer starts up.
- You hear a beep at the end of the time. The notification “ End“ appears in the display. The device will switch off automatically. Disconnect the plug from the mains.
Complete Operation Prematurely
- You can also previously cancel the operation at any time. Hold the
button pressed down for about 3 seconds. - Disconnect the mains plug from the socket.
After Cooking
After cooking, you can use the food in different ways:
Keeping Food Warm
You can keep pasteurized food warm at 55 °C or higher until it is served. While keeping the food warm prevents the growth of any germs, meat and vegetables are further cooked and may turn mushy when they are kept warm too long. This depends on the temperature and the type of food. Tough pieces of beef may be cooked and kept for 24 to 48 hours in a water bath at 55 °C. However, most food can be kept only for 8 to 10 hours before becoming too soft.
Operate the Sous Vide pan as described above.
- Set a temperature of 55 °C.
- Select the max. time for keeping the food warm after
cooking.
Some hints in the following:
| Food | Max. time in hours |
| Meat | 10-Jun |
| Poultry | 3-Feb |
| Fish | 1 |
| Vegetables | 2 |
Serve the Food Immediately
You can eat the food immediately after Sous Vide cooking.
HINT:
- Fry cooked meat in a hot pan with a little oil crisply for max. 1 minute on each side. The meat remains juicier with shorter frying.
- By seasoning the raw meat before cooking, frying it for a short time and then vacuuming it, the meat is completely ready for eating after Sous Vide cooking.
Storing of Cooked Food
IMPORTANT:
When you want to keep pasteurized food, cool it down in ice water to 5 °C. The water bath should be filled at least half with ice.
Then you can freeze the food in the vacuum bag or store it at refrigerator temperatures for approx. 5 days.
If you wish to use frozen, already-cooked food, you need to thaw the vacuum-sealed food at 55 °C in a pan using the Sous Vide cooker. Then remove it from the bag for further
processing or consumption.
Preparation of Yoghurt
Interesting Facts about Yoghurt
Yogurt is a product that is similar to curdled milk and that is acquired from milk through the action of bacteria. The milk is enriched with yogurt cultures (high bacterial
count). The bacteria multiply at an average temperature of 45 °C. The milk sugar (lactose) present in the milk is converted to lactic acid. As a result, the milk congeals.
Preparation of Yoghurt
• You need pasteurized milk (H-milk) and natural yogurt at a mixing ratio of 100 ml: 15 ml (or 140 ml: 20 ml).
• You can purchase yogurt jars in a specialist shop.
- Place the pot with the appliance in a location where these will not be moved or exposed to any vibration while preparing yogurt. Otherwise, the yoghurt remains liquid.
- Heat the H-milk in a pot to ca. 45 °C and blend in the natural yoghurt or the yogurt culture. If you would like to use fresh milk, boil this beforehand and allow it to cool
down to approx. 45 °C. - Fill this mixture into the previously cleaned jars. Screw the lids onto the jars.
- Place the closed jars in the pot with the attached Sous Vide cooker.
- Pour warm water into the pan (max. 45 °C).
- Operate the Sous Vide pan as described above.
• Set a temperature of 45 °C.
• Set the timer for 12 hours.
NOTE:
- The longer the yoghurt matures, the stronger the taste becomes.
- A jar of finished yogurt can be used again as a starter culture, but not more than approx. 20 times, as the effect, weakens with time.
- Fruits, nuts, jams, or similar items should be added after preparation only.
- Always store the finished yogurt in the refrigerator.
Cleaning
WARNING:
- Always turn the device off before cleaning it and remove the main plug. Wait until the device has cooled down.
- Do not immerse the motor housing in water for cleaning in any case. Doing so may result in an electric shock or fire.
Δ CAUTION:
- Do not use any wire brush or other abrasive objects.
- Do not use any acidic or abrasive detergents.
Motor Housing
Clean the housing only with a damp cloth and a squirt of washing-up liquid. Dry with a cloth.
Heater Box
For thorough cleaning, please remove the heater box.
- Turn the heater box towards “
“ and remove it from the motor housing. (See page 4, Fig. B) - Clean this part in a bowl of hot water. Then dry it before assembling this part again.
NOTE:
During assembly, make sure that the marking
on the heater box and the symbol
on the motor housing are aligned on top of each other.
Decalcification
• Descale the appliance at regular intervals.
• The frequency of the decalcifying operation depends on the hardness of the water and on how often the appliance is used.
• Please do not use vinegar but a commercially available decalcification agent on the basis of citric acid. Only use the quantities stated in the instructions.
- Attach the appliance onto a suitable pan.
- Fill up the pot with hot water and add a descaling agent.
- Set the temperature and the timer as described in the
“Use“ section.
– Set the maximum temperature.
– Set the timer to a couple of minutes. - Repeat the process, as necessary, until the limescale has completely dissolved.
Storage
- Clean the device as described.
- We recommend that you store the device in its original packaging when it is not to be used for a longer period.
- Always store the device in a well-ventilated and dry place outside the reach of children.
Troubleshooting
| Problem | Possible Cause | Remedy |
| The device is not working. | The device has no power supply. | Check the socket with another appliance. |
| Plug in the mains plugs correctly. | ||
| Check the main circuit breaker. | ||
| The appliance switches off prematurely or the temperature protection unit starts up (EE 1). | The device is calcified. | Descale the appliance as described. |
| The water level has dropped below the MIN level mark. | Fill up with water and restart the process. |
Technical Data
Model:………………………………………………………….. PC-SV 1126
Power supply:………………………………… 220 – 240 V~, 50 / 60 Hz
Power rating: …………………………………………………………. 800 W
Protection class: ……………………………………………………………..
Degree of protection against liquids: ………………………….IPX7*
Circulation pump: …………………. 8 liters per minute at the most
Temperature: ……………………………………………. 0 to 90 °C max.
Temperature stability: ……………………………………………± 0,1 °C
Suitable pan height: ………………………………….. 15 cm or higher
Net weight: ………………………………………………. approx. 1.18 kg
* This appliance complies with IPX7. This means that the appliance is protected against temporary submersion.
The right to make technical and design modifications in the course of continuous product development remains reserved. This device has been tested according to all relevant current CE guidelines, such as electromagnetic compatibility and low voltage directives, and has been constructed in accordance with the latest safety regulations.
Disposal
Meaning of the “Dustbin” Symbol
Protect our environment: do not dispose of electrical equipment in domestic waste.
Please return any electrical equipment that you will no longer use to the collection points provided for their disposal.
This helps avoid the potential effects of incorrect disposal on the environment and human health.
This will contribute to the recycling and other forms of re-utilization of electrical and electronic equipment.
Information concerning where the equipment can be disposed of can be obtained from your local authority.
warranty card
PC-SV 1126
24 months warranty according to warranty declaration
date of purchase, dealer stamp, signature
Illustrations A – B
















