The Home Depot CFBR-11221 60 Inch Ceiling Fan

Safety Information
- To reduce the risk or electrical shock the electricity has been turned off at the circuit breaker or fuse box before begin.
- All wiring must be in accordance with the National Electrical Code NASI/NFPA 70 -1999 and local electrical codes. Electrical install ion should be performed by a qualified licensed electrician .
- The outlet box and support structure must be securely mounted and capable of reliably supporting
35ib.(15.9kg).Use only UL listed outlet boxes marked “Acceptable for Fan Support of 35ibs(15.9kg)or less.” - The fan must be mounted with a minimum of 7 ft. (2m) clearance from the trailing edge of the blades to the floor.
- Do not operate the reversing switch while the fan blades are in motion. You must turn the fan off and stop the blades before you reverse the blade direction.
- Do not place objects in the path of the blades.
- To avoid personal injury or damage to the fan and other items use caution when working around or cleaning the fan.
- Electrical diagrams are for reference only. Light kits that are not packed with the fan must be UL-listed and marked suitable for use with the model fan you are installing. Switches must be UL General Use Switches. Refer to the instructions packaged with the light kits and switches for proper assembly.
- After making electrical connections, spliced conductors should be turned upward and pushed carefully up into the outlet box. The wires should be spread apart with the grounded conductor and the equipment-grounding conductor on one side of the outlet box.
- All setscrews must be checked and retightened where necessary before installation.
- WARNING:TO reduce the risk of personal injury, do not bend the blade brackets (also referred to as flanges) during assembly or after installation. Do not insert objects in the path of the blades .
- WARNING: Remove the rubber motor stops on the bottom of the fan before installing the blades or testing the motor.
- WARNING: To reduce the risk or fire or electric shock.do not use this fan with any solid-state speed control device.
- WARNING: To avoid possible electrical shock, turn the electricity off at the main fuse box before wiring .It you feel you do not have enough electrical wiring knowledge or experience, contact a licensed electrician.
- WARNING: Electrical diagrams are for reference only. Optional use of any light kit shall be UL-listed and marked suitable for use with this fan.
- WARNING: To reduce the risk of fire, electric shock, or personal injury. mount to outlet box marked” Acceptable for fan support of 35 ibs.(15.9 kg)or less.• and use the screws provided with the outlet box.
Warranty
The supplier warrants the fan motor to be free from defects in workmanship and material present at time of shipment from the factory for a lifetime after the date of purchase by the original purchaser. The supplier also warrants that all other fan parts. excluding any glass or acrylic blades.to be free from defects in workmanship and material at the time of shipment from the factory for a period of one year after the date of purchase by the original purchaser. We agree to correct such defects without charge or at our option replace with a comparable or superior model if the product is returned. To obtain warranty service. you must present a copy of the receipts proof of purchase. All costs of removing and reinstalling the product are your responsibility. Damage to any part. such as by accident, misuse ,improper installation or by affixing any accessories ,is not covered by this warranty. Because of varying climatic conditions this warranty does not cover any changes in brass finish ,including rusting pitting, corroding, tarnishing or peeling. Brass finish of this type give their longest useful life when protected from varying weather conditions. A certain amount of “wobble” is normal and should not be con sided a defect. Servicing performed by unauthorized persons shall render the warranty invalid. There is no other express warranty. hereby disclaims any and all warranties including but not limited to those of merchantability and fitness for a particular purpose to the extent permitted by law. The duration of any impiled warranty which cannot be disclaimed is limited to the time period as specified in the express warranty. Some states do not allow a limitation on how long an implied warranty lasts.so the above limitation may not apply to you. The retailer shall not be liable for incidental, consequential ,or special damages arising out of or in connection with product use or performance except as may otherwise be accorded by law. Some states do not allow the exclusion of incidental or consequential damages.so the above exclusion or limitation may not apply to you. This warranty gives specific legal rights. and you may also have other rights which vary from state to state. This warranty supersedes all prior warranties. Shipping costs for any return of products as part of a claim on the warranty must be paid by the customer.
Pre-installation
TOOLS REQUIRED

HARDWARE INCLUDED
components table

| AA | Mounting screws | |
| BB | Expansion Bolts | 2 |
| cc | Balanced parts package | |
| 00 | Plastic wire nut(not to scale) | 5 |
PACKAGE CONTENTS



Installation of hanging brackets

For wooden ceiling, use wood screw to drill on the wooden beam or the “junction box” to fix the hanging bracket (selection is made according to actual requirements of the customers).
TEP 1A-WOODEN CEILING
SWITCH OFF THE ELECTRICAL MAINS AT THE CIRCUIT BREAKER FUSE BOX.
- Use the Mounting Bracket(A) as a guide, mark the spots where the 4 Self Tapping Screws (B) will be drilled.
- Remove the Mounting Bracket(A), drill 4 holes for 3MM diameter,
install the mounting bracket onto wooden ceiling with 4 Self Tapping Screws (B) & Washers (C). NOTE SCREWS MUST BE TIGHTENED TILL SUNG

Note: According to the ceiling of different materials, use different screws to fix the hanging bracket. Don’t fix the hanging bracket on the wood ceiling less than 12MM to prevent danger caused by loosening or screws.
After the hanging bracket 1s completed, ensure that it can withstand the tension test of more
than 68KG for safety.
For concrete ceiling, use the percussion bit with diameter 8mm to drill holes according to the length of expansion screws. Then use the attached expansion screws to fix the hanging bracket onto the ceiling (selection is made according to actual requirements of the customers).
STEP 2 A CONCRETE CEILING
SWITCH OFF THE ELECTRICAL MAINS AT THE CIRCUIT BREAKER FUSE BOX.
- Use the Mounting Bracket (A) as a guide, mark the spots where the 4 Expansion Bolts (B) will be drilled.
- Remove the Mounting Bracket (A), drill 4 holes and insert4 Expansion Bolts(2) into the concrete ceiling, install the mounting bracket and secure with Flat Washers (C), Spring Washers (D) and Nuts (E).
INSTTALLING THE HANGING PART OF THE CELLING FAN
Installing of downrod


- Thread the suspender through the suspended clock and coupling cover.
- Then insert the tail of the suspender from the lifting head of the motor.
- Remove the lateral pin out from the suspended head position, secure with R type pin(Clevis pin).
- Tighten the lifting head screws. Tighten the 2 Set Screws on the Coupling to serve as a clamping force on the Downrod to prevent fan shaking during operation.
- Route the Coupling cover , Canopy Ring , Canopy and Hanger Ball through the Downrod in turn, and then install the Lock pin through the hole on the Downrod. Fix it by Screw, then slip down the Coupling Cover in correct position.
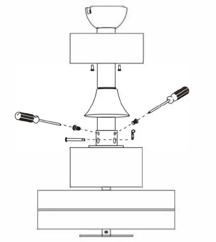
Preparing for mounting

- Remove the mounting bracket from the canopy by loosening the two canopy screws located in the L shaped slots.
- Remove and save the two canopy screws in the round holes. This will enable you to remove the mounting bracket
Install remote control

- Carefully push the canopy to the bottom of the mounting bracket, make two sliding holes aligned to the two prominent screws on the mounting bracket, and then turn clockwise until tight.
- Push the canopy ring to the bottom of the canopy,
slide the inner holes aligned to the two prominent screws on the mounting bracket again, and turn the canopy ring clockwise until tight.
Preparing for mounting


- Remove the mounting bracket from the canopy by loosening the two canopy screws located in the L shaped slots.
- Remove and save the two canopy screws in the round holes. This will enable you to remove the mounting bracket
ASSEMBLY -ATTACHING THE FAN BLADES
Fastening the blade to the motor


- NOTE: Your fan blades are reversible. Select the blade side finish which best accentuates your decor.
- NOTE: Your fan features revolutionary advancements for quick and easy blade installation. Including an alignment post and captive blade arm screws.
- WARNING: Remove the rubber motor stops on the bottom L..1.1 of the fan before installing the blades or testing the motor.
- Fasten the Blade to the fan-motor assembly by inserting the alignment post into the slot on the bottom of the motor and tightening the pre-installed Blade screws.
- Repeat this step for the remaining blade assemblies.
ASSEMBLY -ATTACHING THE LIGHT
Install the lamp filter


CAUTION: To reduce the risk of electric shock, disconnect the electrical circuit to the fa before installing the light fixture.
- Remove three screws from the plate which on the motor.
- Use these three screws assemble the light kit fitter.
Connecting lamp wire

CAUTION: To reduce the risk of electric shock. disconnect the electrical circuit to the fa before installing the light fixture.
- 1nsert the “white” line in the switching box of the motor into the “white “line of the light and tie insulated rubber tape.
- lnsert the “bule” line in the switching box of the motor into the “blue “line of the light and tie in suklated rubber tape.
Install the lamp cover

- WARNING: Allow the shatter resistant bowl to cool completely before removing.
- CAUTION: Make sure the power is off before attaching or removing the shatter resistant bowl.
- CAUTION: Do not over tighten the hex nut, over tightening the hex nut may cause the shatter resistant bowl to break.
USE OF REMOTE CONTROLL

- ALL OFF: Turn off the lights and fans at the same time
- Fan Control Keys
- F/R:Changing fan run direction(15 sec) ® Timer: It will turn off the light and the fan when the time is over
- Turn on/off the light
(This product does not have this feature.) ® Anti-theft lamp and natural wind
(This product does not have this feature.)
Note: the remote control must match the same code receiver
REMOTE CONTROLL WIRING DAIGRAM

FAN BALANCE

Slide the balancing clip on the trailing edge of any blade, halfway between the holder and tip. Run the fan to check the wobble. If the wobble persists, repeat with each blade, noting which one most reduced the wobble.

Slide the clip in small increments away from the center of that blade. Move the clip, operate the fan, then move it again until you eliminate as much wobble as possible.

Stick the adhesive-backed balancing weight on the top center of the blade directly in line with the balancing clip. Add more weight if needed to get a smooth-running fan.
CARE AND CLEANING
WARNING: Make sure the power is off before cleaning your fan.
- Because of the fan’s natural movement, some connections may become loose. Check the support connections, brackets, and blade attachments twice a year. Make sure they are secure. It is not necessary to remove the fan from the ceiling.
- Clean your fan periodically to help maintain its new appearance over the years. Do not use water when cleaning, as this could damage the motor, or the wood, or possibly cause an electrical shock. Use only a soft brush or lint-free cloth to avoid scratching the finish. The plating is sealed with a lacquer to minimize discoloration or tarnishing.
- You can apply a light coat of furniture polish to the wood for additional protection and enhanced beauty. Cover small scratches with a light application of shoe polish.
- You do not need to oil your fan. The motor has permanently-lubricated sealed ball bearings.
TROUBLESHOOTING
| Problem | Solution |
| The fan will not start. |
|
| The fan is noisy. |
|
| The fan wobbles. | Please check and follow the instructions: Chapitre No.12 Fan balance on page 10. |


















