HOME DECORATORS COLLECTION 60-AUN Greenhaven 60-Inch Ceiling Fan

Safety Information
READ AND SAVE THESE INSTRUCTIONS.
- To reduce the risk of electric shock, ensure the electricity has been turned off at the circuit breaker or fuse box before you begin.
- All wiring must be in accordance with the National Electrical Code ANSI/NFPA 70 and local electrical codes. Electrical installation should be performed by a qualified licensed electrician.
- The outlet box and support structure must be securely mounted and capable of reliably supporting a minimum of 35 lb (15.9 kg). Use only UL Listed outlet boxes marked “Acceptable for Fan Support of 35 lb (15.9 kg) or less.”
- The fan must be mounted with a minimum of 7 ft. (2.1 m) of clearance from the trailing edge of the blades to the floor.
- Do not place objects in the path of the blades.
- To avoid personal injury or damage to the fan and other items, use caution when working around or cleaning the fan.
- After making electrical connections, spliced conductors should be turned upward and pushed carefully up into the outlet box. The wires should be spread apart with the grounded conductor and the equipment-grounding conductor on one side of the outlet box.
- All set screws must be checked and retightened where necessary before installation.
- WARNING: To reduce the risk of personal injury, do not bend the blade brackets (also referred to as flanges) during assembly or after installation. Do not insert objects in the path of the blades.
- WARNING: To avoid possible electrical shock, turn the electricity off at the main fuse box before wiring. If you feel you do not have enough electrical wiring knowledge or experience, contact a licensed electrician.
- WARNING: To reduce the risk of fire, electric shock or personal injury, mount to outlet box marked
“Acceptable for fan support of 35 lb (15.9 kg) or less”, and use screws provided with the outlet box. - WARNING: Electrical diagrams are for reference only. If you are using a light kit, refer to the light kit instructions manual to make the electrical connections. Optional use of any light kit shall be UL Listed and marked suitable for use with this fan.
- WARNING: To reduce the risk of fire or electric shock, this fan should only be used with fan speed control part no. JY1156H-LD-EL-F1, manufactured by Satellite Industrial Co., Ltd.
- WARNING: To reduce the risk of electric shock, this fan must be installed with an isolating wall switch.
- CAUTION: To reduce the risk of personal injury, use only the screws provided with the outlet box.
Warranty
The supplier warrants the fan motor to be free from defects in workmanship and material present at time of shipment from the factory for a lifetime after the date of purchase by the original purchaser. The supplier warrants that the light kit, excluding any glass, to be free from defects in workmanship and material at the time of shipment from the factory for a period of five years after the date of purchase by the original purchaser. The supplier also warrants that all other fan parts, excluding any glass or acrylic blades, to be free from defects in workmanship and material at the time of shipment from the factory for a period of two years after the date of purchase by the original purchaser. We agree to correct such defects without charge or at our option replace with a comparable or superior model if the product is returned. To obtain warranty service, you must present a copy of the receipt as proof of purchase. All costs of removing and reinstalling the product are your responsibility. Damage to any part, such as by accident, misuse, improper installation, or by affixing any accessories, is not covered by this warranty. Because of varying climatic conditions this warranty does not cover any changes in brass finish, including rusting, pitting, corroding, tarnishing, or peeling. Brass finishes of this type give their longest useful life when protected from varying weather conditions. A certain amount of “wobble” is normal and should not be considered a defect. Servicing performed by unauthorized persons shall render the warranty invalid. There is no other express warranty. Home Decorators Collection hereby disclaims any and all warranties, including but not limited to those of merchantability and fitness for a particular purpose to the extent permitted by law. The duration of any implied warranty which cannot be disclaimed is limited to the time period as specified in the express warranty. Some states do not allow a limitation on how long an implied warranty lasts, so the above limitation may not apply to you. The retailer shall not be liable for incidental, consequential, or special damages arising out of or in connection with product use or performance except as may otherwise be accorded by law. Some states do not allow the exclusion of incidental or consequential damages, so the above exclusion or limitation may not apply to you. This warranty gives specific legal rights, and you may also have other rights which vary from state to state. This warranty supersedes all prior warranties. Shipping costs for any return of product as part of a claim on the warranty must be paid by the customer.
Contact the Customer Service Team at 1-877-592-5233 or visit www.HomeDepot.com/hubspace.
Pre-Installation
SPECIFICATIONS
| Size | Speed | Volts | Fan Power Consumption (without lights) WATT | Airflow CFM | Airflow Efficiency (higher is better) CFM/WATT | Net Weight | Gross Weight | Cubic Feet |
| 60 in. | Low | 120 | X | XXXX | XXX | XX.XX lb (X.XX kg) | XX.XX lb (X.XX kg) | 2.19 cu. ft. |
| Medium | XX | XXXX | XXX | |||||
| High | XX | XXXX | XXX |
NOTE: These are approximate measures. They do not include the amps and wattage used by the light kit.
TOOLS REQUIRED
HARDWARE INCLUDED
NOTE: Hardware not shown to actual size.
| Part | Description | Quantity |
| AA | Blade attachment screws | 16 |
| BB | Plastic wire connecting nut | 3 |
| CC | Hanger pin | 1 |
| DD | Locking pin | 1 |
| EE | Extra blade bracket screw | 1 |
PACKAGE CONTENTS
| Part | Description | Quantity |
| A | Slide-on mounting bracket (inside canopy) | 1 |
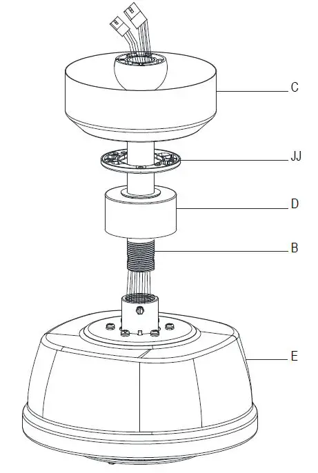
| B | Canopy | 1 |
| C | Ball/downrod assembly | 1 |
| D | Decorative motor collar cover | 1 |
| E | Fan motor assembly | 1 |
| F | Blade bracket | 5 |
| G | Blade | 5 |
| Part | Description | Quantity |
| H | Light kit pan | 1 |
| I | Light kit fitter assembly | 1 |
| J | Glass shade | 1 |
| K | Receiver | 1 |
| L | Remote control | 1 |
| M | Battery | 2 |
| N | 3-pin extension wire (66 in.) | 1 |
| O | 2-pin extension wire (66 in.) | 1 |
IMPORTANT: This product and/or components are governed by one or more of the following U.S. Patents: 5,947,436; 5,988,580; 6,010,110; 6,046,416; 6,210,117 and other patents pending.
Installation
MOUNTING OPTIONS
WARNING: To reduce the risk of fire, electric shock or personal injury, mount to an outlet box marked “Acceptable for fan support of 35 lb (15.9 kg) or less”, and use screws provided with the outlet box. An outlet box commonly used for the support of lighting fixtures may not be acceptable for fan support and may need to be replaced. If in doubt, consult a qualified electrician.
If your ceiling fan does not have an existing UL Listed mounting box, then install one using the following instructions:
- Disconnect the power by removing the fuses or turning off the circuit breakers.
- Secure the outlet box directly to the building structure. Use the appropriate fasteners and materials. The outlet box and support structure must be securely mounted and capable of reliably supporting a minimum of 35 lb (15.9 kg). Use only UL Listed outlet boxes marked “Acceptable for fan support of 35 lb (15.9 kg) or less.” Do not use a plastic outlet box.
The illustrations below show three different ways to mount the outlet box.
NOTE: You may need a longer downrod to maintain proper blade clearance when installing on a steep, sloped ceiling. The maximum angle allowable is 15° away from horizontal.
If the canopy (C) touches the ball/downrod assembly (B), then remove the decorative motor collar cover (D), and turn the canopy (C) 180° before attaching the canopy (C) to the mounting plate.
To hang your fan where there is an existing fixture but no ceiling joist, you may need an installation hanger bar as shown above
(available at any Home Depot store).
Assembly – Standard Ceiling Mount
- Preparing for mounting
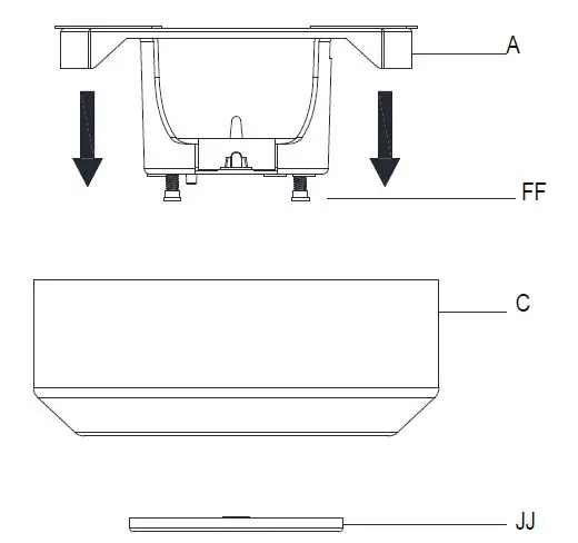
NOTE: The magnet is pre-attached on the canopy bottom cover for you to remove and install easily.- Remove the magnetic canopy bottom cover (JJ) from the canopy (C) by pulling it off.
- Loosen the two canopy screws (FF) located in the bottom of the mounting bracket (A).
- Turn the mounting bracket (A) counterclockwise and lift it up to remove the mounting bracket from the canopy (C).

- Routing the wires
NOTE: The fan comes with 12 in. lead wires for use with the provided 6 in. ball downrod assembly (B). If you wish to use a longer downrod, attach the 3-pin extension wire (L) and 2-pin extension wire (M) to the fan by connecting the molded adaptor plugs from the extension wires to the 3-pin and 2-pin adaptor plugs from the fan.- Route the wires exiting the top of the fan motor assembly (E) through the decorative motor collar cover (D) and then the center of the canopy bottom cover (JJ).
- Make sure the opening of canopy (C) is on top and insert the ball/downrod (B) through the canopy (C).
- Route the wires exiting the top of the fan motor assembly (E) through the downrod as shown.

- Assembling the fan
CAUTION: To ensure wobble-free operation and to avoid damage to the fan, the downrod (B) and the setscrew (KK) must be completely tightened.
WARNING: Failure to properly install the locking pin (DD) could result in the fan becoming loose and possibly falling.- Loosen, but do not remove, the setscrew (KK) on the collar (PP) on top of the fan motor assembly (E).
- Install the ball/downrod assembly (B) by inserting it into the motor collar (PP), and turning it clockwise until the holes at the bottom of the ball/downrod assembly (B) align with the holes in the collar on top of the fan motor assembly (E).
- Carefully insert the hanger pin (CC) through the holes in the collar and ball/downrod assembly (B). Be careful not to jam the hanger pin (CC) against the wiring inside the ball/downrod assembly (B).
- Insert the locking pin (DD) through the hole near the end of the hanger pin (CC) until it snaps into its locked position.
- Re-tighten the setscrew (KK) on the collar (PP) on top of the fan motor assembly (E).

Assembly – Hanging the Fan
- Attaching the fan to the electrical box
WARNING: To reduce the risk of fire, electric shock or personal injury, mount to an outlet box marked “Acceptable for fan support of 35 lb (15.9 kg) or less”, and use screws provided with the outlet box.
NOTE: The mounting bracket (A) is designed to slide into place on an outlet box with the outlet box screws (GG) installed.- Loosen the two mounting screws (GG) in the outlet box.
- Pass the 120-Volt supply wires through the center hole in the mounting bracket (A).
- Slide the mounting bracket (A) on to the mounting screws (GG) and center the mounting bracket (A) in relation to the outlet box. If necessary, use leveling washers (not included) between the slide-on mounting bracket (A) and the outlet box. The flat side of the slide-on mounting bracket (A) should face toward the outlet box, as shown.
- Securely tighten the two mounting screws (GG).

- Hanging the fan
- Carefully lift the fan motor assembly (E) up to the slide-on mounting bracket (A).
- Insert the ball portion of the ball/downrod assembly (B) into the socket of the slide-on mounting bracket (A).
- Turn the ball/downrod assembly (B) clockwise until it is seated with the tab of the slide-on mounting bracket (A) aligned with the slot in the ball.
- Preparing the remote control
NOTE: The remote control has already been paired to the ceiling fan for your convenience. If you have two of the same model fans in your home, please follow the steps below to control each fan independently.
NOTE: The remote control battery will weaken with age and should be replaced before leaking takes place, as this will damage the remote control. Dispose of used battery properly and keep the battery out of the reach of children.
NOTE: The switch marked “D/O” controls the dimming function of the lights. If you wish to use the dimming functionality or Hubspace app, keep the switch in the “D” position. To disable the dimming function, set the switch to the “O” position.- Confirm that the power to the fan is off at either the wall switch or breaker box.
- Remove the battery cover by pressing firmly on the arrow and sliding the cover off.
- Install two 1.5V AAA batteries (M).
- Return power to the fan at the wall switch or breaker box.
- If the remote control doesn’t work as normal, press then release the “Learn” button for 1-2 seconds (located in the remote’s battery compartment) within 30 seconds of turning on the power.
- If pairing is successful, the fan’s light kit will flash and the blades will begin to spin.
- Replace the battery cover on the remote control.
1 to 3 mode - To use more than one remote control for your fan, press the “Learn” button for 10 seconds and release within 30 seconds of turning on the power. Once pairing is successful, the fan’s light kit will flash and the blades will begin to spin.
- Repeat the above process for the remote controls you want to work with this fan.
- The fan can be only controlled by 3 remote controls maximum at the same time after “Learning”. If you use a fourth remote control to handle the fan, the first remote control will be replaced.
1 to 1 mode - To use only one remote control for your fan, press and release the “Learn” button for 1-2 seconds within 30 seconds of turning on the power. The “1 to 3” mode will be cleared and returned back to “1 to 1” mode.

- Installing the receiver
WARNING: To reduce the risk of fire or electric shock, remember to disconnect power. The electrical wiring must meet all local and national electrical code requirements. The electrical source and fan must be 110/120 volts, 60Hz. Do not use this product in conjunction with any variable wall control. Incorrect wire connection can damage this receiver.
CAUTION: If other fan wires are a different color, have this unit installed by a licensed electrician.- Position the house supply wires (AAA) to one side of the slide-on mounting bracket (A). Position the fan wires to the opposite side.
- Insert the narrow end of the receiver (K) (as shown, flat side towards the ceiling) into the slide-on mounting bracket (A) until it rests on top of the ball/downrod assembly (B).

- Wiring the receiver to the household wiring
WARNING: To avoid possible electrical shock, turn the electricity off at the main fuse box before wiring. If you feel you do not have enough electrical wiring knowledge or experience, contact a licensed electrician.
WARNING: Each wire nut supplied with this fan is designed to accept up to one 12-gauge house wire and two wires from the fan. If you have larger than 12-gauge house wiring or more than one house wire to connect to the fan wiring, consult an electrician for the proper size wire nuts to use.
IMPORTANT: Use the wire connecting nuts (BB) supplied with your fan. Secure the connectors with electrical tape and ensure there are no loose strands or connections.- Spread the wires apart so that the green and white wires are on one side of the outlet box and the black wire is on the other side.
- Connect the green fan wires to the household ground wire (this may be a green or bare wire) using a wire connecting nut (BB).
- Connect the receiver (K) black (or red) wire to the household black (hot) wire using a wire connecting nut (BB).
- Connect the receiver (K) white wire to the household white wire (neutral) using a wire connecting nut (BB).

- Secure each wire connecting nut using electrical tape.
- Wiring the fan to the receiver
NOTE: The fan comes with 12 in. lead wires for use with the provided 6 in. ball/downrod assembly (B). If you wish to use a longer downrod, attach the 3-pin extension wire (L) and 2-pin extension wire (M) to the fan by connecting the molded adaptor plugs from the extension wires to the 3-pin and 2-pin adaptor plugs from the fan.- If using the 6 in. ball downrod assembly (B) provided, wire the receiver to the fan wires by connecting the molded adaptor plug from the receiver (K) with the molded adaptor of the fan motor assembly (E) together.
- If you wish to use longer downrod, you can use the extension lead wire (66 in.) (O) and (N) provided by connecting the molded adaptor together.

- Mounting the fan motor assembly (standard mount)
WARNING: When using the standard ball/downrod mounting, the tab in the ring at the bottom of the mounting bracket must rest in the groove of the hanger ball. Failure to properly seat the tab in the groove could cause damage to the wiring.
NOTE: The magnet is pre-attached on the canopy bottom cover for you to remove and install easily.
NOTE: For better performance with the Wi-Fi system, the Wi-Fi antenna must be mounted to the ceiling outside of the fan’s ceiling canopy.- Align the locking slots of the canopy (C) with the two screws (FF) and alignment post (QQ) in the mounting bracket (A).
- Push up the canopy (C) and turn it clockwise until the alignment post (QQ) engages to the round hole and the screws (FF) engage to the key slots.
- Firmly tighten the two mounting screws (FF).
- Align the oval shape on the canopy (C) with canopy bottom cover (JJ).
- Push up the canopy bottom cover (JJ) until the screw (FF) heads engage to the slots on the canopy bottom cover (JJ) so that the magnetic canopy bottom cover (JJ) can be attached to the bottom of the canopy (C) properly.

Assembly – Attaching the Fan Blades
- Attaching the fan blades to the blade brackets
NOTE: Your fan blades are reversible. Select the blade side finish which best accentuates your decor.- Attach a blade (G) to blade bracket (F) by inserting the screws (AA) into the holes in the blade (G) and through the blade bracket (F).
- Tighten each screw securely.
- Repeat this step for each blade and blade bracket.

- Fastening the blade assemblies to the motor
- Fasten the blade/blade bracket assembly to the fan motor assembly (E) by inserting the alignment posts into the slot on the bottom of the motor and tightening the pre-installed blade bracket screws (EE).
- Repeat this steps for the remaining blades.

Assembly – Attaching the Light Kit
- Installing the light kit pan
- Remove one screw (GG) from the black bracket below the fan motor assembly (E), and loosen but do not remove the other two screws.
- Push the light kit pan (H) up to the fan motor assembly (E) so that the two loosened screw heads fit into the keyhole slots. Turn the light kit pan (H) clockwise.
- Re-install the screw (GG) that was removed in the first step.
- Make sure all the screws are firmly tightened.

- Attaching the light kit fitter assembly
- Remove one screw (TT) from the light kit pan (H), and loosen, but do not remove, the other two screws.
- Connect the wires from the light kit fitter assembly (I) to the wires from the fan motor assembly (E) by connecting the molded adaptor plugs together. Carefully tuck all wires and splices into the switch cup.
- Push the light kit fitter assembly (I) up to the light kit pan (H) so that the two loosened screw heads fit into the keyhole slots. Turn the light kit fitter assembly (I) clockwise to secure.
- Re-install the screw that was removed in the first step.
- Make sure all the screws are firmly tightened.
- Installing the glass shade
WARNING: Do not overtighten when installing the glass shade into the light kit. Allow the glass shade to cool completely before removing.- Place the glass shade (J) into the light kit pan (H), aligning the three flat areas on the top of the flange of the glass shade (J) with the three raised dimples in the light kit pan (H). Turn the shade clockwise until it stops.

- Place the glass shade (J) into the light kit pan (H), aligning the three flat areas on the top of the flange of the glass shade (J) with the three raised dimples in the light kit pan (H). Turn the shade clockwise until it stops.
Assembly – Attaching the Accessories
Mounting the remote control holder
NOTE: Screw wall anchors are included for extra support. The included screws are designed to screw easily into the wall. If you would like a more permanent or secure hold, install the wall anchors prior to attaching the wall cradle to the wall.
- Slide the screw cover plate up to remove it from the wall cradle.
- Position the wall cradle in the desired position and attach it to the wall using the included wall cradle screws.
- Slide the screw cover plate back onto the wall cradle to conceal the screws.

Operating Your Fan and Remote Control
POWER ON/OFF
Press and release the power button to turn the fan and light on or off.
NOTE: On start up your ceiling fan will oscillate back and forth. This is NORMAL OPERATION for DC ceiling fans as it goes through its calibration cycle. The fan is NOT DEFECTIVE.
NOTE: The remote receiver includes a memory function that will return the fan to its last setting when turned on via the power button.
FAN SPEED
LEDs on the fan speed button will illuminate to the corresponding speed. Press and release 1 time: turns the fan speed to 5.
- Press and release 2 times: turns the fan speed to 4.
- Press and release 3 times: turns the fan speed to 3.
- Press and release 4 times: turns the fan speed to 2.
- Press and release 5 times: turns the fan speed to 1.
- Press and release 6 times: turns the fan off.
LIGHT ON/OFF/DIMMING
- Press and release the button to turn the light on or off.
- Press and hold the button to activate the dimmer function.

CORRELATED COLOR TEMPERATURE (CCT) CHANGING
NOTE: The default temperature of the ceiling fan light is 3000k (Soft White).
Push and release the button to cycle through the six color temperature options.
- Option 1: 2700K (Warm White).
- Option 2: 3000K (Soft White).
- Option 3: 3500K (Neutral White).
- Option 4: 4000/4100K (Cool White).
- Option 5: 5000K (Daylight).
- Option 6: 6500K (Daylight Deluxe).
FAN REVERSE
Press and release the fan reverse button to reverse the rotation of your ceiling fan.
NOTE: Do not wait for the fan to stop before pressing the reverse button. The fan will not reverse direction if the fan is not moving.
Warm weather (Forward) – A downward airflow creates a cooling effect. This allows you to set your air conditioner on a higher setting without affecting your comfort.
Cool weather (Reverse) – An upward airflow moves warm air off of the ceiling. This allows you to set your heating unit on a lower setting without affecting your comfort.
Application Set-Up
NOTE: For more information on smart remote set up, please refer to the quick start guide located in the remote pack.
NOTE: To use Alexa to change the color temperature of the light, please make sure the light is turned on first.
- Getting started
- Download the Hubspace™ app from the App Store or the Google Play Store to your mobile device.
- Launch the app.
- To register, enter your email address and a password. Or, login if you already have an account.
- Bluetooth access is required for device setup.
- Verify your network
- Hubspace only shows Wi-Fi networks that your device can use. Check your network only if an option does not appear during set up.
- This Hubspace device requires a 2.4GHz Wi-Fi channel.
- Most routers provide a 2.4 GHz Wi-Fi channel.
- If you do not see your Wi-Fi network name when you attempt to connect your device, please check your router settings.
- Add a device
- In the Hubspace app, tap the plus sign in the upper right corner.
- Scan your product’s QR code. You can find the QR code on the remote receiver, inside the battery compartment cover of the remote, and on the Quick Start Guide paper included with the fan.
Scan problem?
If the QR code cannot be scanned for some reason, you can enter the code manually. Tap Enter Code and follow the instructions. - Connect your device to power and follow the instructions on screen.

(For lighting and fan products only)
If you are unable to access the QR code for your light, you can put it into discovery mode with the following sequence: - Switch the device off and on 5 times. The light will pulse to show that it can now be discovered.
- In the Hubspace app, tap the plus sign in the upper right corner and follow the instructions to discover devices. More than one device can be added at a time using this method.
- Set up your voice assistant
- In the Hubspace app, tap the Hubspace button.
- Select the Integrations tab, choose your voice assistant and follow the instructions.
Voice Commands
The Greenhaven 60 in. LED Indoor Smart Color Changing Ceiling Fan works with Alexa and Google Assistant.
This section lists some of the voice commands you can use. To view these and other commands, go to http://hubspaceconnect.com/.
Alexa
| When you want to… | Ask Alexa to… |
| Turn on the fan only. | … turn on <device name> fan power. |
| Turn off the fan only. | … turn off <device name> fan power. |
| Turn on the light only. | … turn on <device name> light power. |
| Turn off the light only. | … turn off <device name> light power. |
| Change the brightness. | … Set <device name> brightness to 75%. … Set <device name> light to 25%. … Make <device name> dimmer. … Make <device name> brighter. … Dim <device name>. … Brighten <device name>. … Dim <group name>. … Brighten <group name>. |
| Change the color temperature. | … Change <device name> to Cool White. … Change <device name> to Warm White. … Change <device name> to Daylight White. … Change <device name> to White. |
| Change the fan speed. | … Set <device name> speed to fastest. … Set <device name> speed to fast. … Set <device name> speed to medium. … Set <device name> speed to slow. … Increase <device name> speed. … Decrease <device name> speed. |
| Turn on Comfort Breeze. | … Turn on Comfort Breeze on <device name>. |
| When you want to… | Ask Google to… |
| Turn on the fan only. | … turn on <device name> fan power. |
| Turn off the fan only. | … turn off <device name> fan power. |
| Turn on the light only. | … turn on <device name> light power. |
| Turn off the light only. | … turn off <device name> light power. |
| Change the brightness. | … Set <device name> brightness to 75%. … Set <device name> light to 25%. … Brighten <device name>. … Dim <device name>. … Brighten <room name>. … Dim <room name>. |
| Change the color temperature. | … Change <device name> to Ivory. … Change <device name> to Daylight. … Change <device name> to Cool White. … Change <device name> to Warm White. … Change <device name> to Incandescent. |
| Change the fan speed. | … Set <device name> speed to fastest. … Set <device name> speed to fast. … Set <device name> speed to medium. … Set <device name> speed to slow. … Increase <device name> speed. … Decrease <device name> speed. |
| Turn on Comfort Breeze. | … Turn on Comfort Breeze on <device name>. |
Care and Cleaning
WARNING: Make sure the power is off before cleaning your fan.
- Because of the fan’s natural movement, some connections may become loose. Check the support connections, brackets, and blade attachments twice a year. Make sure they are secure. It is not necessary to remove the fan from the ceiling.
- Clean your fan periodically to help maintain its new appearance over the years. Do not use water when cleaning, as this could damage the motor, or the wood, or possibly cause an electrical shock. Use only a soft brush or lint-free cloth to avoid scratching the finish.
- You can apply a light coat of furniture polish to the wood for additional protection and enhanced beauty. Cover small scratches with a light application of shoe polish.
- You do not need to oil your fan. The motor has permanently-lubricated sealed ball bearings.
Troubleshooting
| Problem | Solution |
| The fan will not start. | □ Check the main and branch circuit fuses or breakers. □ Check to make sure the wall switch is in the on position if applicable. □ Check the line wire connections to the fan and switch wire connections in the switch housing. □ Check the battery in the transmitter. □ Ensure you are in the normal range of 10-20 feet. □ Ensure the dip switch settings are the same on the transmitter and receiver. □ Remember to turn off the power supply before checking the dip switches settings. |
| The fan is noisy. | □ Ensure all motor housing screws are snug. □ Ensure the screws that attach the fan blade bracket to the motor hub are tight. □ Ensure the wire nut connections are not rattling against each other or the interior wall of the switch housing. □ Allow a 24-hour “breaking in” period. Most noises associated with a new fan disappear during this time. □ If you are using the Ceiling Fan light kit, ensure the screws securing the glassware are tight. Check that the light bulbs are also secure. □ Ensure the canopy is a short distance from the ceiling. It should not touch the ceiling. □ Ensure your outlet box is secure and rubber isolator pads were used between the mounting plate and outlet box. |
| The fan wobbles. | □ Check that all blade and blade arm screws are secure. □ Most fan wobble problems are caused when blade levels are unequal. Check this level by selecting a point on the ceiling above the tip of one of the blades. Measure from a point on the center of each blade to the point on the ceiling. Rotate the fan until the next blade is positioned for measurement. Repeat for each blade. Any measurement deviation should be within 1/8 inch. Run the fan for ten minutes. If the fan continues to wobble please contact customer service and a balancing kit will be sent to you at no charge. |
| The fan moves backwards and forwards when turned on. | □ This is normal start-up procedure for DC motor fans. The partial movement during start-up is the result of the DC motor aligning the internal magnetic poles for proper motor operation. This design saves electricity and allows the fan to operate much quieter than standard AC motor fans. |
| HubspaceTM Troubleshooting | |
| My hubspace device is not connecting to Wi-Fi. | □ Make sure your device is connected to a power source. □ Your Internet connection or Wi-Fi network may be down. |
| My device cannot find any Wi-Fi networks. | □ Make sure you have a 2.4GHz capable Wi-Fi network within range of the device you are trying to add. |
| My device is in a location that does not have Wi-Fi. Can I still use it with the Hubspace app? | Yes: □ Use the app on a phone with an Internet connection like LTE. □ The phone must be within Bluetooth range of your Hubspace device. |
| I cannot find the QR code. | □ Look for it where other stickers are on the product. A copy of the QR code is also included in your device’s documentation. |
| The QR code has become damaged. How do I add the device? | □ Under the QR code are numbers. You can enter those in manually instead of scanning the code. |
| How do I reset the device? | □ Remove the device from your account, then add it back. Devices also reset when they transfer to a new account. |
| A device is on another account. How do I transfer it? | □ Scan the QR code and it will transfer to your account. |
| My device is offline for long periods of time. | □ Make sure your Wi-Fi signal strength is sufficient. You may need to move your router, use mesh Wi-Fi, or Wi-Fi extenders. |
| The device is on and I scanned the QR code, but the app cannot connect to it. | □ Turn off Bluetooth on your phone and turn it back on. Then, scan the QR code. |
| Can I scan the same QR code to add multiple products? | □ No. Each product has a unique QR code. |
Questions, problems, missing parts? Before returning to the store,
call Hubspace Customer Service
8 a.m. – 7 p.m., EST, Monday-Friday, 9 a.m. – 6 p.m., EST, Saturday
1-877-592-5233
HOMEDEPOT.COM/HUBSPACE
Retain this manual for future use.
FCC Statement
This equipment has been tested and found to comply with the limits for a Class B digital device, pursuant to Part 15 of the FCC Rules. These limits are designed to provide reasonable protection against harmful interference in a residential installation. This equipment generates, uses and can radiate radio frequency energy and, if not installed and used in accordance with the instructions, may cause harmful interference to radio communications. However, there is no guarantee that interference will not occur in a particular installation. If this equipment does cause harmful interference to radio or television reception, which can be determined by turning the equipment off and on, the user is encouraged to try to correct the interference by one or more of the following measures:
- Reorient or relocate the receiving antenna.
- Increase the separation between the equipment and receiver.
- Connect the equipment into an outlet on a circuit different from that to which the receiver is connected.
- Consult the dealer or an experienced radio/TV technician for help.
CAUTION:
Any changes or modifications not expressly approved by the grantee of this device could void the user’s authority to operate the equipment.
This device complies with Part 15 of the FCC Rules. Operation is subject to the following two conditions:
- This device may not cause harmful interference
- this device must accept any interference received, including interference that may cause undesired operation


































