HOME DECORATORS COLLECTION 52111 Everaine 52-Inch Ceiling Fan User Guide
Safety Information
READ AND SAVE THESE INSTRUCTIONS.
- been turned off at the circuit breaker or fuse box before you begin.
- All wiring must be in accordance with the National Electrical Code ANSI/NFPA 70 and local electrical codes. Electrical installation should be performed by a qualified licensed electrician.
- The outlet box and support structure must be securely mounted and capable of reliably supporting 35 lbs. (15.9 kg). Use only UL Listed outlet boxes marked “Acceptable for Fan Support of 35 lbs. (15.9 kg) or less”.
- CAUTION: The fan must be mounted with a minimum of 7 ft (2.1 m) clearance from the trailing edge of the blades to the floor.
- Do not operate the reversing switch while the fan blades are in motion. You must turn the fan off and stop the blades before you reverse the blade direction.
- Do not place objects in the path of the blades.
- To avoid personal injury or damage to the fan and other items, use caution when working around or cleaning the fan.
- Electrical diagrams are for reference only. Light kits that are not packed with the fan must be UL-listed and marked suitable for use with the model fan you are installing. Switches must be UL General Use Switches. Refer to the instructions packaged with the light kits and switches for proper assembly.
- After making electrical connections, spliced conductors should be turned upward and pushed carefully up into the outlet box. The wires should be spread apart with the grounded conductor and the equipment-grounding conductor on one side of the outlet box.
- All setscrews must be checked and retightened where necessary before installation.
WARNING: To reduce the risk of personal injury, do not bend the blade brackets (also referred to as flanges) during assembly or after installation. Do not insert objects in the path of the blades.
WARNING: To avoid possible electrical shock, turn the electricity off at the main fuse box before wiring. If you feel you do not have enough electrical wiring knowledge or experience, contact a licensed electrician.
WARNING: Electrical diagrams are for reference only. Optional use of any light kit shall be UL-listed and marked suitable for use with this fan.
WARNING: To reduce the risk of fire or electric shock, “this fan should only be used with fan speed control part no. DP-51R, manufactured by DAWNSUN ELECTRONIC TECHNOLOGY CO LTD ZHONGSHAN.
WARNING: To reduce the risk of electric shock, this fan must be installed with an isolating wall switch.
CAUTION: To reduce the risk of personal injury, use only the screws provided with the outlet box.
CAUTION: Changes or modifications not expressly approved by the party responsible for compliance could void the user’s authority to operate the equipment.
CAUTION: Do NOT use this fan with a dimmer switch or wall control. Using a dimmer switch or wall control will damage the fan.
Pre-Installation
SPECIFICATIONS
| Size | Speed | Volts | Amps | Watts | RPM | CFM | Net Weight | Gross Weight | Cubic Feet |
| 52 in. | Low | 120 | 0.09 | 4 | 60 | 2394 | 11.79 lbs (5.35 kg) | 17.81 lbs (8.08 kg) | 2.0 cu.ft. |
| Medium | 0.17 | 10 | 116 | 3957 | |||||
| High | 0.40 | 25 | 170 | 5367 |
NOTE: These are approximate measures. They do not include the Amps and Wattage used by the light kit.
TOOLS REQUIRED
- Phillips screwdriver

- Flat blade screwdriver

- Adjustable wrench

- Electrical tape

- Wire cutter

- Step ladder

HARDWARE INCLUDED

| Part | Description | Quantity |
| AA | Blade attachment screws | 7 |
| BB | Plastic wire connector | 3 |
| CC | Attachment screws for light kit pan | 4 |
NOTE: Hardware not shown to actual size.
PACKAGE CONTENTS

| Part | Description | Quantity |
| A | Slide-on mounting bracket (inside canopy) | 1 |
| B | Ball/down rod assembly | 1 |
| C | Canopy | 1 |
| D | Decorative motor collar cover | 1 |
| E | Fan-motor assembly | 1 |
| F | Blade | 3 |
| G | Light kit pan | 1 |
| H | Light kit fitter assembly | 1 |
| I | Shatter resistant bowl | 1 |
| J | Receiver | 1 |
| K | Remote control | 1 |
| L | 3-pin extension wire | 1 |
| M | 2-pin extension wire | 1 |
| N | Battery | 1 |
IMPORTANT: This product and/or components are governed by one or more of the following U.S. Patents: 5,947,436; 5,988,580; 6,010,110; 6,046,416, 6,210,117 and other patents pending.
Installation
MOUNTING OPTIONS
WARNING: To reduce the risk of fire, electric shock, or personal injury, mount the fan to an outlet box marked “Acceptable for fan support of 35 lbs. (15.9kg) or less” and use the screws provided with the outlet box. An outlet box commonly used for the
support of lighting fixtures may not be acceptable for fan support and may need to be replaced. If in doubt, consult a qualified electrician.
If your ceiling fan does not have an existing UL-listed mounting box, then install one using the following instructions:
- Disconnect the power by removing the fuses or turning off the circuit breakers.
- Secure the outlet box directly to the building structure. Use the appropriate fasteners and materials. The outlet box and its bracing must be able to fully support the weight of the moving fan (at least 35 lbs.). Do not use a plastic outlet box.
The illustrations below show three different ways to mount the outlet box.
NOTE: You may need a longer down rod to maintain proper blade clearance when installing on a steep, sloped ceiling. The maximum angle allowable is 30° away from horizontal.
If the canopy (C) touches the ball/down rod assembly (B), then remove the decorative canopy bottom cover and turn the canopy (C) 180° before attaching the canopy (C) to the mounting plate.
To hang your fan where there is an existing fixture but no ceiling joist, you may need an installation hanger bar as shown above (available at any Home Depot store).
Assembly – Standard Ceiling Mount
Preparation for standard mounting
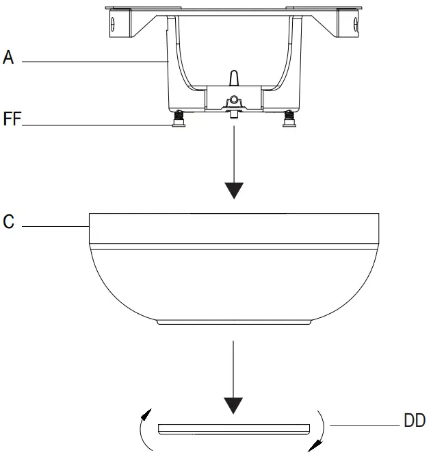
- Remove the canopy bottom cover (DD) from the canopy (C) by turning the bottom cover counterclockwise until it unlocks.
- Loosen the two canopy screws (FF) located in the bottom of the mounting bracket (A), and turn the canopy counterclockwise to remove the mounting bracket (A) from canopy (C).

Routing the wires
- Route the wires exiting the top of the fan motor assembly (E) through the decorative motor collar cover (D) and then the center of the canopy bottom cover (DD).
- Make sure the opening of canopy (C) is on top and insert the ball/down rod (B) through the canopy (C).
- Route the wires exiting the top of the fan motor assembly (E) through the down rod as shown.

Assembling the fan
CAUTION: To ensure wobble-free operation and to avoid damage to the fan, the down rod (B) and the setscrew (EE) must be completely tightened.
NOTE: This fan is equipped with a safety tab (GG). Should the setscrew (EE) ever become loose while the fan is running in reverse, the safety tab (GG) will engage and stop the fan from falling.
- Loosen, but do not remove, the setscrew (EE) on the collar (II) on top of the fan-motor assembly (E).
- Install the down rod (B) by inserting it into the motor collar (II), and turning it clockwise until it is tight.
- Re-tighten the setscrew (EE) on the collar (II) on top of the fan motor assembly (E).

Assembly – Hanging the Fan
Attaching the fan to the electrical box
WARNING: To reduce the risk of fire, electric shock, or other personal injury, mount the fan to an outlet box or supporting system marked “Acceptable for fan support of 35 lbs. (15.9kg) or less” and use the mounting screws provided with the outlet box.
NOTE: The mounting bracket (A) is designed to slide into place on an outlet box with the outlet box screws (HH).
- Pass the 120-Volt supply wires through the center hole in the slide-on mounting bracket (A).
- Install the ceiling slide-on mounting bracket (A) on the outlet box by sliding the slide-on mounting bracket (A) over the two screws (HH) provided with the outlet box. If necessary, use leveling washers (not included) between the slide-on mounting bracket (A) and the outlet box. Note that the flat side of the slide-on mounting bracket (A) is toward the outlet box.
- Securely tighten the two mounting screws (HH).

Hanging the fan
- Carefully lift the fan-motor assembly (E) up to the slide-on mounting bracket (A).
- Seat the hanger ball portion of the ball/down rod assembly (B) in the mounting bracket socket. Ensure that the tab on the slide-on mounting bracket (A) socket is properly seated in the groove in the hanger ball.

Setting the code on the remote control and receiver
NOTE: The frequencies on your receiver and hand unit have been preset at the factory. Before installing the receiver, make sure the dip switches on the receiver and hand unit are set to the same frequency. The dip switches on the hand unit are located inside the battery compartment.
NOTE: The switch marked “O/D” controls the dimming function of the lights. Use a ballpoint pen or small screwdriver to set the switch to “O” to disable the dimming
function. Set the switch to “D” to enable the dimming function.
NOTE: The battery will weaken with age and should be replaced before leaking takes place as this will damage the hand unit. Dispose of used battery properly and keep the battery out of the reach of children.
- Remove the remote control (K) battery cover by pressing firmly on the arrow and sliding the cover off.
- Slide the dip switches (ZZ) to your choice of either up or down. The factory setting is up.
- Slide the dip switches (ZZ) on the receiver (J) to the same position as set on the remote control (K).
- Install two 1.5V AAA batteries (included).
- Replace the battery cover on the remote control (K).
- Insert the silicone rubber stopper (OO) into the hole on the receiver (J) to cover the dip switches

Installing the receiver
WARNING: To reduce the risk of fire or electric shock, remember to disconnect power. The electrical wiring must meet all local and national electrical code requirements. The electrical source and fan must be 110/120 volt, 60Hz. Do not use this product in conjunction with any variable wall control. Incorrect wire connection can damage this receiver.
CAUTION: If other fan wires are a different color, have this unit installed by a licensed electrician.
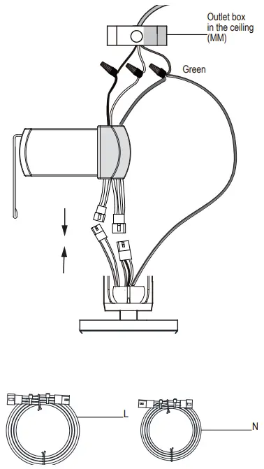
- Position the house supply wires (AAA) to one side of the slide-on mounting bracket (A); position the fan wires (BBB) to the opposite side.
- Insert the narrow end of the receiver (as shown, flat side towards the ceiling) into the slide-on mounting bracket until it rests on top of the ball/down rod assembly.

Wiring the receiver to the household wiring
WARNING: To avoid possible electrical shock, turn the electricity off at the main fuse box before wiring. If you feel you do not have enough electrical wiring knowledge or experience, contact a licensed electrician.
WARNING: Each wire nut supplied with this fan is designed to accept up to one 12-gauge house wire and two wires from the fan. If you have larger than 12-gauge house wiring or more than one house wire to connect to the fan wiring, consult an electrician for the proper size wire nuts to use.
IMPORTANT: Use the wire connecting nuts (BB) supplied with your fan. Secure the connectors with electrical tape and ensure there are no loose strands or connections.
- Spread the wires apart so that the green and white wires are on one side of the outlet box and the black wire is on the other side.
- Connect the green fan wires to the household ground wire (this may be a green or bare wire) using a wire connecting nut (BB).
- Connect the receiver (J) red wire to the household black (hot) wire using a wire connecting nut (BB).
- Connect the receiver (J) white wire to the household white wire (neutral) using a wire connecting nut (BB).
- Secure each wire connecting nut using electrical tape.

Wiring the fan to the receiver
NOTE: The fan comes with 12 in. lead wires for use with the provided 6 in. ball down rod assembly (B), if you wish to use longer down rod, you can use the extension lead wire (42 in.) (M) provided.
- f using the 6 in. ball down rod assembly (B) provided, wire the receiver to the fan wires by connecting the molded adaptor plug from receiver (J) with molded adaptor of the fan motor assembly (E) together.
- If you wish to use longer down rod, you can use the extension lead wire (L or M) provided by connecting the molded adaptor together.

Mounting the fan-motor assembly
WARNING: When using the standard ball/down rod mounting, the tab in the ring at the bottom of the mounting bracket must rest in the groove of the hanger ball. Failure to properly seat the tab in the groove could cause damage to the wiring.
- Align the locking slots of the canopy (C) with the two screws (CC) and alignment post (KK) in the mounting bracket (A).
- Push up the canopy (C) and turn clockwise until the alignment post (KK) engages to the round hole and the screws (CC) engage to the key slots.
- Firmly tighten the two mounting screws (CC).
- Install the decorative bottom cover (DD) by aligning the cover slots with screws in the bottom of the canopy (C). Rotate the bottom cover (DD) clockwise to
lock in place.
Assembly – Attaching the Blades
Attaching the fan blades
- To attach the blade (F) to the the fan motor assembly (E), align the two screw holes in the blade with the screw holes on the motor assembly (E) and secure the blades with blade attachment screws (AA).
- Repeat this step for the remaining the blades.

Assembly – Attaching the Light Kit
Installing the light kit pan
- Attaching the light kit pan (G) to the fan motor assembly (E) by aligning the three holes on the light kit pan (G) with the three screws holes on the plate below fan motor assembly (E).
- Install the screw (CC) to secure the light kit pan (G) properly.
- Make sure all the screws are firmly tightened.

Attaching the light kit fitter assembly
CAUTION: To reduce the risk of electric shock, disconnect the electrical supply circuit to the fan before installing the light kit pan.
- Remove one screw (NN) from the light kit pan (G) and loosen, but do not remove the other two screws.
- Connect the wires from the light kit fitter assembly (H) to the wires from the fan motor assembly (E) by connecting the molded adaptor plugs together. Carefully tuck all wires and splices into the switch cup.
- Push the light kit fitter assembly (H) up to the light kit pan (G) so that the two loosened screw heads fit into the keyhole slots. Turn the light kit fitter assembly (H) clockwise to secure.
- Re-install the screw (NN) that was removed in step 1.
- Make sure all the screws are firmly tightened.

Installing the shatter resistant bowl
CAUTION: Make sure the power is off before attaching or removing the shatter resistant bowl.
WARNING: Allow the shatter resistant bowl to cool completely before removing.
- Place the shatter resistant bowl (I) into the light kit pan (G), aligning the three flat areas on the top flange of the shatter resistant bowl (I) with the three raised dimples in the light kit pan.
- Turn the shatter resistant bowl (I) clockwise until it stops.

Operating Your Fan and Remote Control
POWER ON/OFF
Press and release the power button to turn the fan and light on or off.
NOTE: On start up your ceiling fan will oscillate back and forth. This is NORMAL OPERATION for DC ceiling fans as it goes through its calibration cycle. The fan is NOT DEFECTIVE.
NOTE: The remote receiver includes a memory function that will return the fan to its last setting when turned on via the power button.
FAN SPEED
- LEDs on the fan speed button will illuminate to the corresponding speed.
- Press and release 1 time: turns the fan speed to 5.
- Press and release 2 times: turns the fan speed to 4.
- Press and release 3 times: turns the fan speed to 3.
- Press and release 4 times: turns the fan speed to 2.
- Press and release 5 times: turns the fan speed to 1.
- Press and release 6 times: turns the fan off.
LIGHT ON/OFF/DIMMING
- Press and release the button to turn the light on or off.
- Press and hold the button to activate the dimmer function.

CORRELATED COLOR TEMPERATURE (CCT) CHANGING
NOTE: The default temperature of the ceiling fan light is 3000K (Soft White).
Push and release the button to cycle through the six color temperature options.
Option 1: 2700K (Warm White).
Option 2: 3000K (Soft White).
Option 3: 3500K (Neutral White).
Option 4: 4000/4100K (Cool White).
Option 5: 5000K (Daylight).
Option 6: 6500K (Cool Daylight).
FAN REVERSE
Press and release the power button to reverse the rotation of your ceiling fan.
NOTE: Do not wait for the fan to stop before pressing the reverse button. The fan will not reverse direction if the fan is not moving.
A. Warm weather (Forward) – A downward airflow creates a cooling effect. This allows you to set your air conditioner on a higher setting without affecting your comfort.
B. Cool weather (Reverse) – An upward airflow moves warm air off of the ceiling. This allows you to set your heating unit on a lower setting without affecting your comfort.
Assembly – Attaching the Wall Bracket (optional)
Mounting the remote control holder
NOTE: Screw wall anchors (GG) are included for extra support. The included screws are designed to screw easily into the wall. If you would like a more permanent or secure hold, install the wall anchors (GG) prior to attaching the wall cradle (M) to the wall.
- Slide the screw cover plate up to remove it from the wall cradle.
- Position the wall cradle in the desired position and attach it to the wall using the included wall mount screws.
- Slide the screw cover plate back onto the wall cradle to conceal the screws.

Care and Cleaning
WARNING: Make sure the power is off before cleaning your fan.
- Because of the fan’s natural movement, some connections may become loose. Check the support connections, brackets, and blade attachments twice a year. Make sure they are secure. It is not necessary to remove the fan from the ceiling.
- Clean your fan periodically to help maintain its new appearance over the years. Do not use water when cleaning, as this could damage the motor, or the wood, or possibly cause an electrical shock. Use only a soft brush or lint-free cloth to avoid scratching the finish. The plating is sealed with a lacquer to minimize discoloration or tarnishing.
- You can apply a light coat of furniture polish to the wood for additional protection and enhanced beauty. Cover small scratches with a light application of shoe polish.
- You do not need to oil your fan. The motor has permanently-lubricated sealed ball bearings.
Troubleshooting
| Problem | Solution |
| The fan will not start. |
|
| The fan is noisy. |
|
| The fan wobbles. |
|
FCC Statements
This equipment has been tested and found to comply with the limits for a Class B digital device, pursuant to Part 15 of the FCC Rules. These limits are designed to provide reasonable protection against harmful interference in a residential installation.
This equipment generates, uses and can radiate radio frequency energy and, if not installed and used in accordance with the instructions, may cause harmful interference to radio communications. However, there is no guarantee that interference will not occur in a particular installation.
If this equipment does cause harmful interference to radio or television reception, which can be determined by turning the equipment off and on, the user is encouraged to try to correct the interference by one or more of the following measures:
- Reorient or relocate the receiving antenna.
- Increase the separation between the equipment and receiver.
- Connect the equipment into an outlet on a circuit different from that to which the receiver is connected.
- Consult the dealer or an experienced radio/TV technician for help.
CAUTION:
Any changes or modifications not expressly approved by the grantee of this device could void the user’s authority to operate the equipment.
This device complies with Part 15 of the FCC Rules. Operation is subject to the following two conditions:
- This device may not cause harmful interference, and.
- This device must accept any interference received, including interference that may cause undesired operation.
Warranty
The supplier warrants the fan motor to be free from defects in workmanship and material present at time of shipment from the factory for a lifetime after the date of purchase by the original purchaser. The supplier also warrants that all other fan parts, excluding any glass or acrylic blades, to be free from defects in workmanship and material at the time of shipment from the factory for a period of two years after the date of purchase by the original purchaser. We agree to correct such defects without charge or at our option replace with a comparable or superior model if the product is returned. To obtain warranty service, you must present a copy of the receipt as proof of purchase. All costs of removing and reinstalling the product
are your responsibility. Damage to any part such as by accident, misuse, improper installation, or by affixing any accessories, is not covered by this warranty. Because of varying climatic conditions this warranty does not cover any changes in brass finish, including rusting, pitting, corroding, tarnishing, or peeling. Brass finishes of this type give their longest useful life when protected from varying weather conditions. A certain amount of “wobble” is normal and should not be considered a defect. Servicing performed by unauthorized persons shall render the warranty invalid. There is no other express warranty. Home Decorators Collection hereby disclaims any and all warranties, including but not limited to those of merchantability and fitness for a particular purpose to the extent permitted by law. The duration of any implied warranty which cannot be disclaimed is limited to the time period as specified in the express warranty. Some states do not allow a limitation on how long an implied warranty lasts, so the above limitation may not apply to you. The retailer shall not be liable for incidental, consequential, or special damages arising out of or in connection with product use or performance except as may otherwise be accorded by law. Some states do not allow the exclusion of incidental or consequential damages, so the above exclusion or limitation may not apply to you. This warranty gives specific legal rights, and you may also have other rights which vary from state to state. This warranty supersedes all prior warranties. Shipping costs for any return of product as part of a claim on the warranty must be paid by the customer.
Contact the Customer Service Team at 1-800-986-3460 or visit www.HomeDepot.com/homedecorators.
Questions, problems, missing parts? Before returning to the store, call Home Decorators Collection Customer Service
8 a.m. – 7 p.m., EST, Monday-Friday, 9 a.m. – 6 p.m., EST, Saturday.
1-800-986-3460
HOMEDEPOT.COM/HOMEDECORATORS
Retain this manual for future use.







































