HOME DECORATORS COLLECTION 11052AICNDO Woodbank 52 Inch Ceiling Fan

Safety Information
READ AND SAVE THESE INSTRUCTIONS
- To reduce the risk of electric shock, ensure electricity has been turned off at the circuit breaker or fuse box before you begin.
- All wiring must be in accordance with the National Electrical Code “ANSI/NFPA 70” and local electrical codes.
- Electrical installation should be performed by a qualified licensed electrician.
- The outlet box and support structure must be securely mounted and capable of reliably supporting a minimum of 35 lbs (15.9 kg). Use only UL Listed outlet boxes marked
“Acceptable for Fan Support of 35 lbs. (15.9 kg) or less.” - Do not place objects in the path of the blades.
- Do not use water or detergents when cleaning the fan or fan blades. Dry dust cloth or lightly dampened cloth will be suitable for most cleaning.
- After making electrical connections, spliced conductors should be turned upward and pushed carefully up into the outlet box. The wires should be spread apart with the grounded conductor and the equipment-grounding conductor on one side of the outlet box and the ungrounded conductor on the other side of the outlet box.
- All set screws must be checked and retightened where necessary before installation.
- WARNING: To reduce the risk of electrical shock or fire, do not use this fan with any solid-state fan speed control device. It will permanently damage the electronic circuitry.
- To reduce the risk of personal injury, do not bend the blade brackets when installing the brackets, balancing the blades, or cleaning the fan. Do not insert foreign objects in between rotating fan blades.
- To reduce the risk of fire, electric shock, or personal injury, mount to outlet box marked “-acceptable for fan support of 35 lbs. (15.9Kg) or less” and use screws provided with the outlet box.
- To avoid possible electrical shock, turn the electricity off at the main fuse box before wiring.
- CAUTION: To reduce the risk of personal injury, use only the screws provided with the outlet box.
- To avoid personal injury or damage to the fan and other items, use caution when working around or cleaning the fan.
- The fan must be mounted with a minimum of 7 ft (2.1 m) clearance from the trailing edge of the blades to the floor.
- Changes or modifications not expressly approved by the party responsible for compliance could void the user’s authority to operate the equipment.
- WARNING: To reduce the risk of electrical shock, this must be installed with an isolating wall control/switch.
Warranty
We warrant the fan motor to be free from defects in workmanship and material present at time of shipment from the factory for a period of lifetime after the date of purchase by the original purchaser. We also warrant the light kit, to be free from defects in wor kmanship and material present at time of shipment from the factory for a period of five years after the date of purchase by the original purc haser, excluding any glass or acrylic components and wooden blades, to be free from defects in workmanship and material at the time of ship-ment from the factory for a period of two years after the date of purchase by the original purchaser. We agree to correct such defects without charge or at our option replace with a comparable or superior model if the product is returned. To obtain warranty service, you must present a copy of the receipt as proof of purchase. All costs of removing and reinstalling the product are your responsibility. Damage to any part such as by accident, misuse, improper installation or by affixing any accessories, is not covered by this warranty. Because of varying climatic conditions this warranty does not cover any changes in brass finish, including rusting, pitting, corroding, tar nishing or peeling. Brass finishes of this type give their longest useful life when protected from varying weather conditions. A certain amount of “wobble” is normal and should not be considered a defect. Servicing performed by unauthorized persons shall render the warranty invalid. There is no other express warranty. We hereby disclaim any and all warranties, including but not limited to those of merchantability and fitness for a particular purpose to the extent permitted by law. The duration of any implied warranty which cannot be disclaimed is limited to the time period as specified in the express warranty. Some states do not allow limitation on how long an implied warranty lasts, so the above limitation may not apply to you. The retailer shall not be liable for incidental, consequential, or special damages arisi ng out of or in connection with product use or performance except as may otherwise be accorded by law. Some states do not allow the exclusion of incidental or consequential damages, so the above exclusion or limitation may not apply to you. This warranty gives specific legal rights, and you may also have other rights which vary from state to state. This warranty supersedes all prior warranties. Shipping costs for any return of the product as part of a claim on the warranty must be paid by the customer. Contact the Customer Service Team at 1-844-400-FANS (3267) or visit www.HOMEDEPOT.COM/HOMEDECORATORS
Pre-installation-Installation
SPECIFICATIONS
| Fan size | Speed | Volts | Amps | Watts | RPM | CFM N.W. G.W. C.F. | ||||
| LOW | 0.08 | 2.77 | 70 | 2090 | ||||||
| 52 in. | MED | 120 | 0.19 | 13.00 | 130 | 4297 7.10 kgs 9.63 kgs 2.20 cu ft. | ||||
| HIGH | 0.47 | 30.03 | 170 | 5276 (15.66 lbs) (21.23 lbs) | ||||||
NOTE: These are approximate measures. They do not include amps and wattage used by the light kit.
TOOLS REQUIRED
HARDWARE INCLUDE
NOTE: Hardware shown to actual size
| Part | Description | Quantity |
| AA | Blade screw | 18 |
| BB | Fiber washer | 18 |
| CC | Light kit screw (preassembled) | 3 |
| DD | Wire nuts | 3 |
| HH | Cross pin (not to scale) (preassembled) | 1 |
| II | Hitch pin (preassembled) | 1 |
| JJ | Lock pin (not to scale) (preassembled) | 1 |
| KK | Hanger ball set screw (preassembled) | 1 |
| LL | Fan motor assembly coupling set screw (preassembled) | 2 |
| MM | Mounting bracket screw (preassembled) | 2 |
| OO | Remote control holder mounting screws | 2 |
| PP | Remote battery cover screw | 1 |
PACKAGE CONTENTS
| Part | Description | Quantity |
| A | Blade | 6 |
| B | Mounting bracket | 1 |
| C | Canopy | 1 |
| D | Canopy cover | 1 |
| E | Hanger ball (preassembled) | 1 |
| F | Downrod (preassembled) | 1 |
| G | Coupling cover | 1 |
| H | Fan motor assembly | 1 |
| Part | Description | Quantity |
| I | LED bulb | 3 |
| J | Remote control | 1 |
| K | 12V Battery | 1 |
| L | Remote control holder | 1 |
| M | Connector | 1 |
| N | Light kit | 1 |
| O | Metal cage | 1 |
Installation
MOUNTING OPTIONS
WARNING: To reduce the risk of fire, electric shock, or personal injury, mount the fan to an outlet box marked acceptable for fan support. An outlet box commonly used for the support of lighting fixtures may not be acceptable for fan support and may need to be replaced. If in doubt, consult a qualified electrician.
If your ceiling fan does not have an existing UL-listed mounting box, then install one using the following instructions:
- Disconnect the power by removing the fuses or turning off the circuit breakers.
- Secure the outlet box (1) (not included) directly to the building structure. Use appropriate fasteners and materials (not included). The outlet box and its bracing must be able to fully support the weight of the moving fan (at least 35 lbs.). Do not use a plastic outlet box. The illustrations to the right show three different ways to mount the outlet box (not included).
- To hang your fan where there is an existing fixture but no ceiling joist, you may need an installation hanger bar (3)(not included), as shown.
NOTE: You may need a longer downrod to maintain proper blade clearance when installing on a steep, sloped ceiling. The maximum angle allowable is 18°. If the canopy touches the downrod, remove the decorative canopy bottom cover and turn the canopy 180° before attaching the canopy to the mounting plate (2).
Assembly — Hanging the Fan
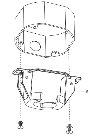
- Attaching the mounting bracket to the electrical box
WARNING: To reduce the risk of fire, electric shock, or other personal injuries, mount the fan only to an outlet box or supporting system marked acceptable for fan support and use the mounting screws provided with the outlet box.
- Secure the mounting bracket (B) to the ceiling outlet box with the screws and washers provided with your outlet box.

- Attaching the downrod to the fan motor assembly
- Loosen the two fan motor assembly coupling set screws
- (LL) from the fan motor assembly (H) coupling.
- Remove the hitch pin (II) and lock pin (JJ) from the downrod (F). Remove the hanger ball (E) from the downrod (F) by loosening the hanger ball set screw (KK), and removing the cross pin (HH), then sliding the hanger ball (E) off of the downrod (F).
- Carefully feed the fan wires up through the downrod (F). Thread the downrod (F) into the fan motor assembly (H) coupling. Line up the holes and replace the lock pin (JJ) and the hitch pin (II). Tighten the set screws (LL).

- Attaching the coupling cover, and canopy to the downrod
- Slip the coupling cover (G), and canopy (C) onto the downrod (F). Carefully reinstall the hanger ball (E) onto the downrod (F), and ensure that the cross pin (HH) is in the correct position, the hanger ball set screws (KK) are tight, and the wires are not twisted.

- Hanging the fan motor assembly from the mounting bracket
- Lift the fan motor assembly (H) into position, and place the hanger ball (E) into the mounting bracket (B). Rotate the fan motor assembly (H) until the check groove drops into the registration slot and seats firmly. The downrod (F) should not rotate if this is done correctly.

- Making the electrical connections

- WARNING: To avoid possible electrical shock, ensure the electricity is turned off at the circuit breaker or main fuse box before wiring.
- Check to see that all connections are tight, including the ground, and that no bare wire is visible at the wire nuts, except for the ground wire.
- Follow the steps below to connect the fan to your house supply wires. Secure the wire nuts (DD) supplied with your fan by wrapping the connections with electrical tape.
- Connect the black (hot) wire from the ceiling to the black wire from the fan motor assembly (H).
- Connect the white (neutral) wire from the ceiling to the white wire from the fan motor assembly (H).
- If your outlet box (1) has a ground wire (green or bare copper), connect it to the fan ground wires; otherwise, connect the hanger ball (E) ground wire to the mounting bracket (B).
- Secure the wire connection with a plastic wire nut
(DD) provided with the electrical hardware. - After connecting the wires, spread them apart so that the green and white wires are on one side of the outlet box (1) and the black wires are on the other side. Carefully tuck the wire connections up into the outlet box (1).
- Securing the fan motor assembly to the mounting bracket
- Remove two mounting bracket screws (MM) from the mounting bracket (B).
- Attach the canopy (C) to the mounting bracket (B) by using the two mounting bracket screws (MM) previously removed.
- Tighten the mounting bracket screws (MM).
- Align the oval shape on the canopy (C) with the canopy cover (D). Push up the canopy cover (D) until the screw (MM) heads engage to the slots on the canopy cover (D), and rotate the canopy cover (D) until it is attached to the bottom of the canopy (C) properly.

Assembly — Attaching the Fan Blade
- Fastening the fan blade to the fan motor assembly
- Attach the fan blades (A) to the fan motor assembly (H) by using three-blade screws (AA) and fiber washers (BB). Tighten screws (AA) and fiber washers (BB) securely.

- Assembly — Installing the Light Kit
- Remove the preassembled light kit screw (CC) on the light kit (N). Connect the light lead wire from the fan motor assembly (H) and light kit (N). Attach the light kit (N) with the connector from the fan motor assembly (H). Tighten the light kit screws (CC) securely.

Assembly — Installing the Light Kit
- Attaching the LED bulb and metal cage to the light kit
- Attach three LED bulbs (I) to the light kit (N).
- Remove the connector (M) from the light kit (N).
- Attach the metal cage (O) through the threaded tube support from the light kit (N). Tighten the connector (M) with the threaded tube support from the light kit (N).

Operation
REMOTE CONTROL OPERATING INSTRUCTIONS
Install a 12V battery (K) into the remote control (J). Fasten the battery cover screw (PP) after installation. To prevent damage to the remote control, remove the battery if not used for long periods of time.
- WARNING: Do not short-circuit, disassemble, heat up, connect improperly, or dispose of used batteries in fire. Do not recharge or mix batteries with used or other battery types. Immediately remove used batteries.
- WARNING: Chemical Burn Hazard. Keep batteries away from children. This product contains a lithium button/coin cell battery. If a new or used lithium button/coin cell battery is swallowed or enters the body, it can cause severe internal burns and can lead to death in as little as 2 hours. Always completely secure the battery compartment. If the battery compartment does not close securely, stop using the product, remove the batteries, and keep them away from children. If you think batteries might have been swallowed or placed inside any part of the body, seek immediate medical attention.
- W A R N I N G: a)The cells shall be disposed of properly, including keeping them away from children; and b) Even used cells may cause injury.
LEARNING/PAIRING PROCESS FOR MULTIPLE FAN INSTALLATION
NOTE: After the AC power is on, do not press any other button on the remote control before pressing the (FAN ON/OFF) button. Doing so will cause the procedure to fail. Should you desire to install more than one fan in the home, please install it one by one using the steps below to insure one remote operates each fan independently:
- Step 1: Turn off the main power source to all fans to begin the learning process on any single fan.
- Step 2: Restore power to only one fan at a time for pairing, the rest remain off by use of your wall-mounted power switch.
- Step 3: Within 30 seconds of turning the fan’s AC power ON, press and hold the button for 5 seconds to enter the learning function. Once the receiver has detected the set frequency, a beeping sound is emitted when pairing is complete.
- Step 4: Repeat steps 1, 2, and 3 with each individual fan to insure one remote does not operate multiple fans.
NOTE: Your new fan is already programmed with a unique code to be operated with the included handheld remote.
NOTE: On start up, your ceiling fan will oscillate back and forth. This is a NORMAL OPERATION for the DC ceiling fan as it goes through its calibration cycle. The fan is NOT DEFECTIVE.
- Fan button. – Press and release the button to turn the fan on or off.
- Fan off. The fan memory function will store the current setting for the next time the fan is in use.
Light functions
- Press and release button one time will turn the light on or off.
- Press + to increase the desired light level.
- Press – to decrease the desired light level.
- Fan reverse button (Must be Pushed when the fan is in operation)
- (Counterclockwise Direction) A downward air flow creates a cooling effect. This allows you to set your air conditioner on a higher setting without affecting your comfort.
- (Clockwise Direction) An upward air flow moves warm air off the ceiling. This allows you to set your heating unit on a lower setting without affecting your comfort.
Speed functions
- Number 1/ 2/ 3/ 4/ 5/ 6 , speed button
- Press and release button one time will change the speed of the fan.
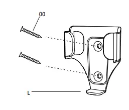
INSTALLING THE REMOTE CONTROL HOLDER
- Attach the remote control holder (L) with the two remote control holder mounting screws (OO).

Care and Cleaning
Do
- Check the support connections, brackets, and blade attachments twice a year. Ensure they are secure. Because of the fan’s natural movement, some connections may become loose over time. It is not necessary to remove the fan from the
- Clean your fan Use only a soft brush or lint-free cloth to avoid scratching the finish. The plating is sealed with a lacquer to minimize discoloration or tarnishing.
- (Optional) Apply a light coat of furniture polish to the wood
- (Optional) Cover small scratches with a light application of shoe
Do not
- Do not use water when cleaning. Water could damage the motor, or the wood, or possibly cause an electrical shock.
- Do not apply oil to your fan or motor. The motor has permanently-lubricated sealed ball bearings.
Troubleshooting
WARNING: Ensure the power is off at the electrical panel box before you attempt any repairs. Refer to the section “Making the Electrical Connections” on page 9.
| Problem | Solution |
|
The fan will not start. |
|
| |
| |
|
The fan sounds noisy. |
|
| |
| |
| |
| |
| |
| |
| The remote control is not working. |
|
| |
|
The fan wobbles. |
|
| |
| Fan moves backwards and forwards when turned on. |
|
FCC Statement
This equipment has been tested and found to comply with the limits for a Class B digital device, pursuant to Part 15 of the FCC Rules. These limits are designed to provide reasonable protection against harmful interference in a residential installation. This equipment generates uses and can radiate radio frequency energy and, if not installed and used in accordance with the instructions, may cause harmful interference to radio communications. However, there is no guarantee that interference will not occur in a particular installation. If this equipment does cause harmful interference to radio or television reception, which can be determined by turning the equipment off and on, the user is encouraged to try to correct the interference by one or more of the following measures:
- Reorient or relocate the receiving antenna.
- Increase the separation between the equipment and receiver.
- Connect the equipment into an outlet on a circuit different from that to which the receiver is connected.
- Consult the dealer or an experienced radio/TV technician for help.
CAUTION:
This device complies with Part 15 of the FCC Rules. Operation is subject to the following two conditions:
- This device may not cause harmful interference, and
- this device must accept any interfe
- The following responsible party designated in FCC §2.909 is responsible for this declaration:
- Model Number:
- Company Name:
- Company Address:
- Full Name: Title:
- Telephone Number:
- rence received, including interference that may cause undesired operation.
- Any changes or modifications not expressly approved by the grantee of this device could void the user’s authority to operate the equipment.
- HOMEDEPOT.COM/HOMEDECORATORS
- Please contact 1-844-400-FANS (3267) for further assistance.





























