HOME DECORATORS COLLECTION 56046 Sederio 52-Inch Ceiling Fan

Safety Information
READ AND SAVE THESE INSTRUCTIONS.
- To reduce the risk of electric shock, ensure the electricity has been turned off at the circuit breaker or fuse box before you begin.
- All wiring must be in accordance with the National Electrical Code ANSI/NFPA 70 and local electrical codes. Electrical installation should be performed by a qualified licensed electrician.
- The outlet box and support structure must be securely mounted and capable of reliably supporting 35 lb (15.9 kg). Use only UL Listed outlet boxes marked “Acceptable for Fan Support of 35 lb (15.9 kg) or less”.
- Do not operate the reversing switch while the fan blades are in motion. You must turn the fan off and stop the blades before you reverse the blade direction.
- Do not place objects in the path of the blades.
- To avoid personal injury or damage to the fan and other items, use caution when working around or cleaning the fan.
- Electrical diagrams are for reference only. Light kits that are not packed with the fan must be UL Listed and marked suitable for use with the model fan you are installing. Switches must be UL General Use Switches. Refer to the instructions packaged with the light kits and switches for proper assembly.
- After making electrical connections, spliced conductors should be turned upward and pushed carefully up into the outlet box. The wires should be spread apart with the grounded conductor and the equipment-grounding conductor on one side of the outlet box and the ungrounded conductor on the other side of the outlet box.
- All setscrews must be checked and retightened where necessary before installation.
- WARNING: To reduce the risk of personal injury, do not bend the blade brackets (also referred to as flanges) during assembly or after installation. Do not insert objects in the path of the blades.
- WARNING: To avoid possible electrical shock, turn the electricity off at the main fuse box before wiring. If you feel you do not have enough electrical wiring knowledge or experience, contact a licensed electrician.
- WARNING: Electrical diagrams are for reference only. Optional use of any light kit shall be UL-listed and marked suitable for use with this fan.
- WARNING: To reduce the risk of fire or electric shock, do not use this fan with any other solid-state speed control device.
- CAUTION: The fan must be mounted with a minimum of 7 ft (2.1 m) clearance from the trailing edge of the blades to the floor.
- CAUTION: To reduce the risk of personal injury, use only the screws provided with the outlet box.
- CAUTION: Changes or modifications not expressly approved by the party responsible for compliance could void the user’s authority to operate the equipment.
- CAUTION: Do NOT use this fan with a dimmer switch or wall control. Using a dimmer switch or wall control will damage the fan.
Warranty
The supplier warrants the fan motor to be free from defects in workmanship and material present at time of shipment from the factory for a lifetime after the date of purchase by the original purchaser. The supplier also warrants that all other fan parts, excluding any glass or acrylic blades, to be free from defects in workmanship and material at the time of shipment from the factory for a period of two years after the date of purchase by the original purchaser. We agree to correct such defects without charge or at our option replace with a comparable or superior model if the product is returned. To obtain warranty service, you must present a copy of the receipt as proof of purchase. All costs of removing and reinstalling the product are your responsibility. Damage to any part, such as by accident, misuse, improper installation, or by affixing any accessories, is not covered by this warranty. Because of varying climatic conditions this warranty does not cover any changes in brass finish, including rusting, pitting, corroding, tarnishing, or peeling. Brass finishes of this type give their longest useful life when protected from varying weather conditions. A certain amount of “wobble” is normal and should not be considered a defect. Servicing performed by unauthorized persons shall render the warranty invalid. There is no other express warranty. Interline hereby disclaims any and all warranties, including but not limited to those of merchantability and fitness for a particular purpose to the extent permitted by law. The duration of any implied warranty which cannot be disclaimed is limited to the time period as specified in the express warranty. Some states do not allow a limitation on how long an implied warranty lasts, so the above limitation may not apply to you. The retailer shall not be liable for incidental, consequential, or special damages arising out of or in connection with product use or performance except as may otherwise be accorded by law. Some states do not allow the exclusion of incidental or consequential damages, so the above exclusion or limitation may not apply to you. This warranty gives specific legal rights, and you may also have other rights which vary from state to state. This warranty supersedes all prior warranties. Shipping costs for any return of product as part of a claim on the warranty must be paid by the customer.
Contact the Customer Service Team at 1-800-986-3460 or visit www.HomeDepot.com/homedecorators.
Pre-Installation
SPECIFICATIONS
| Size | Speed | Volts | Amps | Watts | RPM | CFM | Net Weight | Gross Weight | Cube Feet |
|
52” | Low |
120 | 0.22 | 9 | 57 | 1669.42 |
18.30 lb (8.3 kg) |
24.91 lb (11.3 kg) |
2.27 cu. ft. |
| Medium | 0.38 | 29 | 103 | 2923.11 | |||||
| High | 0.54 | 65 | 148 | 4217.43 |
NOTE: These are approximate measures. They do not include the Amps and Wattage used by the light kit.
TOOLS REQUIRED
HARDWARE INCLUDED
NOTE: Hardware not shown to actual size.
| Part | Description | Quantity |
| AA | Plastic wire extension | 3 |
| BB | Pull chain extensions | 2 |
PACKAGE CONTENTS
| Part | Description | Quantity |
| A | Slide-on mounting bracket (inside canopy) | 1 |
| B | Canopy | 1 |
| C | Canopy bottom cover | 1 |
| D | Ball/downrod assembly | 1 |
| E | Coupler cover | 1 |
| Part | Description | Quantity |
| F | Fan-motor assembly | 1 |
| G | Light kit fitter assembly | 1 |
| H | LED bulb | 3 |
| I | Glass shade | 3 |
| J | Blade bracket | 5 |
| K | Blade | 5 |
IMPORTANT: This product and/or components are governed by one or more of the following U.S. Patents: 5,947,436; 5,988,580; 6,010,110; 6,046,416, 6,210,117 and other patents pending.
Installation
MOUNTING OPTIONS
WARNING: To reduce the risk of fire, electric shock or personal injury, mount to outlet box marked “Acceptable for fan support of 35 lbs. (15.9 Kg) or less”, and use screws provided with the outlet box. An outlet box commonly used for the support of lighting fixtures may not be acceptable for fan support and may need to be replaced. If in doubt, consult a qualified electrician.
If your ceiling fan does not have an existing UL-listed mounting box, then install one using the following instructions:
- Disconnect the power by removing the fuses or turning off the circuit breakers.
- Secure the outlet box directly to the building structure. Use the appropriate fasteners and materials. The outlet box and its bracing must be able to fully support the weight of the moving fan (at least 35 lbs.). Do not use a plastic outlet box.
The illustrations below show three different ways to mount the outlet box.
NOTE: You may need a longer ball/downrod to maintain proper blade clearance when installing on a steep, sloped ceiling. The maximum angle allowable is 20° away from horizontal.
If the canopy touches the ball/downrod, then remove the canopy bottom cover, and turn the canopy 180° before attaching the canopy to the mounting plate.
To hang your fan where there is an existing fixture but no ceiling joist, you may need an installation hanger bar as shown above
(available at any Home Depot store).
Assembly – Standard Ceiling Mount
Preparing for mounting
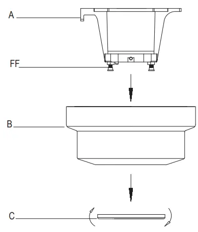
- Remove the canopy bottom cover (C) from the canopy (B) by turning the bottom cover counterclockwise until it unlocks.
- Loosen the two canopy screws (FF) located in the bottom of the mounting bracket (A), and turn the canopy counterclockwise to remove the mounting bracket (A) from the canopy (B).

Routing the wires
- Route the wires exiting the top of the fan motor assembly (F) through the coupler cover (E) and the center of the canopy bottom cover (C).
- Make sure the opening of the canopy (B) is on top and insert the ball/downrod (D) through the canopy (B).
- Route the wires exiting the top of the fan motor assembly (F) through the ball/downrod (D) as shown.

Assembling the fan
CAUTION: To ensure wobble-free operation and to avoid damage to the fan, the ball/downrod (D) and the setscrew (RR) must be completely tightened.
NOTE: This fan is equipped with a safety tab (SS). Should the setscrew (RR) ever become loose while the fan is running in reverse, the safety tab (SS) will engage and stop the fan from falling.
- Remove the setscrew (RR) by turning it counterclockwise.
- Install the ball/downrod (D) by inserting it into the motor collar (TT), and turning it clockwise until it is tight.
- Reinstall the setscrew (RR) turning clockwise until tight.

Assembly – Hanging the Fan
Attaching the fan to the electrical box
WARNING: To reduce the risk of fire, electric shock or personal injury, mount to outlet box marked “Acceptable for fan support of 35 lbs. (15.9 Kg) or less”, and use screws provided with the outlet box.
- Pass the 120-Volt supply wires through the center hole in the mounting bracket (A).
- Install the ceiling mounting bracket on the outlet box by sliding the mounting bracket (A) over the two screws (JJ) provided with the outlet box. If necessary, use leveling washers (not included) between the mounting bracket (A) and the outlet box. Note that the flat side of the mounting bracket (A) is toward the outlet box.
- Securely tighten the two mounting screws (JJ).

Hanging the fan
WARNING: When using the standard ball/downrod mounting, the tab in the ring at the bottom of the mounting bracket must rest in the groove of the hanger ball. Failure to properly seat the tab in the groove may result in fan wobble issues and potentially damage the wiring.
- Carefully lift the fan motor assembly (F) up to the slide-on mounting bracket (A).
- Seat the hanger ball portion of the ball/downrod (D) in the mounting bracket socket. Ensure that the tab on the slide-on mounting bracket (A) socket is properly seated in the groove in the hanger ball.

Making the electrical connection
IMPORTANT: Use the plastic wire connectors (AA) supplied with your fan. Secure the connectors with electrical tape and ensure there are no loose strands or connections.
NOTE: The fan comes with 54 in. lead wires for use with an extended ball/downrod assembly. If using the 4.5 in. ball/downrod assembly (D) provided, you can cut the lead wires to your desired length (no shorter than 12 in.). This will make extra room in the canopy (B). If you do not wish to cut the wires, you will need to neatly wrap them.
- Connect the fan motor white wires to the household white wire using a wire connecting nut (AA).
- Connect the fan motor black and blue wires to the household black wire using a wire connecting nut (AA).
- Connect the fan motor green wires to the household green or bare wire using a wire connecting nut (AA).
- Secure each wire connecting nut (AA) using electrical tape.
- Turn the wire connecting nut (AA) upward and push the wiring into the outlet box (MM).

Wrapping the extra wire
NOTE: Follow this step ONLY if you did not cut the extra length off from the wires coming from the ceiling fan.
- Gently wrap the excess wire around the mounting bracket.
- Secure with electrical tape.

Attaching the canopy
- Align the locking slots of the canopy (B) with the two screws (FF) and alignment post (EE) in the mounting bracket (A).
- Push up the canopy (B) and turn clockwise until the alignment post (EE) engages to the round hole and the screws (FF) engage to the key slots.
- Firmly tighten the two mounting screws (FF).
- Install the decorative bottom cover (C) by aligning the cover slots with screws in the bottom of the canopy (B). Rotate the bottom cover (C) clockwise to lock in place.

Assembly – Attaching the Fan Blades
Attaching the blade brackets
- Fasten the blade bracket (J) to the motor (F) by inserting the alignment post into the slot on the bottom of the fan motor assembly (F) and tightening the motor screws (GG) that are pre-assembled to the blade bracket (J).
- Repeat for the remaining four blade bracket (J).

Assembly – Attaching the Light Kit
Attaching the light kit
CAUTION: To reduce the risk of electric shock, disconnect the electrical supply circuit to the fan before installing the light kit.
- Remove the three screws (CC) from the light kit fitter assembly (G).
- Connect the wires exiting the bottom of the motor assembly (F) by connecting the molded adaptor plugs together (blue to blue, white to white).
- Slide the light kit (G) and secure it to the switch housing using the three screws (CC) that were removed in the first step.

Installing the glass shades and bulbs
WARNING: Allow the glass shades to cool completely before removing.
CAUTION: Make sure the power is off before attaching or removing the glass shades.
CAUTION: Over lamping the fan will result in the fan lights shutting down until the proper wattage bulbs are installed. Reset the lights by turning off the power, replacing the bulbs with the correct wattage bulbs, and turn the power on.
- Remove the compressing ring (DD) from the threaded socket of light kit (G) by turning the compress ring (DD) counterclockwise until it unlocks.
- Insert the glass shade (I) into the light kit cowling and turn the compressing ring (DD) clockwise to tighten and secure the glass shade (I). Repeat for the remaining shades.
- With power off, screw the LED bulbs (H) into the sockets.
- Attach the pull chain extensions (BB) to the light pull chain and fan pull chain.

Operation
Turn on the power and check the operation of the fan. The pull chain controls the fan speeds as follows:
1 pull – High, 2 pulls – Medium, 3 pulls – Low, 4 pulls – off
The appropriate speed settings for warm or cool weather depends on factors such as the room size, ceiling height, and number of fans.
The fan is shipped from the factory with the reversing switch positioned to circulate air downward. If airflow is desired in the opposite direction, turn your fan off and wait for the blades to stop turning, then slide the reversing switch (XX) (located in switch cup) to the opposite position, and turn the fan on again. The fan blades will turn in the opposite direction and reverse airflow.
NOTE: Wait for the fan to stop before reversing the direction of blade rotation.
- A. Warm weather – (Forward) A downward airflow creates a cooling effect. This allows you to set your air conditioner on a warmer setting without affecting your comfort.
- B. Cool weather – (Reverse) An upward airflow moves warm air off of the ceiling. This allows you to set your heating unit on a cooler setting without affecting your comfort.

Care and Cleaning
WARNING: Make sure the power is off before cleaning your fan.
- Because of the fan’s natural movement, some connections may become loose. Check the support connections, brackets, and blade attachments twice a year. Make sure they are secure. It is not necessary to remove the fan from the ceiling.
- Clean your fan periodically to help maintain its new appearance over the years. Do not use water when cleaning, as this could damage the motor, or the wood, or possibly cause an electrical shock. Use only a soft brush or lint-free cloth to avoid scratching the finish. The plating is sealed with a lacquer to minimize discoloration or tarnishing.
- You can apply a light coat of furniture polish to the wood for additional protection and enhanced beauty. Cover small scratches with a light application of shoe polish.
- You do not need to oil your fan. The motor has permanently-lubricated sealed ball bearings.
Troubleshooting
| Problem | Solution |
| The fan will not start. | □ Check the main and branch circuit fuses or breakers. □ Check the line wire connections to the fan and switch wire connections in the switch housing. |
| The fan is noisy. | □ Ensure all motor housing screws are snug. □ Ensure the screws that attach the fan blade bracket to the motor hub are tight. □ Ensure the wire nut connections are not rattling against each other or the interior wall of the switch housing. □ Allow a 24-hour “breaking in” period. Most noises associated with a new fan disappear during this time. □ Ensure the canopy is a short distance from the ceiling. It should not touch the ceiling. □ Ensure your outlet box is secure and rubber isolator pads were used between the mounting plate and outlet box. |
| The fan wobbles. | □ Check that all blade and blade arm screws are secure. □ Most fan wobble problems are caused when blade levels are unequal. Check this level by selecting a point on the ceiling above the tip of one of the blades. Measure from a point on the center of the blade to the point on the ceiling. Rotate the fan until the next blade is positioned for measurement, and measure from the same point on each blade to the ceiling. Repeat for each blade. Any measurement deviation should be within 1/8 in. Run the fan for ten minutes. If the fan continues to wobble please contact Customer Service and a balancing kit will be sent to you at no charge. |
Questions, problems, missing parts? Before returning to the store, call Home Depot Customer Service
8 a.m. – 7 p.m., EST, Monday-Friday, 9 a.m. – 6 p.m., EST, Saturday.
1-800-986-3460
HOMEDEPOT.COM/HOMEDECORATORS
Retain this manual for future use.





























