
Item #1005 819 928
Model #52106
UL Model #60-TIMB
USE AND CARE GUIDE
___________________
MAKENNA 60-INCH CEILING FAN

Questions, problems, missing parts? Before returning to the store,
call Home Decorators Collection Customer Service
8 a.m. – 7 p.m., EST, Monday-Friday, 9 a.m. – 6 p.m., EST, Saturday.
1-800-986-3460

To view an instructional video on how to install this product:
1. Go to www.homedepot.com and enter either the Item or Model number, found in the top right corner of the cover of this instruction manual, in the search field.
2. Click on your product from the list of search results and click on the video link in the “Product Overview” section.
THANK YOU
We appreciate the trust and confidence you have placed in Home Decorators Collection through the purchase of this ceiling fan. We strive to continually create quality products designed to enhance your home. Visit us online to see our full line of products available for your home improvement needs. Thank you for choosing Home Decorators Collection!
Safety Information
READ AND SAVE THESE INSTRUCTIONS.
- To reduce the risk of electric shock, ensure the electricity has been turned off at the circuit breaker or fuse box before you begin.
- All wiring must be in accordance with the National Electrical Code ANSI/NFPA 70 and local electrical codes. Electrical installation should be performed by a qualified licensed electrician.
- The outlet box and support structure must be securely mounted and capable of reliably supporting a minimum of 35 lbs (15.9 kg). Use only UL-listed outlet boxes marked “Acceptable for Fan Support of 35 lbs (15.9 kg) or less.”
- CAUTION: The fan must be mounted with a minimum of 7 ft. (2.1 m of clearance from the trailing edge of the blades to the floor.
- Do not place objects in the path of the blades.
- To avoid personal injury or damage to the fan and other items, use caution when working around or cleaning the fan.
- After making electrical connections, spliced conductors should be turned upward and pushed carefully up into the outlet box. The wires should be spread apart with the grounded conductor and the equipment-grounding conductor on one side of the outlet box.
- All set screws must be checked and retightened where necessary before installation.
- Use only with light kits marked suitable for damp location.
- Suitable for use in damp locations.
WARNING: To reduce the risk of personal injury, do not bend the blade brackets (also referred to as flanges) during assembly or after installation. Do not insert objects in the path of the blades.
WARNING: To avoid possible electrical shock, turn the electricity off at the main fuse box before wiring. If you feel you do not have enough electrical wiring knowledge or experience, contact a licensed electrician.
WARNING: To reduce the risk of fire, electric shock or personal injury, mount to outlet box marked “Acceptable for fan support of 35 lbs (15.9 kg) or less”, and use screws provided with the outlet box.
WARNING: Electrical diagrams are for reference only. If you are using a light kit, refer to the light kit instructions manual to make the electrical connections. Optional use of any light kit shall be UL-listed and marked suitable for use with this fan.
WARNING: To reduce the risk of fire or electric shock, this fan should only be used with fan speed control part no. DP-51R, manufactured by DawnSun Electronic Technology Co., Ltd. Zhongshan.
WARNING: To reduce the risk of electric shock, this fan must be installed with an isolating wall switch.
CAUTION: To reduce the risk of personal injury, use only the screws provided with the outlet box.
CAUTION: Do NOT use this fan with a dimmer switch or wall control. Using a dimmer switch or wall control will damage the fan.
CAUTION: Changes or modifications not expressly approved by the party responsible for compliance could void the user’s authority to operate the equipment.
Warranty
The supplier warrants the fan motor to be free from defects in workmanship and material present at time of shipment from the factory for a lifetime after the date of purchase by the original purchaser. The supplier warrants that the light kit, excluding any glass, to be free from defects in workmanship and material at the time of shipment from the factory for a period of five years after the date of purchase by the original purchaser. The supplier also warrants that all other fan parts, excluding any glass or acrylic blades, to be free from defects in workmanship and material at the time of shipment from the factory for a period of two years after the date of purchase by the original purchaser. We agree to correct such defects without charge or at our option replace with a comparable or superior model if the product is returned. To obtain warranty service, you must present a copy of the receipt as proof of purchase. All costs of removing and reinstalling the product are your responsibility. Damage to any part, such as by accident, misuse, improper installation, or by affixing any accessories, is not covered by this warranty. Because of varying climatic conditions this warranty does not cover any changes in brass finish, including rusting, pitting, corroding, tarnishing, or peeling. Brass finishes of this type give their longest useful life when protected from varying weather conditions. A certain amount of “wobble” is normal and should not be considered a defect. Servicing performed by unauthorized persons shall render the warranty invalid. There is no other express warranty. Interline hereby disclaims any and all warranties, including but not limited to those of merchantability and fitness for a particular purpose to the extent permitted by law. The duration of any implied warranty which cannot be disclaimed is limited to the time period as specified in the express warranty. Some states do not allow a limitation on how long an implied warranty lasts, so the above limitation may not apply to you. The retailer shall not be liable for incidental, consequential, or special damages arising out of or in connection with product use or performance except as may otherwise be accorded by law. Some states do not allow the exclusion of incidental or consequential damages, so the above exclusion or limitation may not apply to you. This warranty gives specific legal rights, and you may also have other rights which vary from state to state. This warranty supersedes all prior warranties. Shipping costs for any return of product as part of a claim on the warranty must be paid by the customer.
Contact the Customer Service Team at 1-800-986-3460.
Pre-Installation
SPECIFICATIONS


NOTE: These are approximate measures. They do not include the Amps and Wattage used by the light kit.
TOOLS REQUIRED
Phillips screwdriver
Flat blade screwdriver
Adjustable wrench
Electrical tape
Wire cutter/ stripper
Step ladder
HARDWARE INCLUDED
NOTE: Hardware not shown to actual size.


Part | Description | Quantity |
AA | Blade attachment screws | 25 |
BB | Plastic wire connecting nut | 3 |
CC | Hanger pin | 1 |
DD | Locking pin | 1 |
EE | Blade arm screws | 17 |
FF | Decorative frame screws | 17 |
GG | Frame brace screws | 9 |
PACKAGE CONTENTS

Part | Description | Quantity |
A | Slide-on mounting bracket (inside canopy) | 1 |
B | Ball/downrod assembly | 1 |
C | Canopy with canopy ring attached | 1 |
D | Decorative motor collar cover | 1 |
E | Fan-motor assembly | 1 |
F | Blade arm | 8 |
G | Blade | 8 |
H | Blade arm bracket | 8 |
I | Decorative frame piece | 8 |
J | Light kit assembly | 1 |
K | Light kit pan and shade assembly | 1 |
L | Receiver | 1 |
M | Transmitter | 1 |
N | 3-pin extension wire | 1 |
O | 2-pin extension wire | 1 |
P | Battery | 2 |

IMPORTANT: This product and/or components are governed by one or more of the following U.S. Patents: 5,947,436; 5,988,580; 6,010,110; 6,046,416; 6,210,117 and other patents pending.
Installation
MOUNTING OPTIONS
WARNING: To reduce the risk of fire, electric shock or personal injury, mount to outlet box marked “Acceptable for fan support of 35 lbs (15.9 kg) or less”, and use screws provided with the outlet box. An outlet box commonly used for the support of lighting fixtures may not be acceptable for fan support and may need to be replaced. If in doubt, consult a qualified electrician.
If your ceiling fan does not have an existing UL-listed mounting box, then install one using the following instructions:
- Disconnect the power by removing the fuses or turning off the circuit breakers.
- Secure the outlet box directly to the building structure. Use the appropriate fasteners and materials. The outlet box and support structure must be securely mounted and capable of reliably supporting a minimum of 35 lbs (15.9 kg). Use only UL-listed outlet boxes marked “Acceptable for fan support of 35 lbs (15.9 kg) or less.” Do not use a plastic outlet box.
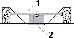
The illustrations below show three different ways to mount the outlet box.

- Outlet Box

- Outlet Box

- Provide Strong Support
- Ceiling Mounting Plate
- Recessed Outlet Box
NOTE: You may need a longer downrod to maintain proper blade clearance when installing on a steep, sloped ceiling. The maximum angle allowable is 20° away from horizontal.

- Hanger Bar
- Outlet Box
If the canopy touches the downrod, then remove the decorative canopy bottom cover, and turn the canopy 180° before attaching the canopy to the mounting plate.
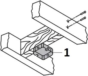
To hang your fan where there is an existing fixture but no ceiling joist, you may need an installation hanger bar as shown above (available at any Home Depot store).
Assembly – Attaching the Fan Blades
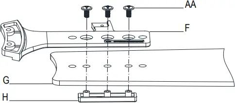
1 Attaching the blades to the blade brackets
- Attach a blade (G) to the blade arm (F) by aligning the holes on the blade arm bracket (H) with the holes on blades (G) and blade arms (F), inserting the screws (AA) into the holes in the blade arm (F) and through the blade (G), blade arm (F) and blade arm bracket (H).
- Tighten each screw to secure the blade (G).
- Repeat this step for each blade (G), blade arm (F) and blade arm bracket (H).

2 Attaching the blade assemblies to the motor
NOTE: Only attach 7 of the 8 blade assemblies to the fan motor. This will make it easier to lift and hang the fan assembly. The final blade will be attached after hanging and wiring the fan.
- Attach the blade assembly to the motor assembly (E) by aligning the screw holes on the blade arm (F) with the screw holes on the bottom of the fan motor assembly (E).
- Insert the screws (EE) into the holes on the blade arm (F) and through the holes on the bottom of the fan motor assembly (E), and start the screws in each hole. Do not completely tighten these screws. The blade arms should be slightly loose when attaching the decorative frames.
- Repeat this process for 6 of the 7 remaining blade assemblies.

3 Assembling the decorative frame
NOTE: Only attach 7 of the 8 decorative frame pieces to the blade assemblies. The final decorative frame piece will be attached after the last blade assembly is attached.
- Attach the decorative frame (I) to the blade assembly by aligning the two posts of the decorative frame with the two holes in the blade. Secure the decorative frame to the blade using the decorative frame screws (FF). Insert the decorative frame screws (FF) through the two holes in the blade arm (F) and screw them into the posts of the decorative frame (I). Align the hole in the tab at the end of the decorative frame (I) with the frame brace on the side edge of the blade arm (F) and secure using a frame brace screw (GG). Make sure all screws are completely tightened.
- Repeat this process for 6 of the 7 remaining decorative frame pieces (I).


Assembly – Standard Ceiling Mount
1 Preparing for mounting
- Remove the magnetic canopy bottom cover (II) from the canopy (C) by pulling it off.
- Loosen the two canopy screws (SS) located in the bottom of the mounting bracket (A).
- Turn the mounting bracket (A) counterclockwise and lift it up to remove the mounting bracket from the canopy (C).

2 Routing the wires
NOTE: The fan comes with 12 in. lead wires for use with the provided 6 in. ball downrod assembly (B). If you wish to use a longer downrod, attach the 3-pin extension wire (N) and 2-pin extension wire (O) to the fan by connecting the molded adaptor plugs from the extension wires to the 3-pin and 2-pin adaptor plugs from the fan.
- Route the wires exiting the top of the fan motor assembly (E) through the decorative motor collar cover (D) and then the center of the canopy bottom cover (II).
- Make sure the opening of the canopy (C) is on top and insert the ball/downrod (B) through the canopy (C).
- Route the wires exiting the top of the fan motor assembly (E) through the downrod as shown.

3 Assembling the fan
CAUTION: To ensure wobble-free operation and to avoid damage to the fan, the downrod (B) and the setscrew (JJ) must be completely tightened.
WARNING: Failure to properly install the locking pin (DD) could result in the fan becoming loose and possibly falling.
- Loosen, but do not remove, the setscrew (JJ) on the collar (PP) on top of the fan-motor assembly (E).
- Install the downrod (B) by inserting it into the motor collar (PP), and turning it clockwise until the holes at the bottom of the ball/downrod assembly (B) align with the holes in the collar on top of the fan-motor assembly (E).
- Carefully insert the hanger pin (CC) through the holes in the collar and ball/downrod assembly (B). Be careful not to jam the hanger pin (CC) against the wiring inside the ball/downrod assembly (B).
- Insert the locking pin (DD) through the hole near the end of the hanger pin (CC) until it snaps into its locked position.
- Re-tighten the setscrew (JJ) on the collar (PP) on top of the fan-motor assembly (E).

Assembly – Hanging the Fan
1 Attaching the fan to the electrical box
WARNING: To reduce the risk of fire, electric shock or personal injury, mount to outlet box marked “Acceptable for fan support of 35 lbs 15.9 kg) or less”, and use screws provided with the outlet box.
NOTE: The mounting bracket (A) is designed to slide into place on an outlet box with the mounting screws (KK) installed.
- Loosen the two mounting screws (KK) in the outlet box.
- Pass the 120-Volt supply wires through the center hole in the mounting bracket (A).
- Slide the mounting bracket (A) on to the mounting screws (KK) and center the mounting bracket (A) in relation to the outlet box. If necessary, use leveling washers (not included) between the slide-on mounting bracket (A) and the outlet box. The flat side of the slide-on mounting bracket (A) should face toward the outlet box, as shown.
- Securely tighten the two mounting screws (KK).

2 Hanging the fan
Note: If the fan is too heavy to lift on a ladder, seek the assistance of a second person to hang the fan.
- Carefully lift the fan-motor assembly (E) up to the slide-on mounting bracket (A).
- Insert the ball portion of the ball/downrod assembly (B) into the socket of the slide-on mounting bracket (A).
- Turn the ball/downrod assembly (B) clockwise until it is seated with the tab of the slide-on mounting bracket (A) aligned with the slot in the ball.

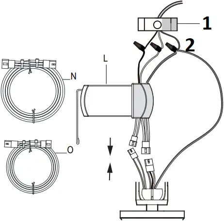
3 Installing the receiver
WARNING: To reduce the risk of fire or electric shock, remember to disconnect power. The electrical wiring must meet all local and national electrical code requirements. The electrical source and fan must be 110/120 volts, 60Hz. Do not use this product in conjunction with any variable wall control. Incorrect wire connection can damage this receiver.
CAUTION: If other fan wires are a different color, have this unit installed by a licensed electrician.
- Position the house supply wires (AAA) to one side of the slide-on mounting bracket (A); position the fan wires to connect the correct pin connector properly.
- Insert the narrow end of the receiver (L) (as shown, flat side towards the ceiling) into the slide-on mounting bracket until it rests on top of the ball/ downrod assembly.

4 Wiring the receiver to the household wiring
WARNING: To avoid possible electrical shock, turn the electricity off at the main fuse box before wiring. If you feel you do not have enough electrical wiring knowledge or experience, contact a licensed electrician.
WARNING: Each wire nut supplied with this fan is designed to accept up to one 12-gauge house wire and two wires from the fan. If you have larger than 12-gauge house wiring or more than one house wire to connect to the fan wiring, consult an electrician for the proper size wire nuts to use.
IMPORTANT: Use the wire connecting nuts (BB) supplied with your fan. Secure the connectors with electrical tape and ensure there are no loose strands or connections.
- Spread the wires apart so that the green and white wires are on one side of the outlet box and the black wire is on the other side.
- Connect the green fan wires to the household ground wire (this may be a green or bare wire) using a wire connecting nut (BB).
- Connect the receiver (L) black (or red) wire to the household black (hot) wire using a wire connecting nut (BB).
- Connect the receiver (L) white wire to the household white wire (neutral) using a wire connecting nut (BB).
- Secure each wire connecting nut using electrical tape.

- Outlet Box
- Green (or Bare)
- Green
- White
- Black
- Receiver Antenna
- Receiver (L)
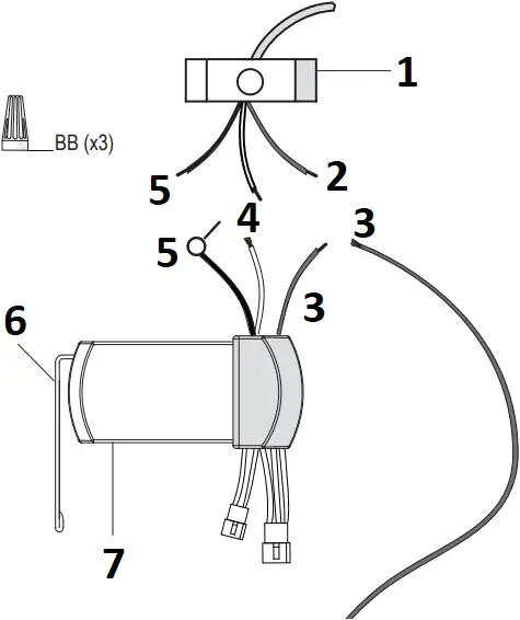
5 Wiring the fan to the receiver
NOTE: The fan comes with 12 in. lead wires for use with the provided 6 in. ball downrod assembly (B). If you wish to use a longer downrod, attach the 3-pin extension wire (N) and 2-pin extension wire (O) to the fan by connecting the molded adaptor plugs from the extension wires to the 3-pin and 2-pin adaptor plugs from the fan.
- If using the 6 in. ball downrod assembly (B) provided, wire the receiver to the fan wires by connecting the molded adaptor plug from the receiver (L) with the molded adaptor of the fan motor assembly (E) together.
- If you wish to use longer downrod, you can use the extension lead wire (66 in.) (N) and (O) provided by connecting the molded adaptor together.

- Outlet box in the ceiling (MM)
- Green
6 Mounting the fan-motor assembly (standard mount)
WARNING: When using the standard ball/downrod mounting, the tab in the ring at the bottom of the mounting bracket must rest in the groove of the hanger ball. Failure to properly seat the tab in the groove could cause damage to the wiring.
NOTE: The magnet is pre-attached on the canopy bottom cover for you to remove and install easily.
- Align the locking slots of the canopy (C) with the two screws (SS) and alignment post (LL) in the mounting bracket (A).
- Push up the canopy (C) and turn it clockwise until the alignment post (LL) engages to the round hole and the screws (SS) engage to the key slots.
- Firmly tighten the two mounting screws (SS).
- Align the oval shape on the canopy (C) with canopy bottom cover (II). Push up the canopy bottom cover (II) until the screw (SS) heads engage to the slots on the canopy bottom cover (II) so that the magnetic canopy bottom cover (II) can be attached to the bottom of the canopy (C) properly.

Assembly – Attaching the Final Blade Assembly
1 Attaching the final blade assembly to the motor
- Attach the blade assembly to the motor assembly (E) by aligning the screw holes on the blade arm (F) with the screw holes on the bottom of the fan motor assembly (E).
- Insert the screws (EE) into the holes on the blade arm (F) and through the holes on the bottom of the fan motor assembly (E), and tighten each screw to secure the blade assembly.


2 Attaching the final decorative frame
- Attach the decorative frame (I) to the blade assembly by aligning the two posts of the decorative frame with the two holes in the blade. Secure the decorative frame to the blade using the decorative frame screws (FF). Insert the decorative frame screws (FF) through the two holes in the blade arm (F) and screw them into the posts of the decorative frame (I). Align the hole in the tab at the end of the decorative frame (I) with the frame brace on the side edge of the blade arm (F) and secure using a frame brace screw (GG). Make sure all screws are completely tightened.
- Once all of the decorative frame pieces are installed, completely tighten all of the blade arm screws (EE) to secure the blade assemblies to the fan.

Assembly – Attaching the Light Kit
1 Attaching the light kit assembly
- Remove one screw (TT) from the support plate, and loosen, but do not remove, the other two screws.
- Connect the wires from the light kit assembly (J) to the wires from the fan motor assembly (E) by connecting the molded adaptor plugs together. Carefully tuck all wires and splices into the switch cup.
- Push the light kit assembly (J) up to the support plate so that the two loosened screw heads fit into the keyhole slots. Turn the light kit fitter assembly (J) clockwise to secure.
- Re-install the screw (TT) that was removed in the first step.
- Make sure all the screws are firmly tightened.

2 Attaching the light kit pan and shade assembly
WARNING: Do not overtighten when installing the light kit pan and shade assembly. Allow the glass shade assembly to cool completely before removing.
- Place the light kit pan and shade assembly (K) into the light kit assembly (J), aligning the three flat areas on the top of the flange of the glass shade (K) with the three raised dimples in the light kit assembly (J).
- Turn the glass shade clockwise until it stops.

Preparing the Remote Control
1 Preparing the remote control
NOTE: The remote control has already been paired to the ceiling fan for your convenience. If you have two of the same model fans in your home, please follow the steps below to control each fan independently.
NOTE: The remote control battery will weaken with age and should be replaced before leaking takes place, as this will damage the remote control. Dispose of used battery properly and keep the battery out of the reach of children.
- Remove the battery cover by pressing firmly on the arrow and sliding the cover off.
- Install two 1.5V AAA batteries (P) (included).
- Slide the dip switch in the battery compartment to the “1” setting.
- Confirm that the power to the fan is off at either the wall switch or breaker box.
- Return power to the fan at the wall switch or breaker box.
- Press and release the “Learn” button located in the remote’s battery compartment within 30 seconds of turning on the power.
- If pairing is successful, the fan’s light kit will flash and the blades will begin to spin.
- Replace the battery cover on the remote control.

Assembly – Attaching the Accessories
Mounting the remote control holder
NOTE: Screw wall anchors are included for extra support. The included screws are designed to screw easily into the wall. If you would like a more permanent or secure hold, install the wall anchors prior to attaching the wall cradle to the wall.
- Slide the screw cover plate up to remove it from the wall cradle.
- Position the wall cradle in the desired position and attach it to the wall using the included wall cradle screws.
- Slide the screw cover plate back onto the wall cradle to conceal the screws.

- Screw cover plate
Operating Your Fan and Remote Control
POWER ON/OFF
Press and release the power button to turn the fan and light on or off.
NOTE: On start up your ceiling fan will oscillate back and forth. This is NORMAL OPERATION for DC ceiling fans as it goes through its calibration cycle. The fan is NOT DEFECTIVE.
NOTE: The remote receiver includes a memory function that will return the fan to its last setting when turned on via the power button.
FAN SPEED
LEDs on the fan speed button will illuminate to the corresponding speed.
Press and release 1 time: turns the fan speed to 5.
Press and release 2 times: turns the fan speed to 4.
Press and release 3 times: turns the fan speed to 3.
Press and release 4 times: turns the fan speed to 2.
Press and release 5 times: turns the fan speed to 1.
Press and release 6 times: turns the fan off.
LIGHT ON/OFF/DIMMING
Press and release the button to turn the light on or off.
Press and hold the button to activate the dimmer function.
CORRELATED COLOR TEMPERATURE (CCT) CHANGING
NOTE: The default temperature of the ceiling fan light is 3000K (Soft White).
Push and release the button to cycle through the six color temperature options.
Option 1: 2700K (Warm White).
Option 2: 3000K (Soft White).
Option 3: 3500K (Neutral White).
Option 4: 4000/4100K (Cool White).
Option 5: 5000K (Daylight).
Option 6: 6500K (Cool Daylight).
FAN REVERSE
Press and release the power button to reverse the rotation of your ceiling fan.
NOTE: Do not wait for the fan to stop before pressing the reverse button. The fan will not reverse direction if the fan is not moving.
A. Warm weather (Forward) – A downward airflow creates a cooling effect. This allows you to set your air conditioner on a higher setting without affecting your comfort.
B. Cool weather (Reverse) – An upward airflow moves warm air off of the ceiling. This allows you to set your heating unit on a lower setting without affecting your comfort.

- Power
(fan and light on/off) - Fan speed
- Light on/off/dimming
- CCT changing
- Fan reverse
A. Warm weather

B. Cool weather

Care and Cleaning
WARNING: Make sure the power is off before cleaning your fan.
- Because of the fan’s natural movement, some connections may become loose. Check the support connections, brackets, and blade attachments twice a year. Make sure they are secure. It is not necessary to remove the fan from the ceiling.
- Clean your fan periodically to help maintain its new appearance over the years. Do not use water when cleaning, as this could damage the motor, or the wood, or possibly cause an electrical shock. Use only a soft brush or lint-free cloth to avoid scratching the finish.
- You can apply a light coat of furniture polish to the wood for additional protection and enhanced beauty. Cover small scratches with a light application of shoe polish.
- You do not need to oil your fan. The motor has permanently-lubricated sealed ball bearings.
Troubleshooting
| Problem | Solution |
| The fan will not start. |
|
| The fan is noisy. |
|
| The fan wobbles. |
|
| The fan moves backwards and forwards when turned on. |
|
FCC Statement: This equipment has been tested and found to comply with the limits for a Class B digital device, pursuant to Part 15 of the FCC Rules. These limits are designed to provide reasonable protection against harmful interference in a residential installation. This equipment generates, uses and can radiate radio frequency energy and, if not installed and used in accordance with the instructions, may cause harmful interference to radio communications. However, there is no guarantee that interference will not occur in a particular installation. If this equipment does cause harmful interference to radio or television reception, which can be determined by turning the equipment off and on, the user is encouraged to try to correct the interference by one or more of the following measures:
- Reorient or relocate the receiving antenna.
- Increase the separation between the equipment and receiver.
- Connect the equipment into an outlet on a circuit different from that to which the receiver is connected.
- Consult the dealer or an experienced radio/TV technician for help.
CAUTION: Any changes or modifications not expressly approved by the grantee of this device could void the user’s authority to operate the equipment.
This device complies with Part 15 of the FCC Rules. Operation is subject to the following two conditions: (1) This device may not cause harmful interference, and (2) this device must accept any interference received, including interference that may cause undesired operation.

Questions, problems, missing parts? Before returning to the store,
call Home Depot Customer Service
8 a.m. – 7 p.m., EST, Monday-Friday, 9 a.m. – 6 p.m., EST, Saturday.
1-800-986-3460
HOMEDEPOT.COM/HOMEDECORATORS
Retain this manual for future use.

















