Pia Ricco 1JAY-50336BN 6 Bulb Antique Brushed Nickle Farmhouse Lantern Metal Pendant

CAUTION!
- Inspect the wire insulation for any cuts, abrasions, or exposed copper that may have resulted during shipping. If there is a defect in the wire, do not attempt installation.
- Before starting installation of this fixture or removal of a previous fixture, disconnect the power by turning off the circuit breaker or by removing the fuse at the fuse box.
TOOLS REQUIRED
- Ladder

- Safety glasses

- Electrical tape

- Phillips screwdriver

- Flat blade screwdriver

- Pliers

- Wire strippers

HARDWARE INCLUDED
- Fixture

- Iron Rack

- Ball Nuts

- Chain

- Canopy

- Screw Collar Ring

- Mounting Unit

- Mounting Screws

- Wire Nuts

*PARTS SHOWN MAY DIFFER SLIGHTLY PER LIGHT FIXTURE
EXPLODED PARTS

INSTALLATION
STEP 1
Attach the iron rack onto fixture using ball nuts.
STEP 2
Attach the end of the chain to the loop on the fixture.
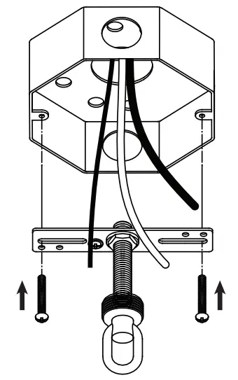
STEP 3
Use the mounting screws to attach the mounting unit to the junction box (not included).
STEP 4
Pass the chain and the branch wires through the screw collar ring and canopy. Feed the branch wires through the pipe nipple on the mounting unit and attach the end of the chain to the mounting unit.
STEP 5
Make the electrical connection from the junction box to the fixture. Connect the ground wire to the mounting unit using the preinstalled green ground screw. Then, connect the positive, negative and ground wires with the supplied wire nuts. Secure with electrical tape
STEP 6
Secure the canopy to the mounting unit with the screw collar ring.
STEP 7
Install bulbs (not included)






























