QAZQA 92437 Facil HL 3 Industrial Pendant Lamp


PRODUCT DESCRIPTION

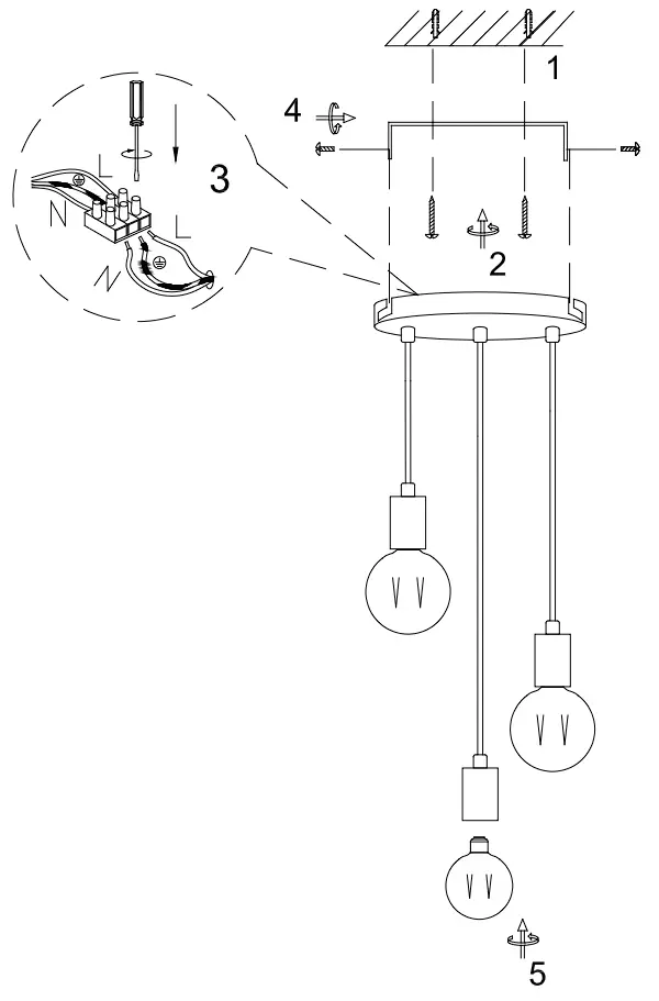
DIMENSIONS

SAFETY INSTRUCTION
Please study the instruction manual and below information carefully before installing or using this product. Please keep this user manual for further reference.
- The luminaires may only be installed by authorized and qualified technicians according the valid regulations for electrical installation.
- Maintenance of the luminaires is limited to their surfaces. During maintenance no moisture can come into contact with any areas of the terminal connections or voltage control par ts.
- The electrical supply must be switched off at the outset, preferably by means of a switch in the distribution box, before any installation, maintenance or repair work is undertaken.
- Exterior lighting must not be installed during rain.
- Take account of the minimal separation distance from other objects and the room required around the fitting.
- If in any doubt, consult a professional, taking local installation requirements into account. Some countries stipulate that lighting may be installed only by registered installers.
- Clamping screws in electrical connections must be adequately tightened. This is particularly the case with 12V low voltage conductors.
- When replacing a halogen lamp, wait for it to cool, for a minimum of 5 minutes.
- Clean with a clean, dry cloth or brush, use no solvents or abrasives. Avoid dampness on all electrical components
- Take account of all available technical information.
- Take note of the symbols when connecting wires:
N =Neutral L =Live
=Earth - Meaning of symbols:

For indoor use only, where direct contact with water is impossible 
This icon indicates the level of water-proof and dust-proof 
Protection Class I: the fitting must be earthed 
Protection Class II: the fitting is doubled insulated and does not require earthing 
Protection Class III: the fitting is low voltage 
Minimum distance from lighted objects (meters) 
Only the self-shielded halogen lamp should be used with the luminaire 
Strip the wire to the indicated length (mm) 
Connect using the specified cable 
The luminaire is suitable for direct mounting on normal inflammable surface 
The type of lamp and maximum size and wattage indicated in each lighting unit must not be exceed 
The armature is designed to work only with the indicated voltage. Different items require different working voltage. 
The luminaire can be used in combination with a dimmer 
The reference light angle and light space of the luminaire 
This luminaire cannot be disposed together with normal domestic waste in standard rubbish can, but you have to bring it to a staging area for electrical waste



































