QAZQA Pallon HL 35 Pendant Lamp

FEATURE

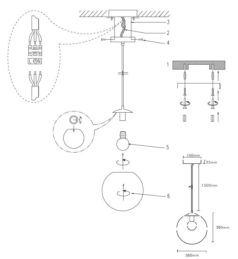
INSTALLATION

SAFETY INSTRUCTION
Please study the instruction manual and the below information carefully before installing or using this product. Please keep this user manual for further reference.
- The luminaires may only be installed by authorized and qualified technicians according to the valid regulations for electrical installation.
- Maintenance of the luminaires is limited to their surfaces. During maintenance, no moisture can come into contact with any areas of the terminal connections or voltage control parts.
- The electrical supply must be switched off at the outset, preferably by means of a switch in the distribution box, before any installation, maintenance or repair work is undertaken.
- Exterior lighting must not be installed during rain.
- ake account of the minimum separation distance from other objects and the room required around the fitting.
- I in any doubt, consult a professional, taking local installation requirements into account. Some countries stipulate that lighting may be installed only by registered installers.
- Clamping screws in electrical connections must be adequately tightened. This is particularly the case with 12V low-voltage conductors.
- When replacing a halogen lamp, wait for it to cool, tor a minimum of 5 minutes.
- Clean with a clean, dry cloth or brush, Use no solvents or abrasives. Avoid dampness on all electrical components
- Take account of all available technical information.
- Take note of the symbols when connecting wires:
- N =Neutral
- L =Live
- =Earth
- Meaning of symbols:

- For indoor use only, where direct contact with water is impossible
- This icon indicates the level of water-proof and dust-proof
- Protection Class I: the fitting must be earthed
- Protection Class l: the fitting is doubled insulated and does not require earthing
- Protection Class Il: the fitting is low voltage
- Minimum distance from lighted objects (meters)
- Only the self-shielded halogen lamp should be used with the luminaire
- Strip the wire to the indicated length (mm); different items require different length
- Connect using the specified cable; different items require different cables
- The type of lamp and maximum size and wattage indicated in each lighting unit must not be exceeded; different items require different kinds of light sources with different bulb icons
- The armature is designed to work only with the indicated voltage. Different items require different working voltages.
- The luminaire can be used in combination with a dimmer
- The reference light angle and light space of the luminaire
- This luminaire cannot be disposed of together with normal domestic waste in standard rubbish can, but you have to bring it to a staging area for electrical waste.
Set up in 4 easy steps
Before you start write down your network name & password.
Note: this item only works on a 2,4GHz Wifi network, not on a 56Hz WiFi network. Please consult the manual of your router for settings
- Download the Calex Smart app from the Google Play store, or the Apple Store or scan the QR code.

- Open the app. First-time user? Follow the on-screen instructions to create your account. To add this device start by touching add device () and follow the on-screen instructions.

- Turn the device on. The lamp will start flashing. (if the lamp or device does not start flashing, switch it on and off 3 times. This will reset the lamp or device.
- Follow the on-screen prompts to finish the installation.
- if you get the notification the product only works on 2,4GHz networks you should change the WiF frequency of your network to 2,4GHz only in the setting menu of the router.




















