TRIO 310630354 ROBIN Pendant Lamp

WARNING
Before assembling, please read carefully the safety instructions
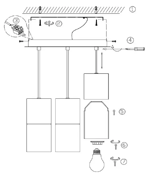
INSTALLATION 
FEATURE
SPECIFICATION

TRIO Leuchten GmbH TRIO International GmbH Gut Nierhof 17 D-59757 Arnsberg www.trio-lighting.com
TRIO Leuchten GmbH | Gut Nierhof 17 | D-59757 Arnsberg | www.trio-lighting.com
























