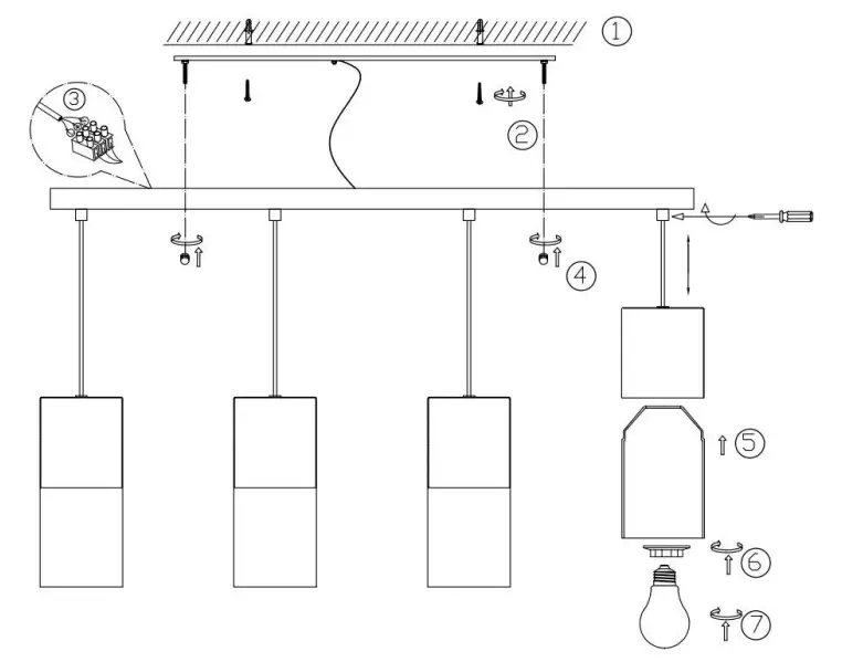
310600454 Robin Hanging Ceiling Lamp
Instructions
310600454 Robin Hanging Ceiling Lamp
WARNING!
Before assembling, please read carefully the safety instructions!
230V ~ 50Hz, 4 x E27 / max. 28W
![]()
TRIO Leuchten GmbH | Gut Nierhof 17 | D-59757 Arnsberg | www.trio-lighting.com
TRIO International GmbH
Gut Nierhof 17
D-59757 Arnsberg
www.trio-lighting.com
WEEE-Reg. Nr.: DE78273666
TRIO Lighting Italia s.r.l.: RAEE IT13020000007829
Developed in Germany by
Made in PRC


















