TRIO LIGHTING 676240406 Ceiling Lamp

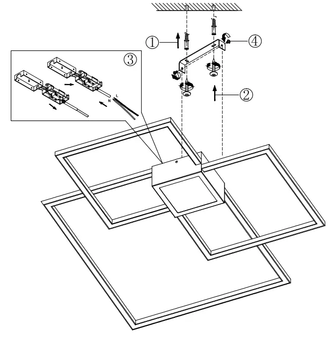
Instructions
Specifications

This product contains light source(s) of energy efficiency class
WARNING!
Before assembling, please read carefully the safety instructions
Contact Us
- TRIO International GmbH
- Gut Nierhof 17
- D-59757 Arnsberg
- www.trio-lighting.com























