TRIO LIGHTING 615900242 Ceiling Lamp

WARNING!
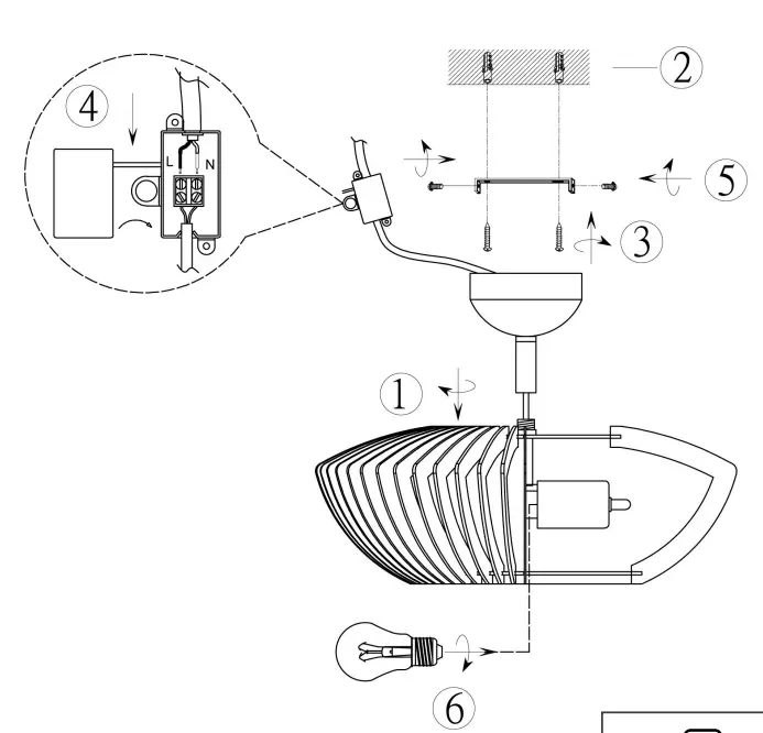
Before assembling, please read carefully the safety instructions!
INSTALLATION INSTRUCTIONS

D-59757 Arnsberg
www.trio-lighting.com


WARNING!
Before assembling, please read carefully the safety instructions!

D-59757 Arnsberg
www.trio-lighting.com
Download manual
Here you can download full pdf version of manual, it may contain additional safety instructions, warranty information, FCC rules, etc.