Nino LIGHTING 30990108 Ando Pendant Lamp Instructions
WARNING! Before assembling, please read carefully the safety instructions!
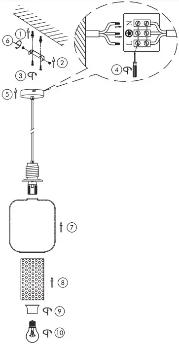
Installation

Nino Leuchten GmbH:
Nino Leuchten GmbH, Haferybhde 7, 59475 Werl, Germany
Tel.: +49 (0) 2922-9273-500,
Fax: +49 (0) 2922-9273-505
E-Mail: [email protected] – www.nino-leuchten.de



















