ORIGINAL LEG PRESS HACK SQUAT
F-MLPHS-V2
OWNERS MANUAL
PARTS LIST
| KEY NUMBER | DESCRIPTION OF PART | QUANTITY |
| 1 | Ground Tube-Right | 1 |
| 2 | Ground Link Tube | 1 |
| 3 | Front Ground Tube | 1 |
| 4 | Big Flat Washer φ30*10*3 | 48 |
| 5 | Flat Washer 10 | 86 |
| 6 | Lock Nut M10 | 46 |
| 7 | Hexagon Bolt M10*120 | 12 |
| 8 | Ground Tube-Left | 1 |
| 9 | Fixing Plate | 4 |
| 10 | Back Support Tube | 1 |
| 11 | Back Support Tube-Left | 1 |
| 12 | Hexagon Bolt M10*70 | 30 |
| 13 | Hexagon Bolt M10*115 | 2 |
| 14 | Inclined Tube Assembly Part | 1 |
| 15 | Spring Washer φ10 | 38 |
| 16 | Hexagon Bolt M10*20 | 34 |
| 17 | Inclined Tube-Right Assembly Part | 1 |
| 18 | Guide Rod Down Fixed Tube Assembly Part | 1 |
| 19 | Guide Rod Fixed Tube Assembly Part | 1 |
| 20 | Slide Rod Assembly Part | 2 |
| 21 | Slide Frame Assembly Part | 1 |
| 22 | Limit Rod Assembly Part | 1 |
| 23 | 100*130*4 Link Plate | 4 |
| 24 | Hexagon Bolt M10*30 | 8 |
| 25 | Leg Press Adjust Outer Tube Assembly Part | 1 |
| 26 | Feet Plate | 1 |
| 27 | Leg Press Adjust Tube Assembly Part | 1 |
| 28 | Internal Thread Axle φ15.9*135 | 2 |
| 29 | Flat Washer ¢12 | 14 |
| 30 | Lock Nut M12 | 6 |
| 31 | Hexagon Bolt M12*80 | 2 |
| 32 | T Shape Pin | 1 |
| 33 | Limit Frame Assembly Part | 2 |
| 34 | Spring | 2 |
| 35 | Hexagon Socket Button Head Screws M10*20 | 4 |
| 36 | Up Feet Plate Assembly Part | 1 |
| 37 | Regulating Fixing Tube Assembly Part | 1 |
| 38 | Shoulder Pads Frame-Right Assembly Part | 1 |
| 39 | Barbell Plate Holder Frame | 1 |
| 40 | Hexagon Bolt M10*65 | 2 |
| 41 | Hexagon Bolt M10*115 | 2 |
| 42 | Shoulder Pads Frame-Left Assembly Part | 1 |
| 43 | Hexagon Bolt M12*75 | 4 |
| 44 | Hexagon Bolt M12*65 | 2 |
| 45 | Lifting Frame Assembly Part | 1 |
| 46 | Barbell Inner Rod | 1 |
| 47 | Barbell Plate Holder | 2 |
| 48 | Hexagon Socket Button Head Screws M8*20 | 2 |
| 49 | Barbell Plate Holder | 4 |
| 50 | Spring Collar | 8 |
| 51 | Back Pad | 1 |
| 52 | Shoulder Pad | 2 |
| 53 | Flat Washer φ8 | 8 |
| 54 | Hexagon Bolt M8*70 | 4 |
| 55 | Seat Pad | 1 |
| 56 | Hexagon Bolt M8*45 | 4 |
| 57 | Band Peg | 2 |
| 58 | Feet Brick Frame | 1 |
| 59 | T Shape Pin | 1 |
| 60 | Big Flat Washer φ25φ*10*2 | 8 |
| 61 | Internal Thread Axle φ15.9*120 | 2 |
| 62 | Handle Tube | 2 |
| 63 | Tube Plug 50*100*2 | 2 |
| 64 | Two Layer Spring Nut φ23-M8 | 2 |
| 65 | Tube Plug φ60*60*2 | 1 |
| 66 | Tube Plug φ25*25*1.5 | 4 |
| 67 | Roller ¢59 | 8 |
| 68 | Internal Thread Axle φ17*81-M10 | 8 |
| 69 | Bearing 6003 | 6 |
| 70 | Plug 50*70*2 | 4 |
| 71 | Pull Pin | 1 |
| 72 | Stainless Steel Rod φ50*0.8 | 1 |
| 73 | Tube Cover φ30*φ25″50 | 1 |
| 74 | Tube Plug φ50*50*2 | 3 |
| 75 | Tube Plug φ45*45*2 | 5 |
| 76 | Handle Cover φ24.5*280 | 1 |
| 77 | Round Plug φ25*2 | 1 |
| 78 | Tube Plug φ25*25*1.5 | 2 |
| 79 | φ50*345 Stainless Steel Tube φ49.5*6 | 2 |
| 80 | φ48*344 Inner Tube φ48*1.5 | 2 |
| 81 | End Cap φ50%¢44.8*925.5 | 2 |
| 82 | Middle Cap φ70*φ44.8*φ25.5*30 | 2 |
| 83 | Hexagon Socket Button Head Screws M8*20 | 2 |
| 84 | Handle Cover φ32*310 | 2 |
| 85 | Retaining Ring φ31.5*φ25.5 | 2 |
| 86 | Cross Recessed Countersunk Head Screw M8*25 | 2 |
| 87 | Back Pad Fixing Plate | 1 |
| 88 | Cross Recessed Countersunk Head Screw M8*20 | 4 |
| 89 | Anti-Slip Sheet | 2 |
| 90 | Flat Round Head Blind Rivet 4*10 | 6 |
| 91 | Two Layer Spring Nut φ39-M10 | 2 |
ASSEMBLY STEP 1

| KEY NUMBER | DESCRIPTION OF PART | QUANTITY |
| 1 | Ground Tube-Right | 1 |
| 2 | Ground Link Tube | 1 |
| 3 | Front Ground Tube | 1 |
| 4 | Big Flat Washer φ30*¢10*3 | 8 |
| 5 | Flat Washer φ10 | 20 |
| 6 | Lock Nut M10 | 14 |
| 7 | Hexagon Bolt M10*120 | 8 |
| 8 | Ground Tube-Left | 1 |
| 9 | Fixing Plate | 2 |
| 10 | Back Support Tube | 1 |
| 11 | Back Support Tube-Left | 1 |
| 12 | Hexagon Bolt M10*70 | 4 |
| 13 | Hexagon Bolt M10*115 | 2 |
ASSEMBLY DRAWING

ASSEMBLY STEP 1INSTRUCTIONS
- Link front ground tube-3, ground tube-right-1and ground tube-left-8 use M10*120 hexagon bolt-7, φ30*φ10*3 big at washer-4, φ10 at washer-5 and M10 lock nut-6.
- Link ground link tube-3, ground tube-right-1and ground tube-left-8 use M10*120 hexagon bolt-7, 30%φ10*3 big at washer-4, φ10 at washer-5 and M10 lock nut.
- Fix back support tube-left-11 on ground tube-left-8 use M10*115 hexagon bolt-13, 10 at washer-5, M10 lock nut-6 and fixing plate-9.
- Fix back support tube-10 on ground tube-left-8 use M10*115 hexagon bolt-13, φ10 at washer-5, M10 lock nut-6 and fixing plate-9.
ASSEMBLY STEP 2

| KEY NUMBER | DESCRIPTION OF PART | QUANTITY |
| 4 | Big Flat Washer φ30*φ10*3 | 6 |
| 5 | Flat Washer φ10 | 12 |
| 6 | Lock Nut M10 | 6 |
| 7 | Hexagon Bolt M10*120 | 4 |
| 9 | Fixing Plate | 2 |
| 12 | Hexagon Bolt M10*70 | 2 |
| 14 | Inclined Tube Assembly Part | 1 |
| 15 | Spring Washer φ10 | 6 |
| 16 | Hexagon Bolt M10*20 | 6 |
| 17 | Inclined Tube-Right Assembly Part | 1 |
ASSEMBLY DRAWING

| KEY NUMBER | DESCRIPTION OF PART | QUANTITY |
| 5 | Flat Washer φ10 | 2 |
| 16 | Hexagon Bolt M10*20 | 2 |
| 62 | Handle Tube | 1 |
| 63 | Tube Plug 50*100*2 | 1 |
| 91 | Two Layer Spring Nut φ29-M10 | 2 |
ASSEMBLY DRAWING

ASSEMBLY STEP 2 INSTRUCTIONS
- Fixinclined tube assembly part-14 and inclined tube-right assembly part-17 on main frame use M10*120 hexagon bolt-7, φ30*φ10*3 big flat washer-4, 910 flat washer-5 and M10 lock nut-6, fixing plate-9, M10*20 hexagon bolt-16 and φ10 spring washer-15.
ASSEMBLY STEP 3

| KEY NUMBER | DESCRIPTION OF PART | QUANTITY |
| 4 | Big Flat Washer ¢30*¢10*3 | 4 |
| 5 | Flat Washer ¢10 | 32 |
| 6 | Lock Nut M10 | 16 |
| 12 | Hexagon Bolt M10*70 | 6 |
| 15 | Spring Washer ¢10 | 4 |
| 18 | Guide Rod Down Fixed Tube Assembly Part | 1 |
| 19 | Guide Rod Fixed Tube Assembly Part | 1 |
| 20 | Slide Rod Assembly Part | 2 |
| 21 | Slide Frame Assembly Part | 1 |
| 22 | Limit Rod Assembly Part | 1 |
| 23 | 100*130*4 Link Plate | 4 |
| 24 | Hexagon Bolt M10*30 | 4 |
ASSEMBLY DRAWING

| KEY NUMBER | DESCRIPTION OF PART | QUANTITY |
| 65 | Tube Plug φ80*60*2 | 1 |
| 66 | Tube Plug φ25°25*1.5 | 4 |

| KEY NUMBER | DESCRIPTION OF PART | QUANTITY |
| 4 | Big Flat Washer φ30*φ10*3 | 16 |
| 15 | Spring Washer φ10 | 18 |
| 16 | Hexagon Bolt M10*20 | 16 |
| 67 | Roller φ59 | 8 |
| 68 | Internal Thread Axle φ17*81-M10 | 8 |
| 69 | Bearing 6003 | 16 |
| 70 | Plug 50*70*2 | 2 |
| 71 | Pull Pin | 1 |
ASSEMBLY DRAWING

| KEY NUMBER | DESCRIPTION OF PART | QUANTITY |
| 72 | Stainless Steel Rod φ50*0.8 | 1 |

| KEY NUMBER | DESCRIPTION OF PART | QUANTITY |
| 73 | Tube Cover φ30*φ25*50 | 1 |
ASSEMBLY DRAWING

ASSEMBLY STEP 3 INSTRUCTIONS
- Fix guide rod down fixed tube assembly part-18 on main frame use M10*70 hexagon bolt-12, φ10 flat washer-6 and M10 lock nut-6 and 100*130*4 link plate.
- Fix slide rod assembly part-20 on guide rod down fixed tube assembly part-18 use M10*30 hexagon bolt-24, φ10 spring washer-15 and φ30*φ10*3 big flat washer-4.
- Put slide frame assembly part-21into slide rod assembly part-20.
- Fix guide rod fixed tube assembly part-19 on main frame use M10*70 hexagon bolt-12, φ10 flat washer-5 and M10 lock nut-8 and 100*130*4 link plate.
- Fix slide rod assembly part-20 on guide rod fixed tube assembly part-19 use M10*30 hexagon bolt-24, φ10 spring washer-15 and φ30*φ10*3 big flat washer-4.
ASSEMBLY STEP 4

| KEY NUMBER | DESCRIPTION OF PART | QUANTITY |
| 15 | Spring Washer φ10 | 4 |
| 16 | Hexagon Bolt M10*20 | 4 |
| 25 | Leg Press Adjust Outer Tube Assembly Part | 1 |
| 26 | Feet Plate | 1 |
| 27 | Leg Press Adjust Tube Assembly Part | 1 |
| 28 | Internal Thread Axle φ15.9*135 | 2 |
| 29 | Flat Washer φ12 | 4 |
| 30 | Lock Nut M12 | 2 |
| 31 | Hexagon Bolt M12*80 | 2 |
| 32 | T Shape Pin | 1 |
| 33 | Limit Frame Assembly Part | 2 |
| 34 | Spring | 2 |
| 35 | Hexagon Socket Button Head Screws M10*20 | 4 |
| 80 | Big Flat Washer φ25*φ10*2 | 4 |
ASSEMBLY DRAWING

| KEY NUMBER | DESCRIPTION OF PART | QUANTITY |
| 74 | 74 Tube Plug φ50*50*2 1 | 1 |

| KEY NUMBER | DESCRIPTION OF PART | QUANTITY |
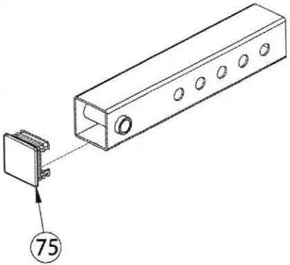
| 75 | Tube Plug φ45*45*2 | 4 |
ASSEMBLY DRAWING

| KEY NUMBER | DESCRIPTION OF PART | QUANTITY |
| 75 | Tube Plug φ45*45*2 | 4 |

| KEY NUMBER | DESCRIPTION OF PART | QUANTITY |
| 76 | Handle Cover φ24.5*280 | 1 |
| 77 | Round Plug φ25*2 | 1 |
ASSEMBLY DRAWING

ASSEMBLY STEP 4 INSTRUCTIONS
- Fixlimit frame assembly part-33 on main frame use spring-34 and M10*20 hexagon socket button head screws-35.
- Fixleg press adjust outer tube assembly part-25 on main frame use M12*80 hexagon bolt- 31, φ12 flat washer-29, M12 lock nut-30.
- Fix leg press adjust tube assembly part-27 on feet plate-26 use M12*80 hexagon bolt-31,φ12 flat washer-29, M12 lock nut-30.
- Fix feet plate-26 on main frame use M10*20 hexagon bolt-16, ¢10 spring washer-15, 25* φ10*2 big flat washer-60 and φ15.9*135 Internal thread axle.
- Link leg press adjust outer tube assembly part-26 and leg press adjust tube assembly part-27 use t shape pin-32.
ASSEMBLY STEP 5

| KEY NUMBER | DESCRIPTION OF PART | QUANTITY |
| 5 | Flat Washer φ10 | 14 |
| 6 | Lock Nut M10 | 6 |
| 12 | Hexagon Bolt M10*70 | 4 |
| 15 | Spring Washer φ10 | 4 |
| 16 | Hexagon Bolt M10*20 | 4 |
| 29 | Flat Washer φ12 | 10 |
| 30 | Lock Nut M12 | 4 |
| 36 | Up Feet Plate Assembly Part | 1 |
| 37 | Regulating Fixing Tube Assembly Part | 1 |
| 38 | Shoulder Pads Frame-Right Assembly Part | 1 |
| 39 | Barbell Plate Holder Frame | 1 |
| 40 | Hexagon Bolt M10*65 | 2 |
| 4 | Hexagon Bolt M10*115 | 2 |
| 42 | Shoulder Pads Frame-Left Assembly Part | 1 |
| 43 | Hexagon Bolt M12*75 | 4 |
| 44 | Hexagon Bolt M12*65 | 2 |
| 60 | Big Flat Washer φ25*¢10*2 | 4 |
| 61 | Internal Thread Axle φ15.9%120 | 2 |
ASSEMBLY DRAWING

| KEY NUMBER | DESCRIPTION OF PART | QUANTITY |
| 78 | Tube Plug φ25*25*1.5 | 2 |

| KEY NUMBER | DESCRIPTION OF PART | QUANTITY |
| 79 | φ50*345 Stainless Steel Tube φ49.5*6 | 2 |
| 80 | φ48*344 Inner Tube φ48*1.5 | 2 |
| 81 | End Cap φ50*¢44.8*φ25.5 | 2 |
| 82 | Middle Cap φ70*44.8*φ25.5*30 | 2 |
| 83 | Hexagon Socket Button Head Screws M8*20 | 2 |
ASSEMBLY DRAWING

| KEY NUMBER | DESCRIPTION OF PART | QUANTITY |
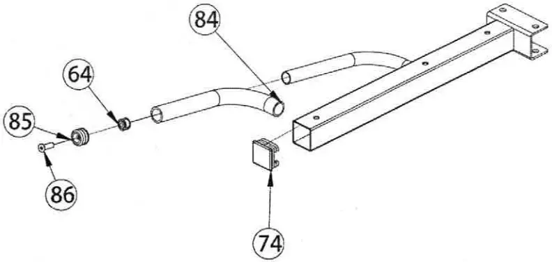
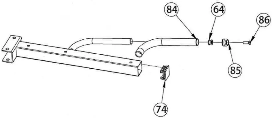
| 64 | Two Layer Spring Nut φ23-M8 | 1 |
| 74 | Tube Plug φ50*50*2 | 1 |
| 84 | Handle Cover φ32*310 | 1 |
| 85 | Retaining Ring φ31.6*φ25.5 | 1 |
| 86 | Cross Recessed Countersunk Head Screw M8*26 | 1 |

| KEY NUMBER | DESCRIPTION OF PART | QUANTITY |
| 64 | Two Layer Spring Nut φ23-M8 | 1 |
| 74 | Tube Plug φ50*50*2 | 1 |
| 84 | Handle Cover φ32*310 | 1 |
| 85 | Retaining Ring φ31.5*φ25.5 | 1 |
| 86 | Cross Recessed Countersunk Head Screw M8*26 | 1 |
ASSEMBLY DRAWING

ASSEMBLY STEP 5 INSTRUCTIONS
- Fix shoulder pads frame-left assembly part-42 and shoulder pads frame-right assembly part- 38 on main frame use M12*75 hexagon bolt-43, φ12 flat washer-29, M12 lock nut-30 and M12*65 hexagon bolt-44.
- Fix barbell plate holder frame-39 on main frame use M10*65 hexagon bolt-40, M10*115 hexagon bolt-41, φ10 flat washer-5 and M10 lock nut-6.
- Fix barbell plate holder frame-39 on up feet plate assembly part-36 use M10*70 hexagon bolt-12, φ10 flat washer-5 and vM10 lock nut-6.
- Fix up feet plate assembly part-36 on main frame use M10*20 hexagon bolt-16, φ10 spring washer-15, 25*φ10*2 big flat washer-60 and φ15.9*120 Internal thread axle-61.
ASSEMBLY STEP 6

| KEY NUMBER | DESCRIPTION OF PART | QUANTITY |
| 4 | Big Flat Washer φ30%φ10*3 | 8 |
| 5 | Flat Washer φ10 | 4 |
| 6 | Lock Nut M10 | 4 |
| 12 | Hexagon Bolt M10*70 | 4 |
| 15 | Spring Washer φ10 | 4 |
| 24 | Hexagon Bolt M10*30 | 4 |
| 45 | Lifting Frame Assembly Part | 1 |
| 48 | Barbell Inner Rod | 1 |
| 47 | Barbell Plate Holder | 2 |
| 48 | Hexagon Socket Button Head Screws M8*20 | 2 |
| 49 | Barbell Plate Holder | 4 |
| 50 | Spring Collar | 8 |
ASSEMBLY DRAWING

ASSEMBLY STEP 6 INSTRUCTIONS
- Fix lifting frame assembly part-45 on frame use M10*70 hexagon bolt-12, φ10 flat washer- 5, φ30%φ10*3 big flat washer-4 and vM10 lock nut-6.
- Fix barbell inner rod-46 on lifting frame assembly part-45 use M8*20 hexagon socket button head screws-48 and barbell plate holder-47.
- Fix barbell plate holder-49 on main frame use M10*30 hexagon bolt-24, φ10 spring washer- 15 and φ30*φ10*3 big flat washer-4.
- Put spring collar on main frame.
ASSEMBLY STEP 7

| KEY NUMBER | DESCRIPTION OF PART | QUANTITY |
| 51 | Back Pad | 1 |
| 52 | Shoulder Pad | 2 |
| 53 | Flat Washer φ8 | 8 |
| 54 | Hexagon Bolt M8*70 | 4 |
| 55 | Seat Pad | 1 |
| 56 | Hexagon Bolt M8*45 | 4 |
| 57 | Band Peg | 2 |
| 58 | Feet Brick Frame | 1 |
| 59 | T Shape Pin | 1 |
ASSEMBLY DRAWING

| KEY NUMBER | DESCRIPTION OF PART | QUANTITY |
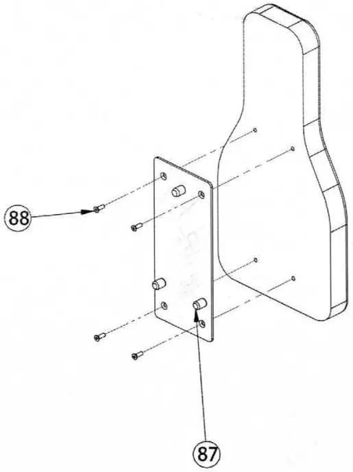
| 87 | Back Pad Fixing Plate | 1 |
| 88 | Cross Recessed Countersunk Head Screw M8*20 | 4 |

| KEY NUMBER | DESCRIPTION OF PART | QUANTITY |
| 70 | Plug 50*70*2 | 2 |
| 89 | Anti-Slip Sheet | 2 |
| 90 | Flat Round Head Blind Rivet 4*10 | 6 |
ASSEMBLY DRAWING

ASSEMBLY STEP 7 INSTRUCTIONS
- Fix seat pad-55 on main frame use M8*45 hexagon bolt-56 and φ8 flat washer-53.
- Fix shoulder pad-52 on main frame use M8*70 hexagon bolt-54 and φ8 flat washer-53.
- Put back pad-51on up feet plate assembly part-36.
- Put feet brick frame-58 on down feet plate-26 lock use φ12*70 t shape pin-59.
- Put band peg-57 on main frame.














