COSTWAY FH10024 Squat Machine

THIS INSTRUCTION BOOKLET CONTAINS IMPORTANT SAFETY INFORMATION. PLEASE READ AND KEEP FOR FUTURE REFERENCE
Please give us a chance to make it right and do better!
Contact our friendly customer service department for help first.
Replacements for missing or damaged parts will be shipped ASAP!
Contact Us!
Do NOT return this item.
Contact our friendly customer service department for help first.
WARNING:
- Please read all instructions carefully.
- Retain instructions for future reference.
- Separate and count all parts and hardware.
- Read through each step carefully and follow the proper order.
- We recommend that, where possible, all items are assembled near to the area in which they will be placed in use, to avoid moving the product unnecessarily once assembled.
- Always place the product on a flat, steady and stable surface.
- Keep all small parts and packaging materials for this product away from babies and children as they potentially pose a serious choking hazard.
PRODUCT ANALYSIS CHART

ASSEMBLY INSTRUCTION

INSTALLATION
Step (1) : Assembling the Bracket plate
- Load ⑥ – (foot sleeves) into ① (main frame).
- Install ②-(bracket connecting tube) into①(main frame), fix it to the appropriate hole position with ⑤ (elastic pull pin), and tighten and lock it.
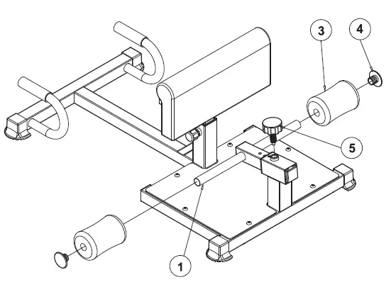
Step (2) Assemble foam and pipe plug
- Tighten ⑤ (elastic pull pin) to fix it to the correct hole position and lock.
- Insert ③( foam foot pad ) into hook tube on the ① (main frame) , and then install ④ (pipe plug) to hook tube on the ① (main frame) .
Welcome to visit our website and purchase our quality products!
With your inspiring rating, COSTWAY will be more consistent to offer you
EASY SHOPPING EXPERIENCE, GOOD PRODUCTS and EFFICIENT SERVICE!
US office: Fontana, California
UK office: Ipswich
- Reward Points
- Exclusive Customer Service
- Permanent Shopping Cart
- Order History




















