BEGA 51 275.4 Ceiling Luminaire for Indoor Use
Product Information
The product is a luminaire designed for lighting purposes. It is equipped with LED modules and has a rated temperature of 35°C. The luminaire has a connected wattage of 39W and a luminous flux of 3400 lm. It has a color temperature of 3000 K and a color rendering index (CRI) of over 90. The luminaire is designed to provide high-quality lighting with an efficiency of 87.2 lm/W.
The installation and operation of the luminaire must comply with national safety regulations. Only qualified electricians should carry out the installation and commissioning. The manufacturer is not liable for any damage caused by improper use or installation. Additional overvoltage protection components are recommended for enhanced protection against transients.
Product Usage Instructions
- Ensure that the luminaire is handled by a qualified electrician during installation and commissioning.
- Refer to the manufacturer’s website at www.bega.com for separate overvoltage protection components.
- Do not touch the light output opening of the LED directly during installation or relamping.
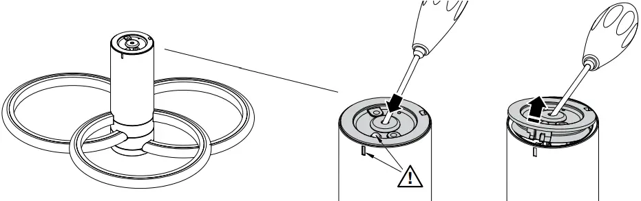
- Remove the earth conductor connection between the mounting plate and power supply unit before installation.
- Ensure sufficient installation clearance is provided for the luminaire on the ceiling.
- The axial mounting distance of the mounting plate to walls must be at least 230 mm.
- Pass the power connecting cable through the cable entry in the mounting plate.
- Fasten the mounting plate to the installation surface using the supplied fastening material or other suitable fastening material.
- Establish an earth conductor connection to the earth conductor connection screw and make the electrical connection to the terminals.
- Re-establish the earth conductor connection between the mounting plate and power supply unit.
- Insert the connection terminals into the luminaire housing.
- Ensure that the external marking on the upper edge of the luminaire housing aligns with the recess in the fastening edge of the mounting plate before installing the luminaire housing.
- To replace a LED module with a diffuser, open the luminaire housing on the underside.
- Release the metal discs inserted on the underside of the luminaire housing from the housing groove by applying slight pressure on the edge, and remove them against the magnetic force.
- Remove the LED module with the diffuser from the holder and install the replacement module.
- If the luminaire cover is defective, it must be replaced.
- Reinsert the previously removed metal disk into the magnetic housing recess on the underside.
Ceiling luminaire for indoor use
DIMENSIONS
Instructions for use
Application
- Ceiling luminaire: Indoor luminaire with 3 ring-shaped light sources for unshielded and uniform light, light-diffusing silicone diffusers and metal rings. As single luminaires or in arrangements, they are creative lighting design solutions for interior design.
Product description
- Ring made of metal and luminaire housing made of synthetic material, surface colour matt brass Round inlay made of metal, surface colour velvet white Diffusor made of translucent ageing-resistant silicone
- Mounting plate with 2 fixing holes ø 4.8 mm · 35 mm spacing Connecting terminals 1,5@
- Earth conductor terminal 2-pole connection terminals for digital control LED power supply unit
- 220-240 V x 0/50-60 Hz DC 196-250 V
- DALI-controllable
- Number of DALI addresses: 1
- Basic insulation is provided between the mains and control cables BEGA Thermal Control®
- Temporary thermal regulation to protect temperature-sensitive components without switching off the luminaire
- Safety class I
- Conformity mark
- Weight: 1.2 kg
This product contains light sources of energy efficiency class(es) D
Safety:
The installation and operation of this luminaire are subject to national safety regulations. Installation and commissioning may only be carried out by a qualified electrician.
The manufacturer accepts no liability for damage caused by improper use or installation. If subsequent modifications are made to
the luminaire, the person responsible for these modifications shall be considered the manufacturer.
Overvoltage protection:
The electronic components installed in the luminaire are protected against overvoltage in accordance with DIN EN 61547. To achieve an additional protection against e.g. transients, etc. we recommend separate overvoltage protection components.
You can find them on our website at www.bega.com.
Lamp
- Module connected wattage: 34.8 W
- Luminaire connected wattage: 39 W
- Rated temperature: ta = 25 °C
- Service life criteria: 50 000 h / L70
51 275.4 K3 - Module designation: LED-1413/930
- Colour temperature: 3000 K
- Colour rendering index: CRI > 90
- Module luminous flux: 5400 lm
- Luminaire luminous flux: 3400 lm
- Luminaire luminous efficiency: 87,2 lm / W
preliminary data
Installation
LED are high-quality electronic components! Please avoid touching the light output opening of the LED directly during installation or relamping.
HOW TO USE
- Remove the earth conductor connection (plug contact) between mounting plate and power supply unit.
- Please ensure that sufficient installation clearance is provided for the luminaire on the ceiling.

- The axial mounting distance of the mounting plate to walls must be at least 230 mm. Pass the power connecting cable through the cable entry in the mounting plate. Fasten the mounting plate with the supplied fastening material or other suitable fastening material to the installation surface.
- Establish earth conductor connection to the earth conductor connection screw and make the electrical connection to the terminals. Re-establish the earth conductor connection (plug contact) between mounting plate and power supply unit. Insert the connection terminals into the luminaire housing.
- IMPORTANT: Before installing the luminaire housing on the mounting plate, make sure that the external marking in the upper edge of the luminaire housing points to the recess in the fastening edge of the mounting plate.

- Position the luminaire housing in a flat inclination angle over the fastening edge of the mounting plate and swing in.
- Press the luminaire housing with ring seal firmly onto the mounting plate and tighten clockwise. The luminaire’s anti-twist device makes it possible to turn the luminaire housing between 25° and 340° in both directions on the mounting plate for alignment and fine adjustment.
Cleaning Maintenance
- Clean luminaire regularly with solvent-free cleansers from dirt.
Replacing the LED module
The designation of the LED module is noted on a label in the luminaire. The light colour and light output of BEGA replacement modules correspond to those of the modules originally fitted. The module can be replaced by qualified persons using standard tools. Disconnect the system from the power supply. Press the luminaire housing with ring seal firmly against the mounting plate and remove from the mounting plate by turning anti-clockwise past the resistance of the security stop. Loosen the connecting wires from the terminals and place the luminaire with the bottom side on a soft surface.
HOW TO FIX


- To replace a LED module with diffusor, it is necessary to open the luminaire housing on the underside.
- Release the metal discs inserted on the underside of the luminaire housing from the housing groove by applying slight pressure on the edge, and remove them against the magnetic force.

- Remove the LED module with the diffuser from the holder. Install the replacement module. A defective luminaire cover must be replaced. Reinsert the previously removed metal disk into the magnetic housing recess on the underside.
Spares
- LED power supply unit: DEV-0305/700i
- LED module 3000 K: LED-1413/930
- Round blank (inlay): 72 004 054 B1
BEGA Gantenbrink-Leuchten KG · Postfach 31 60 · 58689 Menden · [email protected] · www.bega.com

















