Electro-Vioce PXM-12MP-US 700 Watt 12inch Powered Coaxial Monitor

PXM‑12MP Powered Monitor
PXM‑12MP‑EU | PXM‑12MP‑US
Safety
Important safety instructions
![]() WARNING: TO REDUCE THE RISK OF FIRE OR ELECTRIC SHOCK, DO NOT OVEREXPOSE THIS APPLIANCE TO RAIN OR MOISTURE AVIS: RISQUE DE CHOC ELECTRIQUE, NE PAS OUVRIR. WARNING: THE MAINS PLUG OR AC INLET IS USED AS A DISCONNECT DEVICE. THE DISCONNECT DEVICE SHALL REMAIN READILY OPERABLE. WARNING: CONNECT ONLY TO MAINS SOCKET WITH PROTECTIVE EARTHING CONNECTION. WARNING: TO REDUCE THE RISK OF ELECTRIC SHOCK, DO NOT REMOVE COVER (OR BACK) AS THERE ARE NO USER-SERVICABLE PARTS INSIDE. REFER SERVICING TO QUALIFIED PERSONNEL. | ![]() | The lightning flash with arrowhead symbol, within an equilateral triangle is intended to alert the user to the presence of uninsulated “dangerous voltage” within the product’s enclosure that may be sufficient magnitude to constitute a risk of electric shock to persons. |
![]() | The exclamation point within an equilateral triangle is intended to alert the user to the presence of important operating and maintenance (servicing) instructions in the literature accompanying the appliance. | |
![]() | The asterisk within an equilateral triangle is intended to inform the user to necessary installation or removal instructions regarding equipment or hardware use relating to the system. |
- Read these instructions.
- Protect the power cord from being walked on or pinched particularly at plugs, convenience receptacles, and the point where they exit from the apparatus.
- Only use attachments/accessories specified by the manufacturer.
- Use only with the cart, stand, tripod, bracket, or table specified by the manufacturer, or with the apparatus. When a cart is used, use caution when moving the cart/apparatus combination to avoid injury from tip-over.
- Unplug the apparatus during lightning storms or when unused for long periods of time.
- Refer all servicing to qualified service personnel. Servicing is required when the apparatus has been damaged in any way, such as power-supply cord or plug is damaged, liquid has been spilled or objects have fallen into the apparatus, the apparatus has been exposed to rain or moisture, does not operate normally, or has been dropped.
- Keep these instructions.
- Heed all warnings.
- Follow all instructions.
- Do not use this apparatus near water.
- Clean only with a dry cloth.
- Do not block any ventilation openings. Install in accordance with the manufacturer’s instructions.
- Do not install near any heat sources such as radiators, heat registers, stoves, or other apparatus (including amplifiers) that produce heat.
- Do not defeat the safety purpose of the polarized or grounding-type plug. A polarized plug has two blades with one wider than the other. A grounding type plug has two blades and a third grounding prong. The wide blade or the third prong is provided for your safety. If the provided plug does not fit into your outlet, consult an electrician for replacement of the obsolete outlet.
- No naked flame sources, such as lighted candles, should be placed on the apparatus.
- Minimum 60 cm (2 ft) distances around the apparatus for sufficient ventilation.
- The ventilation should not be impeded by covering the ventilation openings with items, such as newspapers, table-cloths, curtains, etc.
- To completely disconnect AC power from this apparatus, the power supply cord must be unplugged.
- To reduce the risk of fire or electric shock, do not expose this apparatus to rain or moisture. The apparatus should not be exposed to dripping or splashing. Objects filled with liquids, such as vases should not be placed on apparatus.
FCC information
FCC suppliers Declaration of Conformity
| F.01U.362.554 | PXM-12MP | 12” powered coaxial monitor, US, black |
Compliance statement
This device complies with part 15 of the FCC rules. Operation is subject to the following two conditions:
- This device may not cause harmful interference, and
- This device must accept any interference received, including interference that may cause undesired operation.
Responsible party
Bosch Security Systems, LLC
130 Perinton Parkway
14450 Fairport, NY, USA
www.boschsecurity.us
Changes or modifications not expressly approved by the party responsible for compliance could void the user’s authority to operate the equipment.
Note: This equipment has been tested and found to comply with the limits for a Class B digital device, pursuant to Part 15 of the FCC Rules. These limits are designed to provide reasonable protection against harmful interference in a residential installation. This equipment generates, uses, and can radiate radio frequency energy and, if not installed and used in accordance with the instructions, may cause harmful interference to radio communications. However, there is no guarantee that interference will not occur in a particular installation. If this equipment does cause harmful interference to radio or television reception, which can be determined by turning the equipment off and on, the user is encouraged to try to correct the interference by one or more of the following measures:
- Reorient or relocate the receiving antenna.
- Increase the separation between the equipment and receiver.
- Connect the equipment into an outlet on a circuit different from that to which the receiver is connected.
- Consult the dealer or an experienced radio/TV technician for help.
Precautions
Notices
Old electrical and electronic equipment
This product and/or battery must be disposed of separately from household waste. Dispose such equipment according to local laws and regulations, to allow their reuse and/or recycling. This will help in conserving resources, and in protecting human health and the environment.
Copyright and disclaimer
All rights reserved. No part of this document may be reproduced or transmitted in any form by any means, electronic, mechanical, photocopying, recording, or otherwise, without the prior written permission of the publisher. For information on getting permission for reprints and excerpts, contact Electro-Voice.
All content including specifications, data, and illustrations in this manual are subject to change without prior notice.
Description
The PXM-12MP is a powered, multi-functional coaxial monitor designed for high output and clear audio intelligibility. It is ideal for applications where the user requires monitoring of themselves or others, particularly in situations where a primary PA is in use. Multiple inputs and tuning presets allow for a wide variety of additional applications. It can also double as a PA with the use of built-in presets and a standard speaker tripod mount.
The system features a coaxial 12” transducer with a 1.75” neodymium compression driver. These are driven by a Dynacord engineered 2-channel 700 W amplifier and digital signal processing. The components are housed in a rigid 15 mm plywood enclosure that is protected by a polyurea-based EV-Coat and an 15 gauge powder-coated steel grille. The system features multiple handles and a light weight for easy handling and portability.
Thank you for choosing an Electro-Voice powered loudspeaker system. Please take time to consult the manual to understand all the features built into your Electro-Voice system and fully utilize its performance capabilities.
System features
- Multi-functional monitoring system that is useable as a floor wedge or as a mains PA.
- QuickSmartDSP features best-in-class processing. Easy setup via four presets, sub/top system-match, three-band EQ, five user-programmable presets, visual monitoring of limiter status, input level control and meters, and master volume control to optimize gain structure, all via LCD.
- 700 W Class-D power amplifier designed by Dynacord delivers up to 129 dB peak SPL utilizing transducers by EV.
- System reliability verified with over 500 hours of abuse and endurance testing.
Quick setup
To quickly setup the device, do the steps that follow:

Floor monitor, tripod, and pole mount operation
Floor monitor
The PXM-12MP monitor is optimized for floor placement.
To setup the device as a monitor, do the steps that follow:
- Make sure the surface is stable, level, and clear of debris.
- Place the PXM-12MP on the surface.
- Position the speaker at a distance relative to your position so that your head is on axis with the speaker.
- Feed the necessary cables through the cable routing hole to neatly and safely manage cable clutter.
- Power on the system and configure as outlined in the Quick setup section.
- Make sure that the DSP MODE is set to MONITOR 1, MONITOR 2, or GUITARCAB.
Tripod
To set up the monitor on a tripod stand, do the steps that follow:
Caution!
Tripod is not evaluated for safety with this loudspeaker. Check the specifications of the tripod stand to be certain it is capable of supporting the weight of the loudspeaker.
Caution!
We recommend that two or more persons lift and place heavier loudspeakers. Single person lift and placement of heavier loudspeakers could cause injury.
- Make sure the surface is stable, level, and clear of debris.
- Place the tripod stand on the surface. The legs of the tripod should be placed as wide as possible
- Do not attempt to suspend more than one loudspeaker on a stand designed for a single loudspeaker.
- Lift the monitor with two hands and set it onto the pole.
Make sure that the pole goes into the pole cup. - Make sure that the DSP MODE is set to TRIPOD.
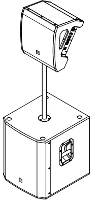
Pole mount with subwoofer
To set up the monitor on a subwoofer pole, do the steps that follow:
- Place the subwoofer on a level and stable surface.
- Put an M20 threaded pole into the combo pole cup on the top of the subwoofer.
- Turn the M20 threaded pole clockwise to secure the pole to the subwoofer.
- Lift the monitor with two hands and set it onto the pole.
- Make sure that the pole goes into the pole cup of the speaker.
- Make sure that the DSP MODE is set to TRIPOD.
- Set the SUB parameter according to the subwoofer specifications.
Input panel and DSP
Input panel controls
The input panel has a combination of controls and connectors for a wide variety of control and configuration.
- LCD – DSP control and monitoring interface.
- MASTER VOLUME – Contextual rotary and push knob that is used to adjust and navigate the DSP menu and to adjust parameters (for example Master Gain).
- INPUT LEVEL – Rotary knob used to adjust the level of the corresponding input. The detent 12 o’clock position represents unity level (no gain or attenuation). Rotate the knob to the left to attenuate LINE level sources, or rotate to the right to add gain to MIC level sources. There is an input level control for INPUT 1, INPUT 2, and INPUT 3.
- POWER – AC switch for switching the power ON or OFF. The LCD screen lights up when the power is turned ON, after approximately 3 seconds.
- MIX OUT – A post-input level sum of all three input channels. This allows for the ‘mix’ to be sent to a secondary device, such as a PA or recording device. It can be adjusted in DSP to output a stereo signal (L+R) or an isolated RIGHT channel. This is ideal for connecting LEFT mains to RIGHT mains in a PA configuration.
- THRU – An output that is parallel to INPUT 1. This is not affected by the DSP of the system. It is used to daisy-chain the signal of INPUT 1 to an external device.
- INPUT 1, 2 – Balanced MIC/LINE XLR/TRS inputs to connect a line level signal source
(such as mixer, etc.) or a microphone. Whenever possible, balanced signal feed is always preferable to guard against potential noise. - INPUT 3 – Unbalanced stereo RCA input to connect LINE-level signal sources, such as mobile devices or media players.
- MAINS IN – The device receives its power supply via the MAINS IN socket. Use the included IEC power cord to connect the system to a stable, grounded power source. Connect the device only to an electrical outlet that is capable of providing the voltage and current outlined on the product label and system specifications.
System status
Normal
- LEVEL – Indicates the master gain of the system in dB. The range is from mute to +10 dB, in 1 dB increments.
- – Indicates the current recalled preset number. There are five presets available for storing and recalling.
- E – Indicates that the current recalled preset has updated parameters and is not saved.
- IN1 – Indicates in meter form the magnitude of signal present on INPUT 1.
- IN2 – Indicates in meter form the magnitude of signal present on INPUT 2.
- IN3 – Indicates in meter form the magnitude of signal present on INPUT 3.
LIMIT
LIMIT indication is displayed when gain reduction is being applied to the signal. This allows the loudspeaker to continue operating while preventing the amplifier and components from exceeding their functional capability. Levels operating continuously beyond the limiter threshold must be avoided.
PK
When PK (peak) is indicated, the INPUT signal magnitude is higher than what the amplifier can handle and is effectively clipped (distorted). Lower the volume of the signal source and/or lower the INPUT LEVEL by rotating the corresponding INPUT LEVEL knob counter-clockwise. The PK status must be avoided at all times. Even momentary bursts of clipped signal can severely damage system components.
DSP controls
An integrated DSP control menu allows the user to select multiple DSP system settings on the loudspeaker.
Accessing the DSP control menu
To access the DSP control menu, do the steps that follow:
- Push the MASTER VOL knob.
- Using the MASTER VOL knob, scroll through the menu items.
- Push the MASTER VOL knob to select the menu item you want to modify.
- Using the MASTER VOL knob, scroll through the parameters.
- Push the MASTER VOL knob to confirm the selected parameter.
- Repeat steps 2 through 5 to modify additional DSP and system settings.
- Select EXIT to return to the home screen.
DSP control menu
The following table represents the DSP menu structure and its available parameters.
| EXIT | |
| MODE | MONITOR 1 |
| MONITOR 2 | |
| TRIPOD | |
| GUITAR CAB | |
| TREBLE | 0 dB (Default) |
| -10 dB to +6 dB | |
| MID | 0 dB (Default) |
| -10 dB to +6 dB | |
| MID FREQ | 1000 Hz (Default) |
| 70 Hz – 12 kHz, sweepable | |
| BASS | 0 dB (Default) |
| -10 dB to +6 dB | |
| SUB | OFF (Default) |
| 80 Hz, 100 Hz, 120 Hz, 150 Hz, 200 Hz, ELX200-12SP, ELX200-18SP, EKX-15SP, EKX-18SP | |
| FEEDBACK | OFF (Default) |
| 70 Hz to 10kHz | |
| PHANTOM 1 | OFF (Default) | |
| ON | ||
| PHANTOM 2 | OFF (Default) | |
| ON | ||
| MIX OUT | L+R (Default) | |
| R | ||
| DELAY | OFF (Default) | |
| 0.1m:100m:0.1m inc Meters: 0 m to 100 m Feet: 0 ft to 328.1 ft | ||
| LED | OFF | |
| ON (Default) | ||
| LIMIT | ||
| DISPLAY | BACK | |
| LCD DIM | 30 SEC (Default) | |
| 10s to 60s | ||
| BRIGHT | 5 (Default) | |
| 1 to 10 | ||
| CONTRAST | 5 (Default) | |
| 1 to 10 | ||
| BACK | ||
| STORE | EXIT, 1, 2, 3, 4, 5, EXIT | |
| RECALL | EXIT, 1, 2, 3, 4, 5, EXIT | |
| RESET | RESET ALL SETTINGS? | NO (Default) |
| YES | ||
| LOCK | OFF (Default) | |
| ON | ||
| INFO | PXM-12MP | |
| <FIRMWARE VERSION> | ||
| ©2019 Electro-Voice | ||
| EXIT | ||
DSP parameter definitions
- MODE – Adjusts the tuning preset applied to the output of the loudspeaker. There are four modes available:
- MONITOR 1 – Optimized for floor monitoring purposes. (Default)
- MONITOR 2 – Secondary preset with more LF boost.
- TRIPOD – Optimized for use while installed on a tripod or subwoofer pole.
- GUITARCAB – Optimized for use as a guitar or bass guitar cabinet.
- TREBLE – Used to adjust the high-frequency output of the system.
- MID – Used to adjust the mid-frequency output of the system. This controls a set-Q parametric EQ band whose center frequency is determined by the MID FREQ parameter. (Default 0dB)
- MID FREQ – Adjusts the center frequency of the MID EQ band. (Default 1000Hz)
- BASS – Used to adjust the low-frequency output of the system.
- SUB – Enables a high-pass filter at the specified cut-off frequency. If using an Electro-Voice subwoofer, select the appropriate model from the menu. If using other subwoofers, select the appropriate generic high-pass frequency.
- FEEDBACK – Enables and adjusts the center frequency of a narrow-Q notch filter. This can be used in situations where there are specific frequencies that are causing the system to feedback.
- PHANTOM 1 and 2 – Activates a +15V phantom power supply on INPUT 1 and/or INPUT 2. This is a sufficient voltage for use with most condenser microphones.
- MIX OUT – Adjusts the routing and summation to the MIX OUT output. Adjust this parameter when a stereo image is desired from two systems.
- L + R – The LEFT and RIGHT signals of INPUT 3 are summed and output to both the loudspeaker and the MIX OUT output.
- R – The RIGHT signal of INPUT 3 is routed directly to the MIX OUT output. The loudspeaker will only output the LEFT audio signal.
In both settings, the signals from INPUT 1 and INPUT 2 are also summed and routed to the MIX OUT output.
- DELAY – This parameter sets the amount of audio delay that will be applied before the signal is output to the loudspeaker. This is useful for compensating the differences between speakers at different distances from the listener. MIX OUT and THRU outputs are not affected.
- LED – Enables and adjusts the functionality of the white LED located on the front grille.
- ON – The LED will always be illuminated while the loudspeaker POWER switch is set to ON.
- OFF – The LED will remain off at all times.
- LIMIT – The LED will remain off during normal operation. Input signals above the threshold of the internal peak limiter will momentarily illuminate the LED. This only indicates that the limiter is active. Levels operating continuously beyond the limiter threshold must be avoided.
- DISPLAY – Submenu that contains parameters to adjust the LCD display.
- LCD DIM – When set to ON, the LCD display will automatically dim when the display is idle for two minutes. (Default ON)
- BRIGHT – Sets the brightness of the LCD ranging from 1 to 10. (Default 5)
- CONTRAST – Adjusts the contrast between pixels on the LCD display from 1 to 10.(Default 5)
- STORE – This menu allows you to create up to five customized user settings. To store customized user settings follow these steps:
From the DSP menu, scroll to STORE.
Push the MASTER VOLUME knob to select STORE.- Push the MASTER VOLUME knob to select 1.
- Use the MASTER VOLUME knob to scroll through the characters.
- Push the MASTER VOLUME knob to select the desired character.
- Turn the MASTER VOLUME knob to move to the next character entry.
- Use the MASTER VOLUME knob to scroll to SAVE.
- Push the MASTER VOLUME knob to select SAVE.
- Select EXIT to return to the home screen.
Repeat steps 3 through 8 to store additional customized user settings.
- RECALL – This menu allows you retrieve up to five customized user settings. To recall customized user settings follow these steps:
- From the DSP menu, scroll to RECALL.
- Push the MASTER VOL knob to select RECALL.
- Push the MASTER VOL knob to select 1.
- Select EXIT to return to the home screen.
- RESET – This menu is used to reset the loudspeaker to original factory settings. To reset the system to factory default settings follow these steps:
- From the DSP menu, select RESET.
- Select YES.
- INFO – Displays the product name, firmware version, and copyright information.
- EXIT – Returns the user to the HOME SCREEN.
Recommended configurations
Dedicated monitor
Typical application for dedicated monitoring. A main PA (EVOLVE 50 shown) sends signal to the PXM-12MP monitor.
Notice!
The arrow direction indicates the signal path.
| MODE: | MONITOR 1 or MONITOR 2 |
| SUB: | OFF |
Notice!
For EVOLVE 50 settings, please see the EVOLVE 50 User Manual
Refer to
– DSP control menu, page 16
Stereo PA
A pair of monitors can be configured as a conventional stereo PA with some tripods and basic DSP adjustments.
| MODE: | <TRIPOD> |
| SUB: | <OFF> |
| MIX OUT: | <R> |
Table 5.2: DSP settings for PXM-12MP
Refer to
– DSP control menu, page 16
Main PA with subwoofer
The addition of subwoofers allows for improved system LF response as well as more overall headroom.

| MODE: | TRIPOD |
| SUB: | ELX200-18SP |
Table 5.3: DSP Settings for PXM-12MP with ELX200-18SP subwoofer for stacked
Notice!
For ELX200 settings, please see the ELX User Manual.
Refer to
– DSP control menu, page 16
Troubleshooting
| Problem | Possible Cause(s) | Action |
| 1. No sound | Amplifier | Verify all the electronics are on, the signal routing is correct, the source is active; the volume is turned up, etc. Correct/repair/replace as necessary. If there is still no sound, then the problem may be wiring. |
| Wiring | Verify you have connected the correct cables to the amplifier. Play something at a low level through the amplifier. Connect a test loudspeaker in parallel with the malfunctioning line. If the sound level is gone or is very weak, the line has a short in it (possibly a severe scrape, pinch, or a missed connection). Using the test loudspeaker, move down the line and test each connection/junction until you find the problem and correct it. Observe proper polarity. | |
| 2. Poor Low- Frequency Response | With SUB menu cross-over frequency activated | If no subwoofers are used with the system, select the OFF position. |
| 3. Intermittent output such as cracking or distortion | Faulty connection | Check all connections at amplifier and loudspeakers to ensure they are all clean and tight. If the problem persists, check the wiring. See problem 1. |
| 4. Constant noise such as buzzing, hissing or humming | Defective source or other electronic device | If noise is present, but no program material is playing, evaluate each component as necessary to isolate the problem. Most likely there is a break in the signal path. |
| Poor system grounding or ground loop | Check and correct the system grounding, as required. | |
| Input gain knob is not in the MIC position | Slowly increase the input gain knob level to engage the microphone pre-amp. | |
| 5. No sound produced with microphone connected to INPUT 1 or INPUT 2 | Microphone requires phantom power. | Switch PHANTOM 1 or PHANTOM 2 to ON in the menu. See DSP control menu, page 16. |
| Input gain knob is not in the MIC position | Slowly increase the input gain knob level to engage the microphone pre-amp. | |
| 6. Sound is distorted front LED is OFF, LCD screen LIMIT is ON | Excessive input level | Reduce the input level or loudspeaker level knobs to prevent limit. |
| Incorrect gain structure or source input (mixing console/preamp) is overdriven | Verify level controls of the source are properly structured by using the VU meter indicator on the LCD screen. If the VU meter bar is solid or the system indicates LIMIT, the input or source level is too high. |
| Problem | Possible Cause(s) | Action |
| 7. Microphone produces acoustic feedback when input level is amplified | Incorrect gain structure | Reduce the microphone levels at the mixing console or input source. If the microphone is connected directly to the speaker, reduce the input level on the speaker. Positioning the microphone close to the sound source increases gain-before-feedback. See problem 6. |
| Microphone position is too close to the front of the loudspeaker | Adjust FEEDBACK frequency until the feedback frequency is found. See DSP control menu, page 16. | |
| 8. DSP menu is locked | The Menu Lock function has been turned on. A lock symbol displays on the LCD screen. | Press and hold the MASTER VOL knob for 5 seconds. |
Technical data
| Frequency response (-3 dB): | 64 Hz – 20 kHz |
| Frequency range (-10 dB): | 53 Hz – 20 kHz |
| Monitor Angle: | 55° |
| Maximum SPL: | 129 dB |
| Coverage (H x V): | 90˚ x 90˚ |
| Amplifier Rating: | 700 W |
| LF Channel Rating: | 500 W |
| HF Channel Rating: | 200 W |
| Crossover frequency: | 1.6 kHz |
| Transducer: | CXCA2128-1NA 12” / 1.75” 2-way coaxial |
| Connectors: | 2x XLR/TRS combo input 1x Stereo RCA input 1x XLR THRU input 1x XLR MIXOUT output |
| Enclosure: | 15 mm Plywood |
| Grille: | Steel with black powder coat |
| Color: | Black |
| Dimensions (H x W x D): mm (in) | 334 mm x 409 mm x 484 mm (13.1 in x 16.1 in x 19.0 in) |
| Net weight: | 13.5 kg (29.8 lb) |
| Shipping weight: | 15.6 kg (34.3 lb) |
| Power consumption: | 100 – 240 V AC, 50 – 60 Hz, 0.8 – 0.5 A |

Off Axis Response



Dimensions
Bosch Sicherheitssysteme GmbH Robert-Bosch-Ring 5
85630 Grasbrunn
Germany
www.boschsecurity.com
© Bosch Sicherheitssysteme GmbH, 2022
Bosch Security Systems, LLC 12000 Portland Avenue South Burnsville MN 55337
USA
www.electrovoice.com
© Bosch Security Systems, LLC, 2022
202205161100






























