ZUO 56104 Tirol Table Lamp

Product Information
56104, TIROL TABLE LAMP
The 56104, TIROL TABLE LAMP is a stylish and modern lamp that requires one (1) E12, Type B, Max. 40W light bulb for operation. The lamp is designed to provide adequate lighting in any room or space and comes with assembly instructions for easy setup.
Product Usage Instructions
- Before assembling the lamp, turn off the main power source to avoid any electrical hazards.
- Use one (1) E12, Type B, Max. 40W light bulb to operate the lamp. Make sure that the wattage of the bulb does not exceed the maximum recommended wattage to avoid overheating or damage to the lamp.
- When assembling the lamp, use only soft tools to avoid scratches and damages to the lamp.
- Keep children away from the electric parts of the lamp for their safety.
- If the external wire or cable becomes damaged, do not attempt to repair it yourself. Only the manufacturer, service agent or qualified individual should make the repairs to avoid any hazards.
If you need assistance with the product or have any questions about its usage, please contact the manufacturer’s customer service hotline at (866)-798-6663.
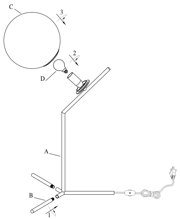
Parts list
Assembly Instructions
- Before assembling,turn off the main power source.
- Use one (1) E12, Type B, Max. 40W light bulbs.
- To avoid scratches and damages, do not use hard or sharp tools to assemble the lamp.
- For their safety, keep children away from the electric parts of this lamp.
If the external wire or cable becomes damaged, only the manufacturer, service agent or qualified individual shouldmakethe repairs in order to avoid hazard.
For missing parts or damaged parts, please call / USA, Canada and Mexico : (866)-798-6663
















