HARBOUR HBRBC93B 93 Litre Beverage Chiller 
Welcome
Congratulations on purchasing your new Beverage Chiller.
All products brought to you by Harbour are manufactured to the highest standards of performance and safety and, as part of our philosophy of customer service and satisfaction, are backed by our comprehensive 3 Year In Home Warranty.
We hope you will enjoy using your purchase for many years to come.
Congratulations on purchasing your new Beverage Chiller.
All products brought to you by Harbour are manufactured to the highest standards of performance and safety and, as part of our philosophy of customer service and satisfaction, are backed by our comprehensive 3 Year In Home Warranty. We hope you will enjoy using your purchase for many years to come.
General Safety Instructions
IMPORTANT SAFETY INSTRUCTIONS
READ CAREFULLY AND KEEP FOR FUTURE REFERENCE
Read this manual thoroughly before first use, even if you are familiar with this type of product. The safety precautions enclosed herein reduce the risk of fire, electric shock and injury when correctly adhered to. Make sure you understand all instructions and warnings.
Keep the manual in a safe place for future reference, along with the completed warranty card and purchase receipt. If you sell or transfer ownership of this product, pass on these instructions to the
new owner.
Always follow basic safety precautions and accident prevention measures when using an electrical appliance, including the following:
IMPORTANT: Pay particular attention to messages that contain the words DANGER, WARNING or CAUTION. These words are used to alert you to a potential hazard that can seriously injure you and others. The instructions will tell you how to reduce the chance of injury and let you know what can happen if the instructions are not followed.
This symbol alerts you to take care as this appliance contains a flammable refrigerant (isobutane) and insulation blowing gas (cyclopentane).
Do not expose it to high heat, sparks and open flames.
The refrigerant isobutane (R600a) is contained within the refrigerant circuit of the appliance, a gas with a high level of environmental compatibility, which is nevertheless flammable. During transportation and installation of the appliance, ensure that none of the components of the refrigerant circuit become damaged.
WARNING: Do not damage the refrigerant circuit! Never use an appliance with a damaged refrigerant circuit! If the refrigerant circuit becomes damaged, avoid proximity to open fires and all types of heat and ignition sources. Thoroughly ventilate the room in which the appliance is located.
DANGER: It is hazardous for anyone other than an authorised service person to service this appliance.
In Queensland, the authorised service person MUST hold a Gas Work Authorisation for hydrocarbon refrigerants to carry out servicing or repairs which involve the removal of covers.
The room for installing the appliance must be at least 1m³ per 8g of refrigerant. The amount and type of refrigerant in the appliance can be found in the Technical Specifications section of this user manual and on the rating plate, found on the appliance.
USAGE CONDITIONS AND RESTRICTIONS
- Domestic use only: This appliance is intended for indoor household use only. It is not intended for commercial, industrial or outdoor use. It is not intended for use in a recreational vehicle.
- Purpose: Do not use this appliance for anything other than its intended purpose. Other uses are not recommended and may cause fire, electric shock or personal injury.
- Attachments: The use of attachments is not recommended by the appliance manufacturer and distributor as they may be hazardous.
- Improper use: Damage due to improper use, or repairs made by unqualified personnel will void your warranty. We assume no liability for any eventual damages caused by misuse of the product or noncompliance with these instructions.
- WARNING: Do not use mechanical devices or other means to accelerate the defrosting process, other than those recommended by the manufacturer.
- Usage restriction: This appliance is not intended for use by persons (including children) with reduced physical, sensory or mental capabilities, or lack of experience and knowledge, unless they have been given supervision or instructions concerning use of the appliance by a person responsible for their safety.
- Children: Supervise young children to ensure they do not play with the appliance. Never allow children to operate, play with or crawl inside the appliance.
- WARNING: Do not use electrical appliances inside the appliance, unless they are of the type recommended by the manufacturer.
- Explosive or flammable substances: Do not store explosive substances such as aerosol cans with a flammable propellant in this appliance. Do not store or use petrol or any other flammable vapours and liquids in the vicinity of this or any other appliance. Do not use such substances for cleaning the appliance. The fumes can create a fire hazard or an explosion.
- Damage: Do not use the appliance if the power cord, plug or the appliance itself is damaged. If the cord is damaged, contact the after sales support line and have the cord replaced by qualified personnel in order to avoid a hazard.
- WARNING: Do not damage the refrigerant circuit.
- Do not modify: Do not attempt to alter or modify this appliance in any way.
- Repair: Do not attempt to repair or replace any part of this appliance unless it is specifically recommended in this manual. All other servicing should be referred to a qualified technician. Contact the after sales support line for advice.
- WARNING: Do not locate multiple portable socket-outlets or portable power supplies at the rear of the appliance.
- Usage: The gaps between chiller door and chiller body are small, because not to jam your fingers in these areas. Please be gentle when close or open the chiller door to avoid falling objects.
- Care: Do not use chiller body, chiller door, etc. as pedal or support
ELECTRICAL SAFETY
- Voltage: Before connecting and turning on the appliance, ensure the electrical voltage and circuit frequency correspond to that indicated on the appliance rating label.
- Earthing: This appliance should be properly earthed for your safety. The power cord of this appliance is equipped with a three-prong plug for use in standard wall outlets to minimise the possibility of electrical shock. Do not modify the cord and/or plug provided with the appliance. Improper use of the earthed plug can result in the risk of electric shock.
- Connection: This appliance requires a standard 220-240 V AC 50Hz electrical outlet. Do not overload the electrical circuit.
- Power cord: Do not kink or damage the power cord; do not leave it exposed or dangling. Secure it at the back of the appliance so no one steps on or places anything on the cord or against it. Keep the cord out of reach of children. When moving the appliance, make sure not to damage the power cord. When removing the power cord, firmly grasp the plug and pull out it from the socket directly.
- Auxiliary Items: Do not use an inverter, adaptor or extension cord with this appliance. If the cord is too short, have a qualified electrician install an outlet near the appliance. Use of an extension cord and an inverter can negatively affect the performance of the unit.
- Protect from moisture: To protect against the risk of electric shock, do not immerse the unit, cord or plug in water or spray it with any other liquid. Do not connect or disconnect the electric plug when your hands are wet. Turn the power switch off before removing the plug from the socket.
- WARNING: Disconnect! To reduce the risk of fire, electric shock or personal injury, always unplug the appliance from the socket when not in use, when moving and before cleaning or servicing. Never unplug the unit by pulling the power cord. Always grip the plug firmly and pull straight out from the power point.
- Electrical work: Any electrical work required for the installation of this appliance should be carried out by a qualified electrician.
- Never use this appliance with a damaged refrigerant circuit! If the coolant circuit becomes damaged, avoid proximity to open fires and all types of heat sources. The room in which the appliance is located should be ventilated for a few minutes.
- WARNING: Leaking Gas: In the case of leaking gas, turn off the valve of the leaking gas, open the doors and windows in case of leakage of gas and other flammable gases. Do not unplug the chiller and other electrical appliances considering that spark may cause a fire.
INSTALLATION
- Heavy: This appliance is heavy, take care when moving it. To avoid back or other injury, consider a two person lift or mechanical aid when installing it. Failure to do so can result in back or other injury.
- Damage: When unpacking, check the appliance carefully for damage. If it is damaged, do not install the appliance. Contact our after sales support centre on 1300 11 43 57 for advice on examination or return of the damaged appliance.
- Protect from moisture: Install the appliance in an indoor area protected from wind, rain, water spray or drips. Protect from heat: Do not install the appliance next to an oven, grill or other source of high heat, or where it will be exposed to direct sunlight for prolonged periods of time.
- WARNING: Ventilation: To ensure proper ventilation, keep any ventilation openings, in the appliance enclosure or in the built-in structure, clear of obstructions. Ensure adequate air circulation around the appliance to prevent overheating.
- Level: Install the appliance level in order to ensure proper operation.
- Location: To ensure safety, it is not recommended to place socket, regulators, rice cookers, microwave ovens and other appliances at the top of the beverage chiller, those recommended by the manufacturer are not included. Do not use electrical appliances in the food pantry.
- Children: Do not give package and other components to children to play. The bending board and plastic film may lead to suffocation! Do not allow children to enter or climb the chiller to prevent that children are sealed in the chiller or children are injured by the falling chiller.
CLEANING AND MAINTENANCE
- Disconnect: Unplug the appliance before cleaning or servicing. Failure to do so can result in electric shock, injury or death. Do not connect or disconnect the plug when your hands are wet.
- Flames: Do not let open flames or ignition sources enter the appliance.
- Flammable/explosive substances: Never clean this appliance with flammable fluids. Do not store or use volatile, flammable or explosive propellants or liquids in or close to this or any other appliance. The fumes can create a fire hazard or explosion.
- Washing: Do not spray or wash the chiller; do not put the chiller in moist places easy to be splashed with water so as not to affect the electrical insulation properties of the chiller.
- Solvents: Do not use solvent based cleaning agents or abrasives on the interior as these may damage or discolour the surfaces of the appliances.
- WARNING! Do not use mechanical devices or other means to accelerate the defrosting process. Never use a sharp or metal instrument to remove frost or clean the appliance. Use a plastic scraper, if necessary. Service: Do not attempt to repair, modify or replace any part of the appliance unless specifically recommended in this manual. Refer all other servicing to a qualified technician, or contact the after sales support line for advice on examination or repair of the appliance.
WARNINGS RELATED TO PLACING ITEMS
- Objects: Do not place heavy objects on the top of the chiller considering that objects may fall when open or close the door, and accidental injuries might be caused.
- Items in the chiller: Do not put flammable, explosive, volatile and highly corrosive items in the chiller to prevent damages to the product or fire accidents.
- Flammable items: Do not place flammable items near the chiller to avoid fires.
- Usage: This product is household chiller and this equipment can only be used for the storage of beverages. According to the standard requirements, household chiller shall not be used for other purposes, such as storage of food, blood, drugs or biological products.
ENERGY WARNINGS
- Beverage Chiller might not operate consistently when siled for an extended period of time below the cold end of the range of temperatures for which the chiller appliance is designed.
- The need to not exceed the storage time(s) recommended by the beverage manufacturers for any kind of beverage.
- The precautions necessary to prevent an undue rise in the temperature of the beverage while defrosting the Beverage Chiller.
- The fact that a rise in temperature of the beverage during manual defrosting, maintenance or cleaning could shorten the storage life.
- The necessity that, for doors or lids fitted with locks and keys, the keys be kept out of the reach of children and not in the vicinity of the chiller appliance, in order to prevent children from being locking inside.
- Please keep the interior of the Beverage Chiller dry.
RESPONSIBLE DISPOSAL
Note: At the end of its working life, do not throw this appliance out with your household rubbish. Electrical and electronic products contain substances that can have a detrimental effect on the environment and human health if disposed of inappropriately. Observe any local regulations regarding the disposal of electrical consumer goods and dispose of it appropriately for recycling and recovery of the refrigerant and blowing agent. Contact your municipal authorities for advice on recycling facilities in your area. When the beverage chiller is scrapped, disassemble the doors, and remove gasket of door and shelves; put the doors and shelves in a proper place, so as to prevent entrapment of any children.
WARNING! This refrigeration appliance contains flammable refrigerants and insulation blowing gases, which must be removed before disposal. Contact your municipal authorities for any codes or regulations concerning the disposal of such materials.
DISPOSAL: Do not dispose this product as unsorted municipal waste. Collection of such waste separately for special treatment is necessary.
This marking indicates that this product should not be disposed with other household wastes throughout the EU. To prevent possible harm to the environment or human health from uncontrolled waste disposal, recycle it responsibly to promote the sustainable reuse of material resources. To return your used device, please use the return and collection systems or contact the retailer where the product was purchased. They can take this product for environmental
safe recycling.
For more detailed information about treatment, recovery and recycling of this product, please contact your local city office, your household waste disposal service or the shop where you purchased the product.
Product Overview
BEVERAGE CHILLER LAYOUT 
- Reversible door hinge
- LED light switch
- Door handle
- Steel wire shelves (3)
- Thermostat knob
- Adjustable feet
- Triple glazed UV treated glass door
- Alternate shelf supports
- Not shown but also included:
- 1 × Instruction manual
- 1 × Quick start guide
- 1 × Warranty certificate
Getting Started
UNPACKING
- Packaging materials: This appliance has been packaged to protect it against transportation damage. Remove all packaging materials from around and inside the appliance including the bottom cushions, foam pads, tapes inside the chiller, tear off the protective film on the door and the chiller body. Keep the original packaging carton and materials in a safe place. It will help prevent any damage if the product needs to be transported in the future, and you can use it to store the appliance when it is not in use. In the event the carton is to be disposed of, please recycle all packaging materials where possible.
- Check: to see if all items are present.
- Inspect: the equipment and accessories for transport damage. In case of complaints, the supplier is to be informed immediately.
- Suffocation: Plastic wrapping can be a suffocation hazard for babies and young children, so ensure all packaging materials are out of their reach and disposed of safely.
- Power cord: Unwind the power cord to its full length and inspect it for damage. Do not use the appliance if it or its cord have been damaged or are not working properly. In case of damage, contact our after sales support line for advice on examination, repair or return of the damaged product.
- Read the manual: Read this manual to familiarise yourself with the appliance. Pay particular attention to the safety instructions on the previous pages.
- Clean: To remove any dust from transit and storage, clean the interior and exterior surfaces of the appliance with lukewarm water and a soft cloth. Dry thoroughly. Important: do not use harsh or abrasive detergents or powders as these will damage the finish.
FIRST USE
Before turning on your Beverage Chiller for the first time:
- The chiller must be rested for at least half an hour before connecting power.
- Clean up the inner chamber with lukewarm water and a soft cloth.
- Do not connect chiller to electronic energy saving plug and converter that can convert DC into AC
(E.g.: solar energy system. ship grid). - Water drop or frost will be generated on back side of Beverage Chiller when compressor is running. This is a normal function of chiller, wiping out frost or water drop is not required as they will evaporate automatically. The defrosted water will be collected into drain tank and then inflow into water disposal pan above the compressor and vaporized.
Operation Instructions
TEMPERATURE CONTROL 
You can set and adjust the temperature in the cabinet to anywhere within the cooling range (5º C – 18º C) using the Thermostat Knob.
- “Normal”: warmest setting
- “Cold”: colder setting
- “Colder”: coldest setting
The “Off” setting turns the Beverage Chiller off.
The selected setting should be pointed to the top of the dial.
BEVERAGES ARRANGEMENT
- To maintain good air circulation in the chiller, do not let any bottles or cans touch the back wall of the chiller cabinet.
- The capacity for storage in the Beverage Chiller may be different due to bottles and cans of different shapes and sizes. Oversized bottles may have impact on the number of storage items in the cabinet.
TEMPERATURE ZONES INSIDE THE Beverage Chiller
- Due to different temperature zones generated due to air circulation inside the chiller, the upper area’s temperature will be warmer than the lower area.
ENERGY SAVING TIPS
- The appliance should be placed in the coolest area of the room, away from heat producing appliances or heating ducts. A suitable insulation board shall be applied if necessary. Please avoid placement in direct sunlight.
- Try to shorten opening time of chiller’s door.
- Place beverages into the chiller after it has cooled down.
ADJUSTING THE SHELVES
- To adjust the shelf positioing, open the door and slide the shelf out towards yourself.
- Once completely removed, insert the shelf into the desired support, making sure both sides are correctly aligned and slide until it is completely in.
Installation Instructions
Floor surface: This appliance must be properly positioned on a dry, sturdy, level surface that is strong enough to support it when it is fully loaded. Rotate left or right to adjust the levelling wheel if unstable.
If it is to be placed on carpet, support it with a wooden board underneath. This appliance is designed
to be freestanding only and should not be recessed or built in.
Clearances: Ensure that air can circulate freely around the back of the cabinet, which is necessary to cool the compressor and condenser. Allow at least 10cm clear space at the back and sides of the unit and 30cm clear space above the unit. Failure to do so will increase compressor’s power and further increase power consumption. It is also necessary to maintain distance for doors to open at least 90°.
DO NOT install/use the appliance in the following locations/situations:
- In moist areas or areas of high humidity.
- In a recreational vehicle, or for use with an inverter.
- In direct sunlight, near heat sources, next to an open flame, cooking or heating appliance, or near any other source of high heat.
- Direct sunlight may affect the acrylic coating and heat sources may increase the unit’s power consumption. For best energy efficiency install the appliance in the coolest area of the room.
- In an area with extreme cold ambient temperatures.
- In an area with excessive moisture and high humidity. Make sure it is protected from elements such as wind, rain, water spray or drips.
- In an area where petrol or other explosive and/or flammable liquids or fumes are used or stored. The fumes can create a fire hazard or explosion.
Reversing the Door Swing
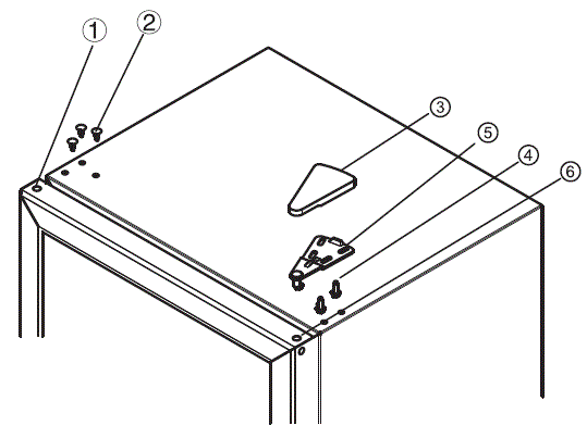
The direction of the door opening can be changed from right hand side to left hand side. Please follow the instructions below to change the opening direction of the door:
- Disconnect the Beverage Chiller from the power. Close the glass door of the Beverage Chiller. Remove the screws (2) and put aside for a later step. Carefully remove the mounting cover (3) of the door hinge, positioning bolts (4) and upper hinge (5).

- Open the door of the Beverage Chiller cabinet so the seal doesn’t hold it in place and carefully detach the glass door by sliding it upwards. Place it aside on a soft surface

- Dismantle the door axle sleeve (6) at the lower part of the glass door, the door stopper block screws (8) and door stopper (7), and fix them to the opposite side of the Beverage Chiller

- Using two people, lay the unit down on its back. Dismantle the adjustable foot (11), positioning bolts (4), and lower hinge (10), then swap opposing side parts (eg. the parts on the right side are swapped with the left side). Use the reverse method of this step to install the adjustable foot, lower hinge and positioning bolts. Using two people, place the unit upright again and wait at least half an hour before reconnecting it to the power

- Place the glass door on the lower hinge and fix the upper hinge (5). Align the door with the cabinet then check the tightness of gasket. Complete by installing the screws (2) and mounting cover (3).

Maintenance and Cleaning
WHEN NOT USING YOUR Beverage Chiller FOR A SHORT PERIOD OF TIME (14 DAYS)
Turn the unit off by turning the Temperature Control knob to the ‘Off’ position.
WHEN NOT USING YOUR Beverage Chiller FOR A LONG PERIOD OF TIME (IE. IN STORAGE)
- Unplug the chiller.
- Clean the chiller.
- Keep the chiller door open.
CLEANING
WARNING: Before cleaning the appliance, make sure it is switched off and disconnected from the power supply. Failure to do so can result in electric shock or injury.
We recommend to clean dust behind the chiller and on the ground regularly to improve the cooling effect and save energy. The interior of the chiller should be cleaned regularly to avoid odor. Cleaning procedure is below:
- Unplug power plug.
- Clean door seal with only clear water and give thorough wipe.
- Remove the wire shelves by sliding them out towards yourself.
- Use slightly warm water and a little dish soap to clean chiller and shelves.
- Reconnect and power chiller when cleaning is completed.
WARNING
- Do not use hard brushes, steel wool, wire brushes, abrasives such as toothpastes, organic solvents (such as alcohol, acetone, banana oil, etc.), boiling water, acid or alkaline items to clean the chiller considering that this may damage the chiller surface and interior.
- Do not rinse with water so as not to affect the electrical insulation properties.
- Do not use detergent and solvent with sand or acid properties.
INTERNAL LED LIGHT
In the event that the LED light fails, this must be swapped by a qualified person only. Please contact our After Sales Support Team on 1300 11 4357.
FAQs and Troubleshooting
| Problem | Possible Resolution |
| The appliance does not operate. | • Check whether the chiller is plugged and connected to power; • Low voltage; • Check whether temperature control knob is in the work area; • Failure power or tripping circuit. |
| Long-term operation of compressor. | • It is normal that chiller operates for longer time in summer when the ambient temperature is higher; • Do not store too many beverages in the chiller at one time; • Frequent opening of chiller door. |
| LED light does not shine | • Check whether the chiller is connected to power • The LED is damaged. Contact our After Sales Support on 1300 11 4357. |
| Loud noises | • Check whether the chiller is level and the chiller is stable • Check whether the chiller accessories are properly placed. |
| Chiller enclosure heat condensation | • The chiller enclosure may emit heat during operation. Especially in summer, this is caused by the radiation of the condenser, and it is a normal phenomenon. • Condensation: condensation phenomenon will be detected on the exterior surface and door seals of the chiller when the ambient humidity is high, this is a normal phenomenon, and after wiping with towel, turn up the set temperature of the appliance properly. |
| Airflow sound Buzz Clatter | • Refrigerants circulating in the refrigerant lines will produce eruption of sound and grunts which is normal and does not affect the cooling effect. • Buzz will be generated by running compressor specially when starting up or shutting down. • The solenoid valve or electric switch valve will clatter which is a normal phenomenon and does not affect the operation. |
Please do not disassemble Beverage Chiller by yourself.
Contact our after sales support centre on 1300 11 43 57 for any assistance.
Specifications
- Model: HBRBC93B
- Gross Volume: 96L
- Storage Volume: 93L
- Product Dimensions (W, D, H): 480mm, 440mm, 842mm
- Weight (Net/Gross): 29.2kg/32.5kg
- Temperature Range: 5–18ºC
- Max Noise Rating: 39dB
- Voltage: 220–240V/50Hz
- Refrigerant: R600a/30g
- Climate Class: SN/N/ST/T
- Protection Class: I
- Other Features:
- Internal LED light
- Adjustable thermostat
- Triple glazed UV treated glass door
- Steel wire shelves
- Adjustable feet
Repair and Refurbished Goods or Parts Notice
Unfortunately, from time to time, faulty products are manufactured which need to be returned to the Supplier for repair. Please be aware that if your product is capable of retaining user-generated data (such as files stored on a computer hard drive, telephone numbers stored on a mobile telephone, songs stored on a portable media player, games saved on a games console or files stored on a USB memory stick) during the process of repair, some or all of your stored data may be lost. We recommend you save this data elsewhere prior to sending the product for repair. You should also be aware that rather than repairing goods, we may replace them with refurbished goods of the same type or use refurbished parts in the repair process. Please be assured though, that refurbished parts or replacements are only used where they meet ALDI’s stringent quality specifications. If at any time you feel your repair is being handled unsatisfactorily, you may escalate your complaint. Please telephone us on 1300 11 43 57 or write to us at:
1/32 Wangaratta St Richmond VIC 3121 Australia
EMAIL: [email protected]
For an electronic copy of this manual, go to www.harbour-appliances.com.au and download a copy.
AN INITIATIVE BY RESIDENTIA GROUP
TEL: 1300 11 4357 | EMAIL: [email protected]























