BROMIC SERIES II 4500W Platinum Smart-Heat Electric Heater Instruction Manual
IMPORTANT
This manual contains important information about the installation, operation, and maintenance of Platinum Smart-Heat™ Electric Heaters. Please pay close attention to the important safety information shown throughout this instruction manual.
Any safety information will be accompanied by the following safety alert symbols:
DANGER
WARNING
IMPORTANT
- READ THIS MANUAL CAREFULLY before installing or servicing this product.
- Improper installation, operation, or maintenance can result in death, severe injury, or property damage.
- This appliance is intended for fixed installation with voltage as specified on the power rating label.
- Installation MUST be carried out by a licensed and authorised technician in accordance with local electrical codes
The Platinum Smart-Heat™ Electric Heater is intended for domestic and commercial use, unless otherwise specified - The marine grade variants shall be installed for land and The marine grade variants shall be installed for land and coastal environment application ONLY. oastal environment application ONLY.
- The marine grade heater shall NOT be installed on marine he marine grade heater shall NOT be installed on marine crafts.
- Australian Registered Design 366537. International Registered Designs Pending.
SAVE THESE INSTRUCTIONS
| Correct Disposal of this product | |
![]() | This marking indicates that this product should not be disposed with other household wastes throughout the EU. To prevent possible harm to the environment or human health from uncontrolled waste disposal, recycle it responsibly to promote the sustainable reuse of material resources. To return your used device, please use the return and collection systems or contact the retailer from whom the product was purchased so that they may organize environmentally sa fe recycling. |
IMPORTANT NOTES AND WARNINGS
WARNING
- IMPORTANT – Installation MUST be carried out by a licensed and authorised person.
- DO NOT leave heaters ON unattended for prolonged use and inspect the heating space regularly.
- Improper installation, adjustment, or alteration and failure to follow the warnings and instructions in this manual could result in severe personal injury, death or property damage.
- The manufacturer is not responsible for any damage that could happen from improper use. The manufacturer emphasises that this appliance should be used in a responsible manner and that all procedures, warnings, and safety instructions contained in this booklet should be followed strictly.
- The installer is to ensure that the requirements of the local authority, local electrical installation code, municipal building codes, and any other relevant statutory regulations are carried out.
- Do not place articles on or against this appliance.
- To reduce the risk of fire, do not store or use gasoline or other flammable vapours and liquids in the vicinity of the heater.
- This Installation, Operation and Service manual should not be removed from the site of installation. Installer should leave manual with the customer for future reference.
- A minimum safety distance of 1000mm (39.4”) should always be left
in front of the appliance. - For commercial and residential installations, this unit must be either wall mounted at a minimum of 1800mm (71”) above the floor or ceiling mounted at a minimum of 2400mm (96”) above the floor.
- The appliance must not be located directly below or in front of an electrical socket. Heat radiated from the appliance may damage the electricity outlet or plug if placed incorrectly.
- Any guard or other protective device removed for servicing (conducted by an authorised person) must be replaced before operating the heater.
- This appliance is not intended for use by persons (including children)
with reduced physical, sensory or mental capabilities, or lack of experience and knowledge, unless they have been given supervision or instruction concerning use of the appliance by a person responsible for their safety. - Heaters are not intended to be installed in wardrobes.
- Extreme caution is necessary when any heater is used by or near children or invalids and whenever the heater is left operating and unattended.
- Children and adults should be alerted to the hazards of high surface
- mperatures and should stay away to avoid burns, clothing ignition, or other serious personal injury.
- This heater is hot when in use. To avoid burns, do not let bare skin touch hot surfaces. Keep combustible materials, such as furniture, pillows, bedding, papers, clothes, etc. and curtains at least 3 feet (1m) from the front of the heater and keep them away from the sides and rear.
- Keep packaging materials out of reach of children.
- Do not spray aerosols or flammable materials in the vicinity of this pliance while it is in operation.
- Installation and repair must be carried out by a qualified & licenced service person only. The heater should be inspected before use and at least annually serviced & inspected by a qualified & licenced service person.
- Do not perform maintenance until heater has been turned off, power disconnected, and heater temperature has cooled to room temperature.
- Clothing or other flammable materials should not be hung from the heater or placed on or near the heater.
- Be sure the heater is not facing the ceiling or flammable or combustible substances/materials.
- Do not paint any surface of the heater.
- Certain materials or items, when stored under or near the appliance, will be subjected to radiant heat and could be seriously damaged. Combustible materials e.g. walls, floors, furniture, fixtures and plants must be kept a minimum of 1000mm (3 ft) from the heater. Regularly inspect the heating space for any materials or items that should not be near the heater.
- This radiant heater shall NOT be installed on recreational vehicles and/or
boats/ marine crafts. - Do not attempt to alter the unit in any manner.
- Remove transit protection before use.
- Never operate the heater in an explosive environment such as areas
where petrol or other flammable liquids or vapours are stored. - Check for damage to the appliance regularly. The heater must not be used if the glass panel or any other part of the heater is damaged. If damage to the appliance is suspected, discontinue use immediately and contact the supplier or qualified person to repair.
- After unpacking, make sure the appliance shows no signs of visible damage or tampering. If the appliance appears damaged, contact the place of purchase for assistance.
- This appliance must only be used with the voltage as specified on the
appliance rating label. - Do not touch the heating glass surface at any time, even when the heater is turned off and has cooled down.
- Do not touch the heater with wet hands at any time.
- If the appliance has not been used, or will not be used, for a long period
of time, disconnect power supply. - At the end of this product’s useful life, it must not be disposed of as domestic waste, but must be taken to a collection centre for waste electrical and electronic equipment. It is the user’s responsibility to dispose of this appliance through the appropriate channels at the end of its useful life. Failure to do so may incur the penalties established by laws governing waste disposal. Proper differential collection, and the subsequent recycling, processing and environmentally compatible disposal of waste equipment avoids unnecessary damage to the environment and possible related health risks, and also promotes recycling of the materials used in the appliance. For further information on waste collection and disposal, contact your local waste disposal service, or the place of purchase.
- In case of direct connection to a supply line, for each platinum SmartHeat Electric heater, a two poles or double pole residual current device (RCD), or residual current circuit breaker (RCCB), must be fitted upstream from the supply line; this electric wiring is designed to quickly and automatically disconnect the appliance when it detects
that the electric current is not balanced between the supply and return conductors to prevent electric shock. - In case of direct connection to a supply line, for each Platinum Smart
Heat Electric heater, a bipolar circuit breaker (CB) with contact opening
distance of at least 3mm must be fitted upstream from the supply line
to protect from damage caused by excess current from an overload or
short circuit. - Contact an authorized service technician if you are unsure if you have
RCD and CB installed on the premises. - Do not install the heater directly near a bathtub, shower or swimming
pool. Any switches or controls must not be within reach of a person in the bathtub, shower or swimming pool. - To maintain Ingress Protection Rating (IP55) for the Marine variants, only
IP55 or better rated electrical components such as switches and conduit
fittings should be used for electrical installation. - To maintain Ingress Protection Rating (IP54) for the Standard variants, only IP54 or better rated electrical components such as switches and conduit fittings should be used for electrical installation.
- This product does not have a switch for electrical disconnection. A means for disconnection of the heater must be incorporated in the fixed wiring according to the local electrical codes.
IMPORTANT NOTES AND WARNINGS CONTINUED
- This heater is not equipped with a device to control the room temperature. Do not use this heater in small rooms when they are occupied by persons not capable of leaving the room on their own, unless constant supervision is provided.
- Fire Sprinklers must be located at an appropriate distance from each heater to avoid accidental activation of the sprinkler. Ethylene glycol or propylene glycol must never be used in fire sprinkler systems where heaters are present as these substances maybe become flammable when heated. A fire sprinkler professional must be consulted when heaters are installed where fire sprinklers are present to ensure that heaters and the fire sprinkler system are properly integrated.
- It is recommended to call the service company at least once a year to check the general status, the heating functions and the integrity of linked safety devices (RCD and CB).
- If the supply cord is damaged, it must be replaced by the manufacturer, its service agent or similarly qualified persons to avoid a hazard.
- Keep the cable away from sharp edges during handling and
installation. - Do not bend the electrical connection to the power supply.
- Do not pull on the cable or subject it to traction force.
- Avoid physical shock & impact to the heater when handling and after installation.
- Do not apply any pressure on the glass surface. Never hit the glass.
- Never use steam cleaners for cleaning of the appliance.
- Keep the electrical connection area to the power supply clean.
- Ensure that the heating unit is not directly exposed to rain or water
contact. - Do not install or use the heater in any way other that indicated in the instruction leaflet.
- Use this heater only as described in this manual. Any other use not recommended by the manufacturer may cause fire, electric shock, or injury to persons.
- If any part of the instruction manual is missing or damaged, contact Bromic for a complete version.
- If you are unsure of any aspect of the installation, contact Bromic for advice.
- Children should be supervised to ensure that they do not play with the appliance.
- The appliance shall under no circumstances, be covered with insulating material or similar material.
- The distance between the sides of the heater and the sides and any adjacent ceiling recessed heater shall not be less than four times the minimum distance specified for the distance between the sides of the heater and any building element adjacent to it.
PRODUCT OVERVIEW
The Platinum Smart-Heat™ Electric is designed to provide efficient spot heating for commercial and residential, land and coastal applications.
The heaters are built with corrosion resistant materials, have electrical approval in North America, Europe and Australia, and are rated to IP55 water Ingress Protection for the Marine variants and IP54 water Ingress Protection for the Non-Marine variants. Making the Platinum SmartHeat™ Electric the perfect solution for a variety of indoor and outdoor heating applications.
| SPECIFICATIONS | |||||||||||
| Model: | Platinum Smart-Hear Electric Series II 4500W | ||||||||||
| Variant: | Standard – IP54 | Marine – IP55 | |||||||||
| Region: | AU/NZ | EU/UK | US/CA | AU/NZ | EU/UK | US/CA | |||||
| Part no. | Black | 2622000 | BH3622000 | BH3622000 | BH3622004 | 2622002 | BH3622002 | BH3622002 | BH3622006 | ||
| White | 2622001 | BH3622001 | BH3622001 | BH3622005 | 2622003 | BH3622003 | BH3622003 | BH3622007 | |||
| Heat Output: | 4500 W | ||||||||||
| Power connection required: | 220-240 V – A.C. 50/60 Hz -18.8 A | 208 V – A.C. 60 Hz 21.6 A | 220-240 V – A.C. 50/60 Hz -18.8 A | 208 V – A.C. 60 Hz 21.6 A | |||||||
| Dimensions: (W x H x D) | 1351 x 257 x 54 mm (53.2″ x 101″ x 2.1″) | ||||||||||
| Weight: | 15kg (33Ibs) | ||||||||||
| Finish: | Brushed Stainless Steel 304 | Brushed Stainless Steel 316 | |||||||||
| Approval: | AU/NZ: RCM – IntertekEU/UK: CE/LVD – Intertek – 200802166 SHA-V1 CB – Intertek – SE-102296USA/CAN: cETLus – Intertek – 5001799 | ||||||||||
PRODUCT FEATURES
- Ultra-thin and stylish design
- Efficient directional spot heating
- Heat Zones — one or more heaters can be switched on and off simultaneously from a single remote-located switch – (controller to be purchased separately).
- Platinum Smart-Heat™ Electric Heaters can also be integrated into
smart control systems – with the additional purchase of the SmartHeat™ Link. - Wind resistant & IP55 water protection rating for Marine Variants.
- Wind resistant & IP54 water protection rating for Standard Variants.
- Ceiling and Wall Mounting Bracket – included with heater
- Optional Mounting Brackets – purchased separately from heater:
- Ceiling Recess Kit
- 600mm Tube Suspension Kit
- 1200mm Tube Suspension Kit
HEATING INSTALLATION INSTRUCTIONS
CEILING & WALL MOUNTING
Application for land and coastal installations ONLY
Heaters must be installed according to the minimum installation clearances shown in these diagrams.
The stated clearance to combustible materials represents surface temperature of 65°C (117°F) above room temperature. Building material with a low heating tolerance (such a plastic, vinyl siding, canvas, tri-ply etc.) may subject to degradation at lower temperature. It is the installer’s responsibility to assure that adjacent materials are protected.
WALL MOUNTING
CEILING MOUNTING FACE DOWN
Dimensions shown in mm (inches)
CEILING MOUNTING ANGLED
WARNING
MINIMUM DISTANCE BETWEEN HEATERS MEASURED FROM EDGE OF HEATER MUST BE AT LEAST 500mm (20”).
WARNING – Outdoor
Installation
This heater MUST be permanently installed by an authorised/ licenced person. Do not perform maintenance, or carry out installation or assembly procedure while electrical power is switched on. Wait 2 hours after switching off the heater before handling.
Marine Variants
In a salt-air environment, such as near an ocean, corrosion occurs more quickly than normal. Stainless 316 has been used in the Marine configuration. Remove salt spray from the heater immediately to prolong heater life. Use a qualified technician to check monthly for corroded areas and remove from service when heater safety is compromised.
CEILING MOUNTING
Standard Variants
Ensure that the heating unit is not directly exposed to rain or water contact. For the longest product life and to maintain product appearance, mount the heater under cover and protect from rain and weather.
HEATING INSTALLATION INSTRUCTIONS
OPTION 1
To exit the cable through the side of the wall mounting bracket, start from step 1.
- Unscrew and remove grey screw plug from the wall bracket (a).
- Attach the supplied metal cable gland (b) into the same hole from the outside of the bracket.
NOTE: Continue to step 3 below
OPTION 2
To exit the cable through the wall bracket directly into your ceiling or wall cavity, start from step 3.
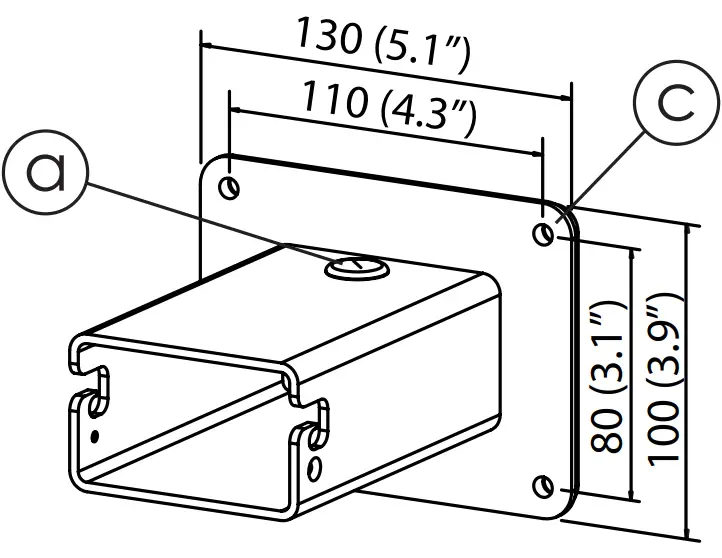
Optional: Cable exit through wall bracket - Attach the mounting bracket to the desired ceiling or wall location, using fasteners appropriate for the surface (not supplied). Ensure the bracket is firmly secured with fasteners in all 4 holes (c) before proceeding.
Wall mount
Ceiling mount
NOTE: For wall mounting, ensure the grey plug (a) or cable gland (b) is facing upwards.
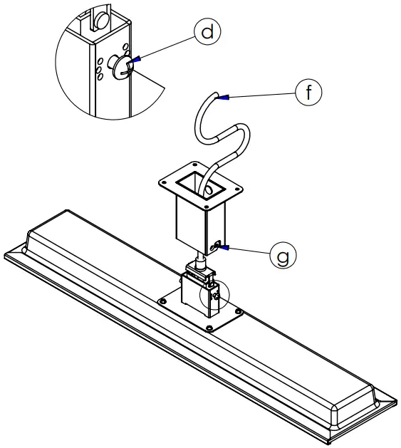
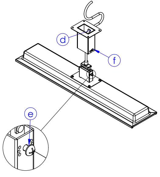
! WARNING: In order to maintain respective IP ratings and stop water entering the bracket, the mounting surface MUST be protected from the rain using the black gasket provided. - Ensure M6x14mm screws are inserted into both sides of heater bracket with approximately 6mm (0.3”) of the threaded shaft exposed under the screw head (d).

- For cable exit through the side of the wall bracket: feed heater power cable through cable gland in wall bracket (e).
NOTE: This is easier when the top of the cable gland is completely removed when feeding the cable through the bracket. The cap can then be inserted onto the cable for fastening. - For cable exit into the ceiling or wall cavity: make a small hole in the black gasket on the bracket mounting surface to pass the cable through. Make electrical connection now or feed cable into wall or ceiling for subsequent connection (f). This is described under ‘Electrical Installation’ on page 13.
- Insert heater bracket into mounting bracket by hooking M6 screws into place in mounting slots (g).
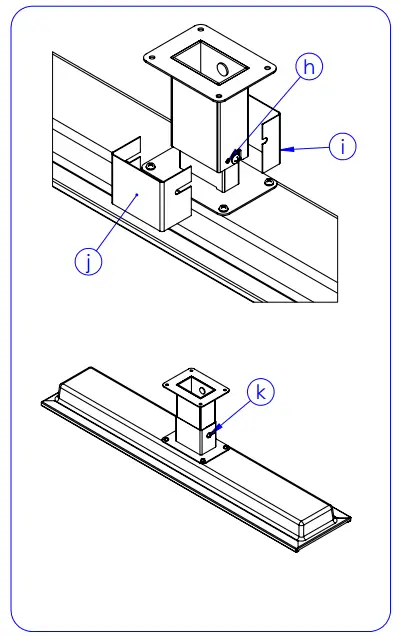
- To fix heater at desired angle, fully insert M3x10mm positioning screws (included with wall bracket) on both sides of mounting bracket whilst holding heater in the desired position (h). The heater can be positioned straight, or be angled 28° either way.
- Fit the smaller cover over the heater bracket so that the slots pass over theshafts of the M6x14mm mounting screws (i). Fit the larger cover over the smaller cover in the same way from the opposite side of the bracket (j). Use angled covers if heater is angled. Use straight covers if heater is not angled.
- Tighten mounting M6 screws firmly, ensuring covers fit snugly against the bracket on all sides (k).


IMPORTANT
Covers (i) and (j), and cable gland (b), MUST be fitted in order to achieve the respective IP ratings (Standard IP54, Marine IP55).
Electrical components, conduits and switches used MUST have IP ratings equal to or better than the respective ratings of the heater in order to maintain the heater IP ratings (Standard IP54, Marine IP55).
CEILING RECESS KIT INSTALLATION (SOLD SEPARATELY) FOR INFORMATION ONLY
| Ceiling Recess Kit | ||||
| Application | Standard – 4500W | Marine – 4500W | ||
| Region | AU/NZ | EU/UK/US/CA | AU/NZ | EU/UK/US/CA |
| Part Number | 2623000 | BH3623000 | 2623001 | BH3623001 |
| Material | Brushed Stainless Steel 304 | Brushed Stainless Steel 316 | ||
WARNING
Instructions below are suitable for ceiling surfaces 10-30mm (0.4-1.2”) thick. For ceiling surfaces thicker than 30mm (1.2”), contact Bromic for alternative installation options.
WARNING
The heater shall, under no circumstance, be covered with insulating material or similar material.
WARNING
INDIVIDUAL CLEARANCES TO COMBUSTIBLES ARE FIXED MINIMUMS.
WARNING
In ceiling recess installation, the heater must be completely protected against water contact from above.
WARNING
Joists, beams and rafters shall not be cut or notched to install the heater.
WARNING
MINIMUM DISTANCE BETWEEN HEATERS MEASURED FROM EDGE OF HEATER MUST BE AT LEAST 500mm (20”).
CLEARANCE TO COMBUSTIBLES
Dimensions shown in mm / inches
IMPORTANT
ENSURE THE CORRECT CEILING RECESS KIT IS BEING USED. REFER TO THE TABLE ABOVE FOR MORE INFO.
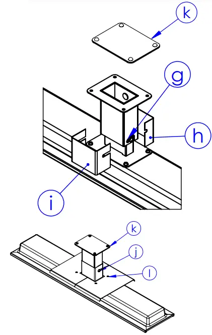
- Prepare ceiling cut-out with dimensions as above to fit ceiling recess frame (a). Heater must be installed with heater surface at least 2400mm (94”) above the floor level, with 500mm (20”) clearance to the nearest wall on all sides of the heater. Minimum distances to combustibles within cavity must be according to the dimensions shown above.
- From below, bring ceiling frame up and into ceiling cutout. Fasten ceiling frame into non-combustible structural members (i.e. non-combustible joists/ battens/ etc.) at both ends and centre using appropriate screws (b).


CEILING RECESS KIT INSTALLATION (SOLD SEPARATELY)
NOTE: The thickness of the ceiling surface dictates which locator hole to use. The fastening screws must be inserted into a strong non-combustible structural members that can easily support the weight of the heater. Your installation may require re-enforcing before the frame can be safely installed. - Unscrew and remove the grey plug from the wall bracket. Attach the supplied metal cable gland (c) into the same hole from the outside of the bracket.

- Feed heater power cable through cable gland (supplied) from inside of wall bracket (d).
- Ensure M6x14mm screws are inserted into either side of heater bracket with 6mm (0.3”) of the threaded shaft exposed under the screw head. (e).

- Insert heater bracket into mounting bracket by hooking M6 screws into place in mounting slots (f).

- Fix heater to bracket in straight position using M4x10mm positioning screws on either side of mounting bracket (g). Ensure M6 screws are sitting fully in the mounting slots (as if the heater were hanging from the wall bracket).
- Fit the smaller, straight cover over the heater bracket so that the slots pass over the shafts of the M6x14mm mounting screws (h). Fit the larger cover over the smaller cover in the same way from the opposite side of the bracket (i).

- Tighten mounting screws firmly, ensuring covers fit snugly against the bracket on all sides (j).
- Firmly tighten cable gland in wall bracket so that cable does not move when pulled.
- Attach the bracket end-cap to the wall bracket using the 4 x M5 screws and nuts provided (k).
- Carefully remove the 4 x M5 screws fastening the heater mounting bracket to the back of the heater. Be careful not to move or put any force on the bracket. Place the 2 halves of the ceiling recess mounting plate over the screw holes. Re-insert the screws & tighten firmly. (l)
- Make electrical connection from heater to power supply. This is described under ‘Electrical Installation’ on page 13.
- Raise one long side of heater up into ceiling frame cavity & then raise whole heater into cavity. (m)

- Rotate the heater into level position in the ceiling cavity (n) and then lower down onto the ceiling frame . Ensure the heater brackets are hooked over the ceiling frame and sitting in the slots on both sides. (o)
TUBE SUSPENSION (SOLD SEPARATELY)
REFER TO TABLE FOR TUBE SUSPENSION KIT CONFIGURATIONS
| Tube Suspension Kit | ||||
| Application | Standard | Marine | ||
| Material | Brushed Stainless Steel 304 | Brushed Stainless Steel 316 | ||
| Kit Description* | 23.62″ (600mm) | 47.24″ (1200mm) | 23.62″ (600mm) | 47.24″ (1200mm) |
| Pad Number AU/NZ | 2620243 | 2620244 | 2020564 | 2020565 |
| Pad Number EU/UK | BH3130023 | BH3130024 | BH3130056 | BH3130057 |
| Part Number US/CA | BH3130023-1 | BH3130024-1 | BH3130046 | BH3130047 |
- Application for land and coastal installations ONLY
- Heater must be installed with heater surface at least 2400mm (94”) above the floor level.
- Installation is identical to ‘Ceiling & Wall Mounting’ above.
- Use Tube Suspension Kit (sold separately) instead of mounting bracket supplied with heater.
- Tube Suspension Kit only suitable for ceiling mounting. Do not wall mount.

TUBE SUSPENSION (SOLD SEPARATELY)
Heater must be installed according to the minimum installation clearances shown in these diagrams.
CEILING MOUNTING ANGLED
CEILING MOUNTING FACE DOWN

WARNING
MINIMUM DISTANCE BETWEEN HEATERS MEASURED FROM EDGE OF HEATER MUST BE AT LEAST 500mm (20”).
WARNING – Outdoor Installation
This heater MUST be permanently installed by an authorised/ licenced person. Do not perform maintenance, or carry out installation or assembly procedure while electrical power is switched on. Wait 2 hours after switching off the heater before handling.
The stated clearance to combustible materials represents surface temperatures of 65°C (117°F) above room temperature. Building material with a low heating tolerance (such as plastic, vinyl siding, canvas, tri-ply etc.) may be subject to degradation at a lower temperature. It is the installer’s responsibility to assure that adjacent materials are protected.
ENSURE CORRECT KIT IS BEING USED FOR MARINE ENVIRONMENTS.
REFER TO THE TABLE ON THE PREVIOUS PAGE FOR PART NUMBERS.
ELECTRICAL INSTALLATION FOR AU/NZ/EU/UK – 220-240V
WIRING DIAGRAM – 4500W MODEL SINGLE PHASE 240V SUPPLY STANDARD INSTALLATION* (INDIVIDUAL ELEMENT CONTROL)
FOR PART NUMBERS:
WARNING
240 V AC Single Phase Heater MUST be permanently installed and hard wired by an authorised/ licensed person.
WIRING DIAGRAM – 4500W MODEL SINGLE PHASE 240V SUPPLY OPTIONAL INSTALLATION
FOR PART NUMBERS:
WARNING
240 V AC Single Phase Heater MUST be permanently installed and hard wired by an authorised/ licensed person.
WIRING DIAGRAM – 4500W MODEL SPLIT PHASE 240V SUPPLY STANDARD INSTALLATION* (INDIVIDUAL ELEMENT CONTROL)
FOR PART NUMBERS:
WARNING
240 V AC Single Phase Heater MUST be permanently installed and hard wired by an authorised/ licensed person.
For wiring instructions using:
- Bromic Smart-Heat Electric Wireless Dimmer BH3130011-1/ BH3130020 1/ 2620276-1 or
- ON/OFF Controller BH3130010-1/ BH3130019-1/ 2620275-1 refer to the instructions provided with the controller.
WIRING DIAGRAM – 4500W MODEL SPLIT PHASE 240V SUPPLY OPTIONAL INSTALLATION
FOR PART NUMBERS:
WARNING
240 V AC Single Phase Heater MUST be permanently installed and hard wired by an authorised/ licensed person.
WIRING DIAGRAM – 4500W MODEL THREE-PHASE Y 208V SUPPLY STANDARD INSTALLATION* (INDIVIDUAL ELEMENT CONTROL)

FOR PART NUMBERS:

WARNING
208 V AC Single Phase Heater MUST be permanently installed and hard wired by an authorised/ licensed person
WIRING DIAGRAM – 4500W MODEL THREE-PHASE Y 208V SUPPLY OPTIONAL INSTALLATION

FOR PART NUMBERS:

WARNING
208 V AC Single Phase Heater MUST be permanently installed and hard wired by an authorised/ licensed person.
For wiring instructions using:
- Bromic Smart-Heat Electric Wireless Dimmer BH3130011-1/ BH3130020 1/ 2620276-1 or
- ON/OFF Controller BH3130010-1/ BH3130019-1/ 2620275-1 refer to the instructions provided with the controller.
ELECTRICAL INSTALLATION
WARNING
This heater MUST be permanently installed by an authorised/licenced person. Do not perform maintenance, or carry out installation or assembly procedure while electrical power is switched on. To disconnect heater, turn off power to heater circuit at main disconnect panel.
WARNING
ELECTRICAL SHOCK HAZARD! Serious injury or death may occur. Disconnect from electrical supply before installing or servicing this heater. Read and follow installation clearance requirements outlined in this manual. The appliance MUST be connected to a properly grounded electrical source.
For wiring instructions using Bromic Smart-Heat Electric Wireless Dimmer BH3130011-1/ BH3130020-1/ 2620276-1 or ON/OFF Controller BH3130010-1/ BH3130019-1/ 2620275-1 refer to the instructions provided with the controller.
IMPORTANT: Electronic dimmer controls generate heat during operation. For Bromic heaters installed with Bromic Smart-Heat Electric Wireless Dimmer BH3130011-1/ BH3130020-1/ 2620276-1 or ON/OFF Control BH3130010-1/ BH3130019-1/ 2620275-1 It is essential to ensure dimmers are mounted in a clean, dry and well ventilated position with clearance on all sides. It must be ensured the dimmers ar e not installed in a confined space, close to other heat generating appliances or inthe case of a multi-dimmer installation, not too close together. Dimmers must remain cool at all times. Please consult Bromic dimmer installation instructions for further details or for further questions please contact Bromic technical support services.
SERVICING
WARNING
ELECTRICAL SHOCK HAZARD! Serious injury or death may occur. Disconnect from electrical supply before servicing this heater
WARNING
Servicing and maintenance MUST be carried out by an authorised and licenced service person only. Do not operate any heater after it malfunctions. Disconnect power at service panel and have heater inspected by a reputable electrician before reusing.
WARNING
If the supply cord is damaged, it must be replaced by Bromic, a service agent of Bromic or similarly qualified persons in order to avoid a hazard. Contact Bromic for further information on replacement of the supply cord.
MAINTENANCE
Ensure that the heating unit is not directly exposed to rain or water contact. For longest product life, and to maintain product appearance, mount heater under cover and protect from rain and weather whenever possible.
The exterior housing of the heater should be inspected and cleaned regularly. To clean the appliance; ensure heater is off, and has been off for at least 2 hours after operation, before wiping off any dirt/dust with a soft damp cloth.
Salt in the air can cause rusting of metal, especially in adverse conditions such as coastal environments. Additional cleaning of the heater with a soft damp cloth fortnightly will aid in maintaining the product’s appearance.
TROUBLESHOOTING
| SYMPTOM | POSSIBLE CAUSE (S) | CORRECTIVE ACTION |
| No heat |
|
|
| Not enough heat |
|
|
| Too much heat |
|
|































