BROMIC Tungsten Smart-Heat Electric Heater Instruction Manual
BROMIC Tungsten Smart-Heat
Electric Heater

IMPORTANT
READ THIS MANUAL CAREFULLY. SEE INSIDE COVER FOR IMPORTANT INFORMATION ABOUT THIS MANUAL.KEEP INSTRUCTION WITH APPLIANCE FOR FUTURE
REFERENCE.!
IMPORTANT
This manual contains important information about the installation, operation, and maintenance of Tungsten Smart-HeatTM Electric Heaters. Please pay close attention to the important safety information shown throughout this instruction manual. Any safety information will be accompanied by the following safety alert symbols:
DANGER,
WARNING,
IMPORTANT
- READ THIS MANUAL CAREFULLY before installing or servicing this product.
- Improper installation, operation, or maintenance can result in death, severe injury, or property damage.
- Use this heater only as described in this manual. Any other use not recommended by the manufacturer may cause fire, electric shock, or injury to persons
- This appliance is intended for fixed installation with 230240Volt power supply.
- Installation MUST be carried out by a licensed and authorised technician in accordance with local electrical codes.
- For Domestic and Commercial Use
- Patent Pending & Registered Design
NOTE: IMPORTANT INSTRUCTIONS, SAVE THESE INSTRUCTIONS
IMPORTANT NOTES & WARNINGS
WARNING
- Read all instructions before installing or using this heater
- Use this heater only as described in this manual. Any other use not recommended by the manufacturer may cause fire, electric shock, or injury to persons.
- Improper installation, adjustment, or alteration and failure to follow the warnings and instructions in this manual could result in severe personal injury, death or property damage.
- The manufacturer is not responsible for any damage that could happen from improper use. The manufacturer emphasises that this appliance should be used in a responsible manner and that all procedures, warnings, and safety instructions contained in this booklet be followed strictly.
- This heater is not intended for use in bathrooms, laundry areas and similar indoor locations. Never locate heater where it may fall into a bathtub or other water container.
- Do not install the heater directly near a bathtub, shower or swimming pool. Any switches or controls must not be within reach of a person in the bathtub, shower or swimming pool.
- This heater is hot when in use. To avoid burns do not let bare skin touch hot surfaces. Keep combustible materials such as furniture, pillows, bedding, papers, clothes , etc. and curtains at least 3′ (900mm) from the front the front of the heater and keep them away from the sides and rear.
- Extreme caution is necessary when any heater is used by or near children or invalids and whenever the heater is left operating and unattended.
- This appliance is not intended for use by persons (including children) with reduced physical, sensory or mental capabilities, or lack of experience and knowledge, unless they have been given supervision or instruction concerning use of the appliance by a person responsible for their safety
- Keep packaging materials out of reach of children
- Children and adults should be alerted to the hazards of high surface temperatures and should stay away to avoid burns, clothing ignition, or other serious personal injury
- Children should be carefully supervised when they are in the area of the heater.
- Do not attempt to alter the unit in any manner.
- Do not paint any surface of the heater.
- Do not touch the heater with wet hands at any time.
- Do not insert or allow foreign objects to enter front cover or front opening as this may cause an electric shock or fire, or damage the heater
- Do not touch the heating surface at any time, even when the heater is turned off and has cooled down.
- Do not use or store flammable materials near this appliance
- Do not spray aerosols or flammable materials in the vicinity of this appliance while it is in operation
- Never operate the heater in an explosive environment such as areas where petrol or other flammable liquids or vapours are stored.
- Clothing or other flammable materials should not be hung from the heater or placed on or near the heater.
INSTALLATION
- IMPORTANT – Installation must be carried out by a licensed and authorised person.
- The installer is to ensure that the requirements of the local authority, local electrical installation code, municipal building codes, and any other relevant statutory regulations are carried out.
- After unpacking, make sure the appliance shows no signs of visible damage or tampering. If the appliance appears damaged, contact the place of purchase for assistance.
- Remove transit protection before use
- This appliance must only be used on a 230-240 Volt AC Single Phase electricity supply.
- This radiant heater is NOT intended to be installed on recreational vehicles and/or boats.
- Do not run cord under carpeting. Do not cover with throw rugs, runners or the like arrange cord away from traffic area and where it will not be tripped over
- A heater has hot and arcing or sparking parts inside. Do not use it in areas where gasoline, paint or flammable liquids are used or stored.
- To maintain Ingress Protection Rating (IPX4), only IPX4 rated conduit fittings should be used for electrical installation.
- Warning -To Reduce the risk of fire with Danger To Avoid Fire
- This Installation, Operation and Service manual should not be removed from the site of installation. Installer should leave manual with the customer for future reference.
- Any guard or other protective device removed for servicing (conducted by an authorised person) must be replaced before operating the heater
- Heaters are not intended to be installed in wardrobes.
- The appliance must not be located directly below or in front of a wall electricity socket. This is because the heat radiated from the appliance may damage the electricity outlet or plug.
- If the appliance has not been used, or will not be used, for a long period of time, disconnect power supply
- A means for disconnection of the heater must be incorporated in the fixed wiring according to the local electrical codes.
- Do not mount the heater vertically. Install Heater so that the infrared elements are
- Horizontal. Failure to do this may cause the heating element within the tube to sag and cause premature burnout. Installing vertically will void the manufacturer’s warranty.
CLEARANCE
- Do not place articles on or against this appliance
- A minimum safety distance of 3′ (900mm) should always be left in front of the appliance.
- Be sure the heater is not facing the ceiling or flammable or combustible substances/materials.
MAINTENANCE/ REPAIR
- Installation and repair must be carried out by a qualified & licenced service person only. The heater should be inspected
IMPORTANT NOTES AND WARNINGS CONTINUES …
before use and at least annually serviced & inspected by a qualified & licenced service person.
- Do not perform maintenance until heater has been turned off, power disconnected, and heater temperature has cooled to room temperature.
- Check for damage to the appliance regularly. If damage to the appliance is suspected, discontinue use immediately and contact the supplier or qualified person to repair.
- If the supply cord is damaged, it must be replaced by an authorised and licenced person in order to avoid a hazard.
- At the end of this product’s useful life, it must not be disposed of as domestic waste, but must be taken to a collection centre for waste electrical and electronic equipment. It is the user’s responsibility to dispose of this appliance through the appropriate channels at the end of its useful life. Failure to do so may incur the penalties established by laws governing waste
disposal. Proper differential collection, and the subsequent recycling, processing and environmentally compatible disposal of waste equipment avoids unnecessary damage to the environment and possible related health risks, and also promotes recycling of the materials used in the appliance. For further information on waste collection and disposal, contact your local waste disposal service, or the place of purchase
PRODUCT OVERVIEW
| Mode | 2000W | 3000W | 4000W | 6000W |
| Part no | BH0420002 | BH0420003 | BH0420004 | BH0420005 |
| No. of Elements | Single element | Single element | Double element | Double element |
| Bracket Length | 6.5” | 6.5” | 9.5” | 9.5” |
| Power (Watts) | 1.8 – 2.0kW | 2.8 – 3.0kW | 3.4-3.9kW | 5.4-5.9kW |
| Heating Area* | up to 64ft2 | up to 100ft2 | up to 120ft2 | up to 144ft2 |
| Power connection required (Volts/ Amps) | 230-240V – a.c.- 50/60Hz / 8.3A | 230-240V -a.c.- 50/60Hz / 12.5A | 230-240V -a.c.- 50/60Hz / 16.6A | 230-240V -a.c.- 50/60Hz / 25A |
| Dimension (W”xD”xH”) | 44” x 8.5” x 3.5” | 56” x 8.5” x 3.5” | 44” x 8.5” x 3.5” | 56” x 8.5” x 3.5” |
| Weight (kg) | 19.8lbs | 22lbs | 19.8lbs | 22lbs |
| Finish | Black High Temperature Coating | |||
Heating areas are based on protected environment with mounting height of 96″ (8′). For unprotected and extremely cold and windy environments heating areas can be less. Please contact Bromic Heating for further advice.
PRODUCT FEATURES
- The Tungsten Smart-Heat Electric heaters are designed to provide efficient spot heating for commercial and residential applications.
- Suitable for indoor and outdoor heating applications such as restaurants, cafes, bars and clubs, factories, office spaces, designated smoking areas, public areas, hotels and more.
- The heaters are available in 2000W, 3000W, 4000W and 6000W models to suit a range of environments.
- High temperature corrosion-resistant coating.
- IPX4 water ingress protection rating.
- Soft glow infrared heating element – No harsh glare.
- Wall and ceiling mounting brackets allowing adjustable angle of the heating direction.
- Tube elements are included with the heater and easily installed.
- Heater is equipped with spectral reflector for excellent radiant heat output.
- Patent Pending & Registered Design
HEATER INSTALLATION
WARNING
DO NOT MOUNT THE HEATER VERTICALLY!
Heater MUST be installed so that the tube elements are horizontal. Failure to do this will cause the heating element within the tube to sag and cause premature burnout. Installing vertically will void the manufacturers
warranty.
WARNING
DO NOT MOUNT THE HEATER VERTICALLY! For outdoor installation heater must be mounted with face of heater angled down. For longest product life & to maintain product appearance mount heater under cover & protect from rain & weather whenever possible.
- INSTALLATION CLEARANCES
FOR 2000W & 3000W MODELS
2000W & 3000w models must be installed with the minimum installation clearances shown in below diagrams. 2000W & 3000W models are supplied with short mounting brackets to be used for both ceiling & wall mounting.
FOR CANADA (CETL) APPROVAL DO
NOT INSTALL LESS THAN 96” (8’)
FROM THE FLOOR. - INSTALLATION CLEARANCESFOR 4000W & 6000W MODELS
4000W & 6000W models must be installed with the minimum installation clearances shown in below diagrams. 4000W & 6000W models are supplied with long mounting brackets to be used for both ceiling & wall mounting. Alternatively, short mounting brackets can be used for wall mounting of the 4000W & 6000W models to position the heater closer to the wall. Short mounting brackets must be purchased separately.
FOR CANADA (CETL) APPROVAL DO
NOT INSTALL LESS THAN 96” (8’)FROM THE FLOOR.
CEILING & WALL MOUNTING
Mark mounting hole centres on ceiling or wall.
- Mounting Hole Centres & Heater Position 2000W & 4000 Models

3000W & 6000 Models
- Attach mounting brackets to ceiling or wall using appropriate fasteners (Not supplied).
- Bring heater up to mounting brackets and lock into position with M5x10 screw & nut.
- Rotate heater to required angle. Lock into position with
- .Make electrical connection from heater to power supply.
- Mounting Hole Centres & Heater Position 2000W & 4000 Models
CHAIN SUSPENSION
- Heater must be installed with heater surface 2400mm above the floor level. If required, cut down length of chain to ensure correct installation height.
- Attach chains to heater with “S” hooks. Crimp “S” hooks closed after assembly.
- Prepare ceiling structure for heater. Attach chains to ceiling structure & suspend heater.
- Make electrical connection from heater to power supply. If required fix suply power cord to ceiling chain with cable ties.

- TUBE TUBE SUSPENSION (SOLD SEPARATELY
- Mark mounting hole centres on ceiling. Attach mounting brackets to ceiling using appropriate fasteners (not supplied)
- Mounting Hole Centres & Heater Position
2000W & 4000W Models
3000W & 6000W Models
- Heater must be installed with heater surface at least 2400mm above the floor level. Supplied suspension tubes position heater surface 1000mm below the ceiling surface. If required, cut down length of suspension tubes to ensure correct installation height. Minimum distance from front surface of heater to ceiling surface must be 250mm for 2000W & 3000W models & 330mm for 4000W & 6000W models.

- If suspension tubes are cut down, drill new mounting holes in each tube.

Suspension Tube
Mounting Hole - Make electrical connection in junction box as per electrical installation instructions in this manual.
- Feed power cord through suspension tube.

- Assemble suspension tubes to rear bracket with MS screw, spring washer and nut.
- Rotate heater to required angle. 15° or 30° in either direction. Lock into position with self tapping screw.

- Raise heater assembly into position. Attach suspension tubes to ceiling brackets with M5x35mm screws, spring washers & nuts.

- make electrical concatenation form suspension tube power cord to power from ceiling as per electrical installation instruction in this manual

- Mounting Hole Centres & Heater Position
- Mark mounting hole centres on ceiling. Attach mounting brackets to ceiling using appropriate fasteners (not supplied)
CEILING RECESS KIT (SOLD SEPARATELY)
- Prepare ceiling cut out & ceiling box. Minimum ceiling box dimensions must be as shown in table. Heater must be installed with heater surface at least 2400mm above the floor level.
2 LAYERS OF 5/8” FIREPROOF
INSULATION MUST BE INSTALLED ON ALL
SURFACES OF CEILING BOX
- From below, bring ceiling frame up and into ceiling cut out. .
- Fasten ceiling frame to ceiling box through mounting holes with fasteners (not supplied).

- Prepare heater for installation.
Attach mounting brackets to both ends of heater with supplied fasteners.
- Assemble supplied terminal blocks, wire, conduit & junction box cover. The Ceiling Recess Kit is supplied with 5 wires & 2 terminal blocks. Not all parts are required for all installations. See wiring diagrams for installation options. For double element heater models the elements can be wired to be turned on independently or together.

- Raise one side of heater up into the ceiling box & then raise whole heater into cavity.

- Rotate the heater into horizontal position in the ceiling box & then lower down onto the ceiling frame.
- Ensure all four side mounting brackets are hooked over the ceiling frame & centre the heater inside the frame.
- Make electrical connection from heater to power supply as per electrical installation instructions in this manual. Connection to be made outside the ceiling box on the side or top of the ceiling box.

- Prepare ceiling cut out & ceiling box. Minimum ceiling box dimensions must be as shown in table. Heater must be installed with heater surface at least 2400mm above the floor level.
ELEMENT INSTALLATION
WARNING
This Heater MUST be permanently Installed and hard wired by an authorised/licenced person. Do Not perform maintenance, or carry out installation or assembly procedure while electrical power is switched on.
- Remove the front cover from the heater.


- Check that ring terminals are crimped securely to cables. 2000W & 3000W models have one cable at each end for assembly of one element. 4000W & 6000W models have two cables at each end for assembly of two elements. The first element must be connected to the cables marked L1 & N1. The second element must be connected to the cable marked L2 & N2.

2000W & 3000WModels
4000W & 6000W Models - Fasten elements to cables. Remove outer nut & lock washer from the threaded stud on the element. Assemble ring terminal to the threaded stud & secure with outer nut and lock washer. Use one spanner to hold the inner nut on the element, while fastening the outer nut with a second spanner. Repeat for other end of element.


- Put elements in the support bracket. For 2000W & 3000W models put element in the centre position. For 4000W & 6000W models put elements in the outside positions.

2000W & 3000W Models
4000W & 6000W Models - Close element lock bracket & fasten with self tapping screw. Repeat for other end of heater.


- Assemble end caps at both ends of the heater with 2 self tapping screws. For 4000W & 6000W models ensure that the middle tab of the end caps are slotted behind the element support bracket.

2000W & 3000W Models
4000W & 6000W Models
- Assemble front cover onto the heater. Hook front cover to one side of the heater and push other side down. Fasten into position with 3 self tapping screws.




ELECTRICAL INSTALLATION
WARNING
This Heater MUST be permanently Installed and hard wired by an authorised/licenced person. Do Not perform maintenance, or carry out installation or assembly procedure while electrical power is switched on.
WARNING
ELECTRICAL SHOCK HAZARD! Serious injury or death may occur. Disconnect from electrical supply before installing or servicing this heater. Read and follow installation clearance requirements outlined in this manual. The Appliance MUST be connected to a properly grounded electrical source.
ELECTRICAL INSTALLATION
- Check product label for correct voltage and wattage. Make sure power source conforms to the heaters requirements
- . Junction box has a 0.86″ (22mm) to a standard 1/2 “weather tight conduit fittings. Install cord grip with minimum rating of IPX4 to maintain the water ingress protection rating of the heater. Cord grip must have minimum temperature rating of 90°C (194°F). Failure to install correctly will avoid the manufacturer’s warranty.
- For supply connections, use suitable power supply wire at least 90°C (194°F). Use Copper or aluminium wire. For 2000W Model: Use only on 15 Ampere branch circuit. For 3000W Model: Use only on 20Ampere branch circuit
- Make electrical connections in accordance with local electrical code regulations. For outdoor installation all connections must be made in accordance with local electrical code regulations for outdoor wiring. Only use wiring components approved for outdoor use with minimum IPX4 rating. For 2000W & 3000W models the junction box has one active and one neutral pig

WIRING DIAGRAM
TUNGSTEN SMART-HEAT ELECTRIC
STANDARD INSTALLATION
2000W & 3000W MODELS
WARNING
240 V AC Single Phase Heater must be permanently installed and hard wired by an authorised/licenced person.
Junction Box
WIRING DIAGRAM
TUNGSTEN SMART-HEAT ELECTRIC
STANDARD INSTALLATION
4000W & 6000W MODELS
WARNING
240 V AC Single Phase Heater must be permanently installed and hard wired by an authorised/licenced person.
WIRING DIAGRAM
TUNGSTEN SMART-HEAT ELECTRIC
OPTIONAL INSTALLATION
4000W & 6000W MODELS
WARNING
240 V AC Single Phase Heater must be permanently installed and hard wired by an authorised/licenced person.
SERVICING
! WARNING
Servicing and maintenance MUST be carried out by an authorised and licensed person only
! WARNING
MAINTENANCE
For longest product life & to maintain product appearance mount heater under cover & protect from rain & weather whenever possible. The exterior housing of the heater should be cleaned regularly with a soft damp cloth. For locations near the coast, salt in the air can cause rusting of metal. Additional cleaning of the heater with a soft damp cloth fortnightly will increase the life of the products appearance. Ensure that there is no excessive build-up of dirt/dust on the reflectors or elements as this can cause overheating and premature element failure. To clean the reflectors and elements, ensure heater is off and has been off for at least 2 hours after operation, and wipe off any dirt/dust with a soft & dry cloth.
TUBE ELEMENT REPLACEMENT
- Remove Front Cover of the heater by unscrewing the 3 screws holding it in place.
- Remove first Element End Cover by unscrewing the 2 screws holding it in place.
- Remove Outer Hex Nut, Lock Washer and Lead Wire Ring Terminal from the threaded stud.
- Remove second Element End Cover by unscrewing the 2 screws holding it in place.
- Remove Outer Hex Nut, Lock Washer and Lead Wire Ring Terminal from the threaded stud.
- Remove old Tube Element.
- Install new Tube Element by following element installa- tion instructions on page 8 of this manual.

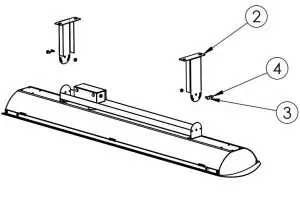
REPLACEMENT PART LIST
| No. | Description | BH0420002 (2000W) | BH0420003 (3000W) | BH0420004 (4000W) | BH0420005 (6000W) |
| 1 | Tube Element | BH8180001 | BH8180002 | BH8180001 | BH8180002 |
| 2 | Front Cover | BH8180003 | BH8180004 | BH8180003 | BH8180004 |
| 3 | Element End Cover Set | BH8180005 | BH8180006 | BH8180005 | BH8180006 |
| 4 | Junction Box Cover & Seal Set | BH8180007 | BH8180007 | BH8180007 | BH8180007 |
| 5 | Mounting Bracket Set (Short) | BH8180008 | BH8180008 | BH8180008 | BH8180008 |
| 6 | Mounting Bracket Set (Long) | BH8180009 | BH8180009 | BH8180009 | BH8180009 |
| 7 | Ceiling Recess Kit | BH8180010 | BH8180011 | BH8180010 | BH8180011 |
| 8 | Tube Suspension Kit | BH8180012 | BH8180012 | BH8180012 | BH8180012 |
| 9 | Chain Suspension Kit | BH8180013 | BH8180013 | BH8180013 | BH8180013 |
TROUBLESHOOTING
| SYMPTOM | POSSIBLE CAUSE (S) | CORRECTIVE ACTION |
| Element does not energize | 1. Defective element 2. Improper connection | 1. Replace element 2. Check connection to power outlet |
| Not enough heat | . Heater too small for application 2. Heater mounted too high or too far | 1. Add additional heater(s) 2. Decrease mounting height or distance |
| Too much heat | 1. Heater too large for application 2. Heater mount too low or too close | 1. Replace with smaller heater 2. Increase mounting height or distance |
| Hot spot in Tube | 1. Heater is not level 2. Grease or moisture on tube | 1. Adjust to level mount 2. Clear tube-replace if problem persists |









































![Bromic Tungsten Smart-heat Electric Heater User Manual [tungsten 2000w, Tungsten 3000w, Tungsten 4000w, Tungsten 6000w] Bromic Tungsten Smart-heat Electric Heater User Manual [tungsten 2000w, Tungsten 3000w, Tungsten 4000w, Tungsten 6000w]](https://static-data1.manualsee.com/1/img/268/72532/2021/02/Bromic-Tungsten-Smart-Heat-Electric-Heater-User-Manual-TUNGSTEN-2000W-TUNGSTEN-3000W-TUNGSTEN-4000W-TUNGSTEN-6000W.jpg)













