BROMIC HEATING BH04200XX Tungsten Smart-Heat 6000w Electric Patio Heater

IMPORTANT
READ THIS MANUAL CAREFULLY. SEE INSIDE COVER FOR IMPORTANT INFORMATION ABOUT THIS MANUAL. KEEP INSTRUCTION WITH APPLIANCE FOR FUTURE REFERENCE.
This manual contains important information about the installation, operation, and maintenance of Tungsten Smart-Heat™ Electric Heaters. Please pay close attention to the important safety information shown throughout this instruction manual. Any safety information will be accompanied by the following safety alert symbols:
! DANGER, WARNING, ! IMPORTANT
- READ THIS MANUAL CAREFULLY before installing or servicing this product.
- Improper installation, operation, or maintenance can result in death, severe injury, or property damage.
- This appliance is intended for fixed installation with 230-240Volt power supply.
- Installation MUST be carried out by a licensed and authorised technician in accordance with local electrical codes.
- Patent Pending & Australian Registered Design 338721
IMPORTANT NOTES AND WARNINGS
WARNING
- Read all instructions before installing or using this heater
- Use this heater only as described in this manual. Any other use not recommended by the manufacturer may cause fire, electric shock, or injury to persons.
- Improper installation, adjustment, or alteration and failure to follow the warnings and instructions in this manual could result in severe personal injury, death or property damage.
- The manufacturer is not responsible for any damage that could happen from improper use. The manufacturer emphasises that this appliance should be used in a responsible manner and that all procedures, warnings, and safety instructions contained in this booklet be followed strictly.
- This heater is not intended for use in bathrooms, laundry areas and similar indoor locations. Never locate heater where it may fall into a bathtub or other water container.
- Do not install the heater directly near a bathtub, shower or swimming pool. Any switches or controls must not be within reach of a person in the bathtub, shower or swimming pool.
- This heater is hot when in use. To avoid burns do not let bare skin touch hot surfaces. Keep combustible materials such as furniture, pillows, bedding, papers, clothes , etc. and curtains at least 1 metre from the front the front of the heater and keep them away from the sides and rear.
- Extreme caution is necessary when any heater is used by or near children or invalids and whenever the heater is left operating and unattended.
- This appliance is not intended for use by persons (including children) with reduced physical, sensory or mental capabilities, or lack of experience and knowledge, unless they have been given supervision or instruction concerning use of the appliance by a person responsible for their safety.
- Keep packaging materials out of reach of children
- Children and adults should be alerted to the hazards of high surface temperatures and should stay away to avoid burns, clothing ignition, or other serious personal injury
- Children should be carefully supervised when they are in the area of the heater.
- Do not attempt to alter the unit in any manner.
- Do not paint any surface of the heater.
- Do not touch the heater with wet hands at any time.
- Do not insert or allow foreign objects to enter front cover or front opening as this may cause an electric shock or fire, or damage the heater
- Do not touch the heating surface at any time, even when the heater is turned off and has cooled down.
- Do not use or store flammable materials near this appliance
- Do not spray aerosols or flammable materials in the vicinity of this appliance while it is in operation
- Never operate the heater in an explosive environment such as areas where petrol or other flammable liquids or vapours are stored.
- Clothing or other flammable materials should not be hung from the heater or placed on or near the heater.
INSTALLATION - IMPORTANT – Installation must be carried out by a licensed and authorised person.
- The installer is to ensure that the requirements of the local authority, local electrical installation code, municipal building codes, and any other relevant statutory regulations are carried out.
- After unpacking, make sure the appliance shows no signs of visible damage or tampering. If the appliance appears damaged, contact the place of purchase for assistance.
- Remove transit protection before use.
- This appliance must only be used on a 230-240 Volt AC Single Phase electricity supply
- This radiant heater is NOT intended to be installed on recreational vehicles and/or boats.
- Do not run cord under carpeting. Do not cover with throw rugs, runners or the like arrange cord away from traffic area and where it will not be tripped over
- A heater has hot and arcing or sparking parts inside. Do not use it in areas where gasoline, paint or flammable liquids are used or stored.
- To maintain Ingress Protection Rating (IPX4), only IPX4 rated conduit fittings should be used for electrical installation.
- Warning –To Reduce the risk of fire with Danger –To Avoid Fire
- This warning tag shall be permanently affixed to the power supply cord, no more than 152mm from the attachment plug and the permanence of the warning tag shall be determined in accordance with Test for Permanence of Cord Tag Section:53
- This Installation, Operation and Service manual should not be removed from the site of installation. Installer should leave manual with the customer for future reference.
- Any guard or other protective device removed for servicing (conducted by an authorised person) must be replaced before operating the heater.
- Heaters are not intended to be installed in wardrobes.
- The appliance must not be located directly below or in front of a wall electricity socket. This is because the heat radiated from the appliance may damage the electricity outlet or plug.
- If the appliance has not been used, or will not be used, for a long period of time, disconnect power supply
- A means for all-pole disconnection of the heater must be incorporated in the fixed wiring according to the local electrical codes.
- Do not mount the heater vertically. Install Heater so that the infrared elements are horizontal. Failure to do this may cause the heating element within the tube to sag and cause premature burnout. Installing vertically will void the manufacturer’s warranty.
CLEARANCE
- Do not place articles on or against this appliance
- A minimum safety distance of 1000mm should always be left in front of the appliance.
- This unit must be mounted at a minimum of 1800 mm above the floor.
- Be sure the heater is not facing the ceiling or flammable or combustible substances/materials.
Product overview
| SPECIFICATIONS | ||||
| Model | 2000W | 3000W | 4000W | 6000W |
| No. of Elements | Single element | Single element | Double element | Double element |
| Bracket Length | 164mm | 164mm | 244mm | 244mm |
| Heat Output (Watts) | 2000W | 3000W | 4000W | 6000W |
| Heating Area* | up to 6m2 | up to 9m2 | up to 11m2 | up to 13m2 |
| Power connection required (Volts/Amps) | 230-240V / 8.3 A | 230-240V / 12.5 A | 230-240V / 16.6 A | 230-240V / 25 A |
| Dimension (WxDxHmm) | 1117 x 214 x 86mm | 1410 x 214 x 86mm | 1117 x 214 x 86mm | 1410 x 214 x 86mm |
| Weight (kg) | 9kg | 10kg | 9kg | 10kg |
| Finish | Black High Temperature Coating | |||
| Approval | Australian Approval Number SGSEA/120315 | |||
*Heating areas are based on protected environment with mounting height of 96” (8’). For unprotected and extremely cold and windy environments heating areas can be less. Please contact Bromic Heating for further advice.
PRODUCT FEATURES
- The Tungsten Smart-Heat™ Electric heaters are designed to provide efficient spot heating for commercial and residential
- Suitable for indoor and outdoor heating applications such as restaurants, cafes, bars and clubs, factories, office spaces, designated smoking areas, public areas, hotels and
- The heaters are available in 2000W, 3000W, 4000W and 6000W models to suit a range of
- High temperature corrosion-resistant coating
- IPX4 water ingress protection
- Soft glow infrared heating element – No harsh
- Wall and ceiling mounting brackets allowing adjustable angle of the heating
- Tube elements are included with the heater and easily
- Heater is equipped with spectral reflector for excellent radiant heat
- Patent Pending & Australian Registered Design 338721
HEATER INSTALLATION
WARNING
This Heater MUST be permanently Installed and hard wired by an authorised/licenced person. Do Not perform maintenance, carry out installation or assembly procedure while electrical power is switched on.
REMOVE PACKAGING MATERIAL
All packaging material must be removed from heater before installation.
- Remove warning note from front of the heater

- Remove 3 screws & front cover

- Remove packaging material around heating elements

- Check element markings at both ends of heater. Ensure marks on heating element are in line with marks on end cap.

- Assemble front cover & 3 screws

WARNING
DO NOT MOUNT THE HEATER VERTICALLY! Heater MUST be installed so that the tube elements are horizontal. Failure to do this will cause the heating element within the tube to sag and cause premature burnout. Installing vertically will void the manufacturers warranty
WARNING
DO NOT MOUNT THE HEATER VERTICALLY! For outdoor installation heater must be mounted with face of heater angled down. For longest product life & to maintain product appearance mount heater under cover & protect from rain & weather whenever possible.
INSTALLATION CLEARANCES FOR 2000W & 3000W MODELS
2000W & 3000w models must be installed with the minimum installation clearances shown in below diagrams. 2000W & 3000W models are supplied with short mounting brackets to be used for both ceiling & wall mounting.

WARNING
MINIMUM DISTANCE BETWEEN HEATERS MEASURED FROM EDGE OF HEATER MUST BE AT LEAST 500mm
The stated clearance to combustible materials represents surface temperature of 65oC above room temperature. Building material with a low heat tolerance (such as plastic, vinyl siding, canvas, tri-ply etc.) may subject to degradation at lower temperature. It is the installer’s responsibility to assure that adjacent materials are protected
INSTALLATION CLEARANCES FOR 4000W & 6000W MODELS
4000W & 6000W models must be installed with the minimum installation clearances shown in below diagrams. 4000W & 6000W models are supplied with long mounting brackets to be used for both ceiling & wall mounting. Alternatively, short mounting brackets can be used for wall mounting of the 4000W & 6000W models to position the heater closer to the wall. Short mounting brackets must be purchased separately.

WARNING
MINIMUM DISTANCE BETWEEN HEATERS MEASURED FROM EDGE OF HEATER MUST BE AT LEAST 500mm
CEILING & WALL MOUNTING
- Mark mounting hole centres on ceiling or wall.
Mounting Hole Centres & Heater Position
- Attach mounting brackets to ceiling or wall using appropriate fasteners (Not supplied)
- Bring heater up to mounting brackets and lock into position with M5x10 screw & nut.
- Rotate heater to required Lock into position with self tapping screw
- Make electrical connection from heater to power supply.

CHAIN SUSPENSION (SOLD SEPARATELY)
- Heater must be installed with heater surface 2400mm above the floor level. If required, cut down length of chain to ensure correct installation
- Attach chains to heater with “S” Crimp “S” hooks closed after assembly.
- Prepare ceiling structure for Attach chains to ceiling structure & suspend heater.
- Make electrical connection from heater to power If required fix suply power cord to ceiling chain with cable ties.

TUBE SUSPENSION (SOLD SEPARATELY)
- Mark mounting hole centres on ceiling. Attach mounting brackets to ceiling using appropriate fasteners (Not supplied)
Mounting Hole Centres & Heater Position
- Heater must be installed with heater surface at least 2400mm above the floor Supplied suspension tubes position heater surface 1000mm below the ceiling surface. If required, cut down length of suspension tubes to ensure correct installation height. Minimum distance from front surface of heater to ceiling surface must be 250mm for 2000W & 3000W models & 330mm for 4000W & 6000W models.
- If suspension tubes are cut down, drill new mounting holes in each tube

- Make electrical connection in junction box as per electrical installation instructions in this
- Feed power cord through suspension
- Assemble suspension tubes to rear bracket with M5 screw, spring washer and
- Rotate heater to required 15° or 30° in either direction. Lock into position with self tapping screw.
- Raise heater assembly into position. Attach suspension tubes to ceiling brackets with M5x35mm screws, spring washers & nuts

- Make electrical connection from suspension tube power cord to power from ceiling as per electrical installation instructions in this manual

CEILING RECESS KIT (SOLD SEPARATELY)
- Prepare ceiling cut out & ceiling Minimum ceiling box dimensions must be as shown in table. Heater must be installed with heater surface at least 2400mm above the floor level

WARNING
MINIMUM DISTANCE BETWEEN HEATERS MEASURED FROM EDGE OF HEATER MUST BE AT LEAST 500mm - From below, bring ceiling frame up and into ceiling cut out.
- Fasten ceiling frame to ceiling box through mounting holes with fasteners (not supplied

- Prepare heater for installation. Attach mounting brackets to both ends of heater with supplied fasteners.

- Assemble supplied terminal blocks, wire, conduit & junction box cover.
The Ceiling Recess Kit is supplied with 5 wires & 2 terminal blocks. Not all parts are required for all installations. See wiring diagrams for installation options. For double element heater models the elements can be wired to be turned on independently or together.
- Raise one side of heater up into the ceiling box & then raise whole heater into cavity.

- Rotate the heater into horizontal position in the ceiling box & then lower down onto the ceiling frame.
- Ensure all four side mounting brackets are hooked over the ceiling frame & centre the heater inside the frame.
- Make electrical connection from heater to power supply as per electrical installation instructions in this manual. Connection to be made outside the ceiling box on the side or top of the ceiling box.

ELECTRICAL INSTALLATION
WARNING
This Heater MUST be permanently Installed and hard wired by an authorised/licenced person. Do Not perform maintenance, or carry out installation or assembly procedure while electrical power is switched on.
WARNING
ELECTRICAL SHOCK HAZARD! Serious injury or death may occur. Disconnect from electrical supply before installing or servicing this heater. Read and follow installation clearance requirements outlined in this manual. The Appliance MUST be connected to a properly grounded electrical source.
IMPORTANT: Electronic dimmer controls generate heat during operation. For Bromic heaters installed Bromic Smart-Heat Electric Wireless Dimmer 2620276-1 or ON/ OFF Control 2620275-1 it is essential to ensure dimmers are mounted in a clean, dry and well ventilated position with clearance on all sides. It must be ensured the dimmers are not installed in a confined space, close to other heat generating appliances or in the case of a multi-dimmer installation, not too close together. Dimmers must remain cool at all times.
Please consult Bromic dimmer installation instructions for further details or for further questions please contact Bromic technical support services.
ELECTRICAL INSTALLATION
- Check product label for correct voltage and wattage – VMake sure power source conforms to the heaters requirements.
- Junction box has a Ø22mm hole to suit M20 or PG13.5 cord grip. Install cord grip with minimum rating of IPX4 to maintain the IPX4 rating of the heater. Cord grip must have minimum temperature rating of 105°C.
- Use appropriate power supply cables for the heaters’ voltage and wattage with minimum temperature rating of 105°C. The fixed wiring must be positioned away from & protected from the enclosure of the heater.
- Make electrical connections in accordance with local elec-trical code regulations. For outdoor installation all con-nections must be made in accordance with local electrical code regulations for outdoor wiring. Only use wiring com-ponents approved for outdoor use with minimum IPX4 rating. For 2000W & 3000W models the junction box has one loop of cable. Cut the loop and use the two ends for the active and neutral connections for the element. For 4000W & 6000W models the junction box has two loops of cable. Cut the cable loop marked black and use the two ends for the active & neutral connections for the first element. Cut the unmarked cable loop and use the two ends for the active & neutral connections for the second element. Earth ground wire screw is located in the end of junction box.
- After installation, the distance between live parts and earth (or earthed metal) should not be less than 2.5 mm. The distance between live and neutral terminal should not be less than 2.0 mm.
- Assemble the junction box cover & gasket. Ensure that the junction box cover gasket (supplied with unit) is installed to maintain the IPX4 water ingress protection rating of the heater. Failure to install correctly will void the manufacturer’s warranty

WIRING DIAGRAM
TUNGSTEN SMART-HEATTM ELECTRIC STANDARD INSTALLATION 2000W & 3000W MODELS*

WIRING DIAGRAM
TUNGSTEN SMART-HEATTM ELECTRIC STANDARD INSTALLATION 4000W & 6000W MODELS*

WIRING DIAGRAM
TUNGSTEN SMART-HEATTM ELECTRIC OPTIONAL INSTALLATION 4000W & 6000W MODELS*

SERVICING
WARNING
Servicing and maintenance MUST be carried out by an authorised and licensed person only
WARNING
ELECTRICAL SHOCK HAZARD!
Serious injury or death may occur. Disconnect from electrical supply before servicing this heater.
MAINTENANCE
For longest product life & to maintain product appearance mount heater under cover & protect from rain & weather whenever possible.
The exterior housing of the heater should be cleaned regularly with a soft damp cloth. For locations near the coast, salt in the air can cause rusting of metal. Additional cleaning of the heater with a soft damp cloth fortnightly will increase the life of the products appearance.
Ensure that there is no excessive build-up of dirt/dust on the reflectors or elements as this can cause overheating and premature element failure. To clean the reflectors and elements, ensure heater is off and has been off for at least 2 hours after operation, and wipe off any dirt/dust with a soft & dry cloth.
TUBE ELEMENT REPLACEMENT
- Remove Front Cover of the heater by unscrewing the 3 screws holding it in place.

- Remove first Element End Cover by unscrewing the 2 screws holding it in place.

- Open first Element Lock Bracket by removing screw.

- Remove outer Hex Nut, Spring Washer and Lead Wire Ring Terminal from the threaded stud.

- Repeat steps 2-4 to release second end of element.
- Remove old Tube Element.
- Assemble new Tube Element. Hex Nut, Spring Washer and Ring Terminal must be assembled tightly at both ends of element.
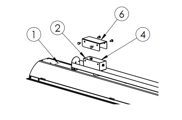
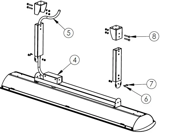
REPLACEMENT PART LIST
| No. | Description | 2000W | 3000W | 4000W | 6000W |
| 1 | Tube Element | 2620216 | 2620217 | 2620216 | 2620217 |
| 2 | Front Cover | 2620218 | 2620219 | 2620218 | 2620219 |
| 3 | Element End Cover Set | 2620221 | 2620221 | 2620222 | 2620222 |
| 4 | Junction Box Cover & Seal Set | 2620223 | 2620223 | 2620223 | 2620223 |
| 5 | Mounting Bracket Set (Short) | 2620224 | 2620224 | 2620224 | 2620224 |
| 6 | Mounting Bracket Set (Long) | 2620225 | 2620225 | 2620225 | 2620225 |
| 7 | Ceiling Recess Kit | 2620226 | 2620227 | 2620226 | 2620227 |
| 8 | Tube Suspension Kit | 2620228 | 2620228 | 2620228 | 2620228 |
| 9 | Chain Suspension Kit | 2620229 | 2620229 | 2620229 | 2620229 |
TROUBLESHOOTING
| SYMPTOM | POSSIBLE CAUSE (S) | CORRECTIVE ACTION |
| Element does not energize | 1. Defective element 2. Improper connection | 1. Replace element 2. Check connection to power outlet |
| Not enough heat | 1. Heater too small for application 2. Heater mounted too high or too far | 1. Add additional heater(s) 2. Decrease mounting height or distance |
| Too much heat | 1. Heater too large for application 2. Heater mount too low or too close | 1. Replace with smaller heater 2. Increase mounting height or distance |
| Hot spot in Tube | 1. Heater is not level 2. Grease or moisture on tube | 1. Adjust to level mount 2. Clear tube-replace if problem persists |





















![Bromic Tungsten Smart-heat Electric Heater User Manual [tungsten 2000w, Tungsten 3000w, Tungsten 4000w, Tungsten 6000w] Bromic Tungsten Smart-heat Electric Heater User Manual [tungsten 2000w, Tungsten 3000w, Tungsten 4000w, Tungsten 6000w]](https://static-data1.manualsee.com/1/img/268/72532/2021/02/Bromic-Tungsten-Smart-Heat-Electric-Heater-User-Manual-TUNGSTEN-2000W-TUNGSTEN-3000W-TUNGSTEN-4000W-TUNGSTEN-6000W.jpg)














