
BROMIC HEATING Series II BCBH0320003 Platinum Smart-Heat Electric Heater

IMPORTANT
This manual contains important information about the installation, operation, and maintenance of Platinum Smart-Heat™ Electric Heaters. Please pay close attention to the important safety information shown throughout this instruction manual. Any safety information will be accompanied by the following safety alert symbols:
WARNING
- READ THIS MANUAL CAREFULLY before installing or servicing this product.
- Improper installation, operation, or maintenance can result in death, severe injury, or property damage.
- This appliance is intended for fi fixed installation with voltage as specifi ed on the power rating label.
- Installation MUST be carried out by a licensed and authorized technician in accordance with local electrical codes.
- The Platinum Smart-Heat™ Electric Heater has intended for domestic and commercial use unless otherwise specifi ed.
- The IPX5 marine-grade variants shall be installed for land and coastal environment application ONLY.
- The IPX5 marine-grade heater shall NOT be installed on marine craft.
- Australian Registered Design 366537. International Registered Designs Pending.
IMPORTANT NOTES AND WARNINGS
- IMPORTANT – Installation MUST be carried out by a licensed and authorized person.
- DO NOT leave heaters ON unattended for prolonged use and inspect the heating space regularly.
- Improper installation, adjustment, or alteration and failure to follow the warnings and instructions in this manual could result in severe personal injury, death or property damage.
- The manufacturer is not responsible for any damage that could happen from improper use. The manufacturer emphasizes that this appliance should be used in a responsible manner and that all procedures, warnings, and safety instructions contained in this booklet should be followed strictly.
- The installer is to ensure that the requirements of the local authority, local electrical installation code, municipal building codes, and any other relevant statutory regulations are carried out.
- Do not place articles on or against this appliance.
- To reduce the risk of fi re, do not store or use gasoline or other fl flammable vapors and liquids in the vicinity of the heater.
- This Installation, Operation, and Service manual should not
be removed from the site of installation. The installer should leave the manual with the customer for future reference. - A minimum safety distance of 1000mm (39.4”) should always be left in front of the appliance.
- For commercial and residential installations, this unit must be mounted at a minimum of 1800mm (96”) above the fl poor.
- The appliance must not be located directly below or in front of an electrical socket. Heat radiated from the appliance may damage the electrical outlet or plug if placed incorrectly.
- This appliance is not intended for use by persons (including children) with reduced physical, sensory or mental capabilities, or lack of experience and knowledge unless they have been given supervision or instruction concerning the use of the appliance by a person responsible for their safety.
- Heaters are not intended to be installed in wardrobes.
- Extreme caution is necessary when any heater is used by
or near children or invalids and whenever the heater is left operating and unattended. - Children and adults should be alerted to the hazards of high surface temperatures and should stay away to avoid burns, clothing ignition, or another serious personal injury
- This heater is hot when in use. To avoid burns, do not let bare skin touch hot surfaces. Keep combustible materials, such as furniture, pillows, bedding, papers, clothes, etc. and curtains at least 3 feet (1m) from the front of the heater and keep them away from the sides and rear
- Keep packaging materials out of reach of children
- Do not spray aerosols or fl flammable materials in the vicinity of this appliance while it is in operation
- Installation and repair must be carried out by a qualifi ed & licensed service person only. The heater should be inspected before use and at least annually serviced & inspected by a qualifi ed & licensed service person.
- Do not perform maintenance until the heater has been turned off, power disconnected, and heater temperature
has cooled to room temperature. - Certain materials or items, when stored under or near the appliance, will be subjected to radiant heat and could be seriously damaged. Combustible materials eg. walls, fl doors, furniture, fi fixtures, and plants must be kept a minimum of 1000mm (3 ft) from the heater. Regularly inspect the heating space for any materials or items that should not be near the heat
- Clothing or other fl flammable materials should not be hung from the heater or placed on or near the heater.
- Be sure the heater is not facing the ceiling or fl flammable or combustible substances/materials.
- This radiant heater shall NOT be installed on recreational vehicles.
- Do not attempt to alter the unit in any manner.
- Remove transit protection before use.
- Never operate the heater in an explosive environment such as areas where petrol or other fl flammable liquids or vapors are stored.
- Do not paint any surface of the heater.
- Check for damage to the appliance regularly. The heater must not be used if the glass panel or any other part of the heater is damaged. If damage to the appliance is suspected, discontinue use immediately and contact the supplier or qualifi ed person to repair.
- After unpacking, make sure the appliance shows no signs of visible damage or tampering. If the appliance appears damaged, contact the place of purchase for assistance.
- This appliance must only be used with the voltage as specifi ed on the appliance rating label.
- Do not touch the heating glass surface at any time, even when the heater is turned off and has cooled down.
- Do not touch the heater with wet hands at any time.
- If the appliance has not been used, or will not be used, for a long period of time, disconnect the power supply
- At the end of this product’s useful life, it must not be disposed of as domestic waste but must be taken to a collection center for waste electrical and electronic equipment. It is the user’s responsibility to dispose of this appliance through the appropriate channels at the end of its useful life. Failure to do so may incur the penalties established by-laws governing waste disposal. Proper differential collection and the subsequent recycling, processing, and environmentally compatible disposal of waste equipment avoid unnecessary damage to the environment and possible related health risks and also promotes recycling of the materials used in the appliance. For further information on waste collection and disposal, contact your local waste disposal service, or the place of purchase.
- In case of direct connection to a supply line, for each platinum Smart-Heat Electric heater, a two poles or double pole residual current device (RCD), or residual circuit breaker (RCCB), must be fi tted upstream from the supply line; this electric wiring is designed to quickly and automatically disconnect the appliance when it detects that the electric current is not balanced between the supply and return conductors to prevent electric shock.
- In case of direct connection to a supply line, for each Platinum Smart-Heat Electric heater, a bipolar circuit breaker (CB) with a contact opening distance of at least 3mm must be fi the upstream from the supply line to protect from damage caused by excess current from an overload or short circuit.
- Contact an authorized service technician if you are unsure if you have RCD and CB installed on the premises.
- Do not install the heater directly near a bathtub, shower or swimming pool. Any switches or controls must not be within reach of a person in the bathtub, shower or swimming pool.
- To maintain Ingress Protection Rating (IPX5) for the Marine variants, only IP55 rated, electrical components such as, switches and conduit fi things must be used for electrical installation.
- To maintain Ingress Protection Rating (IPX4) for the non-Marine variants, only IP44 rated conduit fi things should be used for electrical installation.
- This product does not have a switch for electrical disconnection. A means for disconnection of the heater must be incorporated in the fi fixed wiring according to the local electrical codes.
IMPORTANT NOTES AND WARNINGS CONTINUED …
- This heater is not equipped with a device to control the room temperature. Do not use this heater in small rooms when they are occupied by persons not capable of leaving the room on their own, unless constant supervision is provided.
- Fire Sprinklers must be located at an appropriate distance from each heater to avoid accidental activation of the sprinkler. Ethylene glycol or propylene glycol must never be used in
fi re sprinkler systems where heaters are present as these substances maybe become fl amiable when heated. A fi re sprinkler professional must be consulted when heaters are installed where fi re sprinklers are present to ensure that heaters and the fi re sprinkler system are properly integrated. - It is recommended to call at least once a year the service company to check the general status, the heating functions, and the integrity of linked safety devices (RCD and CB).
- If the supply cord is damaged, it must be replaced by the manufacturer, its service agent, or similarly qualifi ed persons to avoid a hazard.
- Do not bend the electrical connection to the power supply.
- Keep the cable away from sharp edges during handling and installation.
- Do not pull on the cable or subject it to traction to Avoid physical shock & impact to the heater when handling and after installation.
- Do not apply any pressure on the glass surface.
- Never use steam cleaners for the cleaning of the appliance. Never hit the glass. As potential electric shock.
- Keep the electrical connection area to the power supply clean.
- Ensure that the heating unit is not directly exposed to rain or water contact.
- Do not install or use the heater in any way other than indicated in the instruction leafl et.
- Use this heater only as described in this manual. Any other use not recommended by the manufacturer may cause fi re, electric shock, or injury to persons.
- If any part of the instruction manual is missing or damaged, contact Bromic for a complete version.
- If you are unsure of any aspect of the installation, contact Bromic for advice.
PRODUCT OVERVIEW
The Platinum Smart-Heat™ Electric (Marine) is designed to provide effi cient spot heating for land and coastal applications. The heaters are built with corrosion-resistant materials, have electrical approval in North America and are rated to IPX5 water Ingress Protection for the Marine variants and IPX4 water Ingress Protection for the non-Marine variants. Making the Platinum Smart-Heat™ Electric (Marine) the perfect solution for a variety of indoor and outdoor heating applications.
| SPECIFICATIONS | |||||||||
| Model | Platinum Smart-Heat™ Electric II | Platinum Smart-Heat™ Electric II Marine | |||||||
| Part no. | Black | BH0320019 | BH0320003 | BH0320021 | BH0320005 | BH0320023 | BH0320015 | BH0320025 | BH0320016 |
| White | BH0320020 | BH0320007 | BH0320022 | BH0320008 | BH0320024 | BH0320017 | BH0320026 | BH0320018 | |
| Heat Output (Watts) | 2300W | 3400W | 2300W | 3400W | |||||
| Power connection required (Volts/ Amps) | 208V – A.C – 50/60Hz – 11.1A | 220-240V – A.C. – 50/60Hz – 9.6A | 208V – A.C – 50/60Hz – 16.3A | 220-240V – A.C. – 50/60Hz – 14.2A | 208V – A.C – 50/60Hz – 11.1A | 220-240V – A.C. – 50/60Hz – 9.6A | 208V – A.C – 50/60Hz – 16.3A | 220-240V – A.C. – 50/60Hz – 14.2A | |
| Dimensions (W x H x D mm) | 840 x 182 x 54 mm (33.0 x 7.0 x 2.0”) | 1275 x 182 x 54 mm (50.2 x 7.0 x 2.0”) | 840 x 182 x 54 mm (33.0 x 7.0 x 2.0”) | 1275 x 182 x 54 mm (50.2 x 7.0 x 2.0”) | |||||
| Weight (kg) | 7.5kg (16.5lbs) | 10kg (22lbs) | 7.5kg (16.5lbs) | 10kg (22lbs) | |||||
| Finish | Brushed Stainless Steel 304 | Brushed Stainless Steel 316 | |||||||
| Approval | Intertek: 5001799 | ||||||||
PRODUCT FEATURES
- Ultra-thin and stylish design
- Effi cient directional spot heating
- Heat Zones — one or more heaters can be switched on and off simultaneously from a single remote-located switch
- Platinum Smart-Heat™ Electric Heaters can also be integrated into smart control systems
- Wind resistant & IPX5 water protection rating for Marine variants
- Wind resistant & IPX4 water protection rating for standard variants.
- Standard Mounting – included with heater
- Optional Mounting – purchased separately from heater
- Ceiling Recess Kit Tube Suspension Kit
HEATING INSTALLATION INSTRUCTIONS
CEILING & WALL MOUNTING
- Application for land and coastal installations ONLY
- Heaters must be installed according to the minimum installation clearances shown in these diagrams
The stated clearance to combustible materials represents the surface temperature of 149°F above room temperature. Building material with a low heating tolerance (such as plastic, vinyl siding, canvas, tri-ply ect.) may be subject to degradation at a lower temperature. It is the installer’s responsibility to assure that adjacent materials are protected.


WARNING
MINIMUM DISTANCE BETWEEN HEATERS MEASURED FROM EDGE OF HEATER MUST BE AT LEAST 500mm (20”)
WARNING – Outdoor Installation
This heater MUST be permanently installed by an authorized/licensed person. Do not perform maintenance, or carry out installation or assembly procedures while electrical power is switched on. Wait 2 hours after switching off the heater before handling.
WARNING – Outdoor Installation
It is important that regular maintenance is carried out on the heater to maintain appearance. INSPECT AND CLEAN AT LEAST EVERY MONTH FOR THE BODY AND STRUCTURE.
INSPECT AND CLEAN MORE FREQUENTLY IN ADVERSE CONDITIONS SUCH AS COASTAL ENVIRONMENT.
Standard Variants
Ensure that the heating unit is not directly exposed to rain or water contact. For the longest product life and to maintain product appearance, mount the heater undercover and protect from rain and weather.
Marine Variants
In a salt-air environment, such as near an ocean, corrosion occurs more quickly than normal.
Stainless 316 has been used in the Marine confi duration.
Remove salt spray from the heater immediately to prolong heater life. Use a qualifi ed technician to check monthly for corroded areas and remove from service when heater safety is compromised.
HEATING INSTALLATION INSTRUCTIONS
- 1. Unscrew and remove plug-in wall bracket (a).
- Attach extra supplied cable gland into the same hole from the outside of the bracket. Fasten in place with the metal cable gland nut from inside the bracket (b).
To exit the cable through the wall bracket directly into your ceiling or wall cavity, start from step 3. - Attach the mounting bracket to the ceiling or wall using fasteners appropriate for the surface (c). Ensure the bracket is fi firmly secured with fasteners in all 4 holes before proceeding. For wall mounting, ensure the silver plug or cable gland (a) is facing upwards.
WARNING: The bracket mounting surface MUST be protected from rain. This is necessary to stop water from entering the bracket & maintain the specifi ed IP rating. - Ensure M6x14mm screws are inserted into both sides of the heater bracket with 6mm (0.3”) of the threaded shaft exposed under the screw head (d).
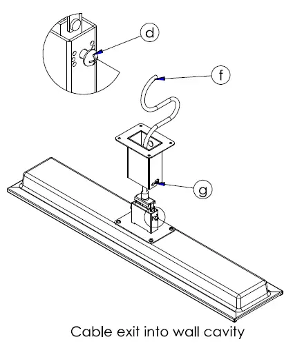
- For cable exit through the side of the wall bracket: feed heater power cable through cable gland in-wall bracket (e).
- For cable exit into the ceiling or wall cavity: make a small hole in the black foam on the bracket mounting surface to pass the cable through. Make an electrical connection now or feed the cable into the wall or ceiling for subsequent connection (f). This is described under ‘Electrical Installation’ on page 11.
- Insert heater bracket into the mounting bracket by hooking M6 screws into place in mounting slots



NOTE: This is easier when the top of the cable gland is completely removed when feeding the cable through the bracket. The cap can then be inserted onto the cable for fastening
HEATING INSTALLATION INSTRUCTIONS
- To fi x heater at the desired angle, fully insert M3x10mm positioning screws (included with wall bracket) on both sides of mounting bracket whilst holding heater in the desired position (h). The heater can be positioned straight, or be angled 30deg either way.
- Fit the smaller cover over the heater bracket so that the slots pass over the shafts of the M6x14mm mounting screws (i). Fit the larger cover over the smaller cover in the same way from the opposite side of the bracket (j). Use angled covers if the heater is angled. Use straight covers if the heater is not angled.
- Tighten mounting M6 screws fi rmly, ensuring covers fi t snugly against the bracket on all sides (k).

IMPORTANT
CEILING RECESS KIT INSTALLATION (SOLD SEPARATELY FOR INFORMATION ONLY
- REFER TO TABLE FOR CEILING RECESS KIT CONFIGURATIONS
| Ceiling Recess Kit | ||||
| Application | Standard | Marine | ||
| Part Number | BH3130017 | BH3130027 | BH3130034 | BH3130035 |
| Model | 2300W | 3400W | 2300W | 3400W |
| Material | Brushed Stainless Steel 304 | Brushed Stainless Steel 316 | ||
WARNING
Instructions below are suitable for ceiling surfaces 10-30mm (0.4-1.2”) thick. For ceiling surfaces thicker than 30mm (1.2”), contact Bromic for alternative installation options.The heater shall, under no circumstance, be covered with insulating material or similar material. Individual clearances to combustibles are fi xed minimums to each individual option and cannot be combined between Option 1 and Option 2In ceiling recess installation, the heater must be completely protected against water contact from above. Joists, beams and rafters shall not be cut or notched to install the heater. MINIMUM DISTANCE BETWEEN HEATERS MEASURED FROM EDGE OF HEATER MUST BE AT LEAST 500mm (20”)
CLEARANCE TO COMBUSTIBLES OPTION 1

CLEARANCE TO COMBUSTIBLES OPTION 1

HEATING INSTALLATION INSTRUCTIONS
ENSURE THE CORRECT CEILING RECESS KIT IS BEING USED. REFER TO THE TABLE ON PAGE 9 FOR MORE INFO.
- Prepare ceiling cut-out with dimensions from images on P.11 to fi t ceiling recess frame (a). The heater must be installed with a heater surface at least 2400mm (94”) above the fl oor level, with 500mm (20”) clearance to the nearest wall on all sides of the heater. Minimum distances to combustibles within the cavity must be according to only one of the two options shown.
- From below, bring the ceiling frame up and into the ceiling cutout. Fasten ceiling frame into cut-out at both ends and center using appropriate screws (b). Which locator hole to use is dictated by the thickness of the ceiling surface. The fastening screws must be inserted into a strong material that can easily support the weight of the heater. Your installation may require re-enforcing before the frame can be safely installed.
- Unscrew and remove the plug-in wall bracket. Attach extra supplied cable gland into the same hole from the outside of the bracket. Fasten in place with metal cable gland nut from inside the bracket (c).
- Feed heater power cable through cable gland from inside of wall bracket (d).
- Ensure M6x14mm screws are inserted into either side of the heater bracket with 6mm (0.3”) of the threaded shaft exposed under the screw head. (e).
- Insert heater bracket into the mounting bracket by hooking M6 screws into place in mounting slots (f).
- Fix heater to bracket in straight position using M4x10mm positioning screws on either side of mounting bracket (g). Ensure M6 screws are sitting fully in the mounting slots (as if the heater were hanging from the wall bracket).
- Fit the smaller, straight cover over the heater bracket so that the slots pass over the shafts of the M6x14mm mounting screws (h). Fit the larger cover over the smaller cover in the same way from the opposite side of the bracket
- Tighten mounting screws fi rmly, ensuring covers fi t snugly against the bracket on all sides (j).
- . Firmly tighten the cable gland in-wall bracket so that the cable does not move when pulled.


HEATING INSTALLATION INSTRUCTIONS
CEILING RECESS KIT INSTALLATION (SOLD SEPARATELY)
11. Attach the bracket end-cap to the wall bracket using the 4 M5 screws and nuts provided (k).
12. Carefully remove the 4 M5 screws fastening the heater mounting bracket to the back of the heater. Be careful not to move or put any force on the bracket. Place the 2 halves of the ceilling recess mounting plate over the screwholes. Re-insert the screws & tighten fi rmly. (l)
13. Make the electrical connection from the heater to the power supply. This is described under ‘Electrical Installation’
14. Raise one long side of the heater up into the ceiling frame cavity & then raise the whole heater into the cavity. (m)
115. Rotate the heater into a level position in the ceiling cavity (n) and then lower down onto the ceiling frame . Ensure the heater brackets are hooked over the ceiling frame and sitting in the slots on both sides. (o)
TUBE SUSPENSION (SOLD SEPARATELY)
- REFER TO TABLE FOR TUBE SUSPENSION KIT CONFIGURATIONS
| Tube Suspension Kit | ||||
| Application | Standard | Marine | ||
| Part Number | BH3130023-1 | BH3130024-1 | BH3130046 | BH3130047 |
| Length | 23.62” (600mm) | 47.24” (1200mm) | 23.62” (600mm) | 47.24”(1200mm) |
| Material | Brushed Stainless Steel 304 | Brushed Stainless Steel 316 | ||
- Application for land and coastal installations ONLY
- The heater must be installed with a heater surface at least 2400mm (94”) above the fl oor level.
- Installation is identical to ‘Ceiling & Wall Mounting’ above
- Use ceiling bracket (sold separately) instead of mounting bracket supplied with heater.
- Ceiling pole only suitable for ceiling mounting. Do not wall mount.

ELECTRICAL INSTALLATION FOR 220-240V
WIRING DIAGRAM
PLATINUM SMART-HEAT™ ELECTRIC SERIES II SPLIT 240V SUPPLY STANDARD INSTALLATION 2300W & 3400W MODELS*


WARNING
AC Single Phase Heater must be permanently installed and hard-wired by an authorized/licensed person.
ELECTRICAL INSTALLATION FOR 208V
WIRING DIAGRAM
PLATINUM SMART-HEAT™ ELECTRIC SERIES II 208V 3-PHASE SUPPLY STANDARD INSTALLATION 2300W & 3400W MODELS*


*For wiring insturctions using Bromic SmartHeat Electric Wireless Dimmer BH3130011-1 or ON/OFF Controller BH3130010-1 refer to the instructions provided with the controller.
ELECTRICAL INSTALLATION
WARNING
This heater MUST be permanently installed by an authorized/licensed person. Do not perform maintenance, or carry out installation or assembly procedures while electrical power is switched on. To disconnect the heater, turn off the power to the heater circuit at the main disconnect panel . ELECTRICAL SHOCK HAZARD! Serious injury or death may occur. Disconnect from the electrical supply before installing or servicing this heater. Read and follow the installation clearance requirements outlined in this manual. The appliance MUST be connected to a properly grounded electrical source.
ELECTRICAL INSTALLATION
- Check the product label for correct voltage and wattage to ensure sure the power source conforms to the requirements of the heater.
- The power cable must be positioned away from & protected from the enclosure of the heater.
- Make all connections in accordance with local electrical code regulations. For outdoor installation, all connections must be made in accordance with local electrical code regulations for outdoor wiring. Only use wiring components approved for outdoor use with a minimum IPX5 rating.
For wiring instructions using Bromic Platinum Smart-Heat Electric Wireless Dimmer BH3130011-1 or ON/OFF Control BH3130010-1 refer to instructions provided with the controller.
IMPORTANT: Electronic dimmer controls generate heat during operation. For Bromic heaters installed Bromic SmartHeat Electric Wireless Dimmer BH3130011-1 or ON/OFF Control BH3130010-1 it is essential to ensure dimmers are mounted in a clean, dry, and well-ventilated position with clearance on all sides. It must be ensured the dimmers are not installed in a confi ned space, close to other heat-generating appliances or in the case of a multi-dimmer installation, no too close together. Dimmers must remain cool at all times. Please consult Bromic dimmer installation instructions for
further details or for further questions please contact Bromic technical support services.
SERVICING
WARNING
ELECTRICAL SHOCK HAZARD!
Serious injury or death may occur. Disconnect from electrical supply before servicing this heater.
Servicing and maintenance MUST be carried out by an authorized and licensed service person only. Do not operate any heater after it malfunctions. Disconnect power at service panel and have heater inspected by a reputable electrician before reusing If the supply cord is damaged, it must be replaced by Bromic, a service agent of Bromic or similarly qualifi ed persons in order to avoid a hazard. Contact Bromic for further information on the replacement of the supply cord.
MAINTENANCE
Ensure that the heating unit is not directly exposed to rain or water contact. For longest product life, and to maintain product appearance, mount heater under cover and protect from rain and weather whenever possible.
The exterior housing of the heater should be cleaned regularly. To clean the appliance; ensure the heater is off, and has been off for at least 2 hours after the operation, before wiping off any dirt/dust with a soft damp cloth.
Salt in the air can cause rusting of metal, especially in coastal environments. Additional cleaning of the heater with a soft damp cloth fortnightly will aid in maintaining the product’s appearance.
TROUBLESHOOTING
| SYMPTOM | POSSIBLE CAUSE (S) | CORRECTIVE ACTION |
| No heat | 1. Improper connection | 1. Check connection to power supply |
| Not enough heat | 1. Heater too small for application 2. Heater mounted too high or too far 3. Incorrect voltage connected to heater | 1. Add additional heater(s) 2. Decrease mounting height or distance 3. Check correct supply voltage is provided |
| Too much heat | 1. Heater too large for application 2. Heater mount too low or too close 3. Incorrect voltage connected to heater | 1. Replace with smaller heater 2. Increase mounting height or distance 3. Check correct supply voltage is provided |



















