
PLATINUM SMART-HEAT™
ELECTRIC HEATER SERIES II
BY BROMIC
INSTALLATION, INSTRUCTION AND SERVICE MANUAL
AVAILABLE IN 2300W & 3400W VERSION

Original Instructions
IMPORTANT
READ THIS MANUAL CAREFULLY. SEE INSIDE COVER FOR IMPORTANT INFORMATION ABOUT THIS MANUAL. KEEP INSTRUCTION WITH APPLIANCE FOR FUTURE REFERENCE.
Version 3.2 AU
IMPORTANT
This manual contains important information about the installation, operation, and maintenance of Platinum Smart-Heat™ Electric Heaters. Please pay close attention to the important safety information shown throughout this instruction manual. Any safety information will be accompanied by the following safety alert symbols:
DANGER,
WARNING,
IMPORTANT
- READ THIS MANUAL CAREFULLY before installing or servicing this product.
- Improper installation, operation, or maintenance can result in death, severe injury, or property damage.
- This appliance is intended for fixed installation with 220-240V AC single-phase power supply.
- Installation MUST be carried out by a licensed and authorised technician in accordance with local electrical codes.
- This product is intended for domestic and commercial use.
- Australian Registered Design 366537. International Registered Designs Pending.
Correct Disposal of this product

This marking indicates that this product should not be disposed with other household wastes throughout the EU. To prevent possible harm to the environment or human health from uncontrolled waste disposal, recycle it responsibly to promote the sustainable reuse of material resources. To return your used device, please use the return and collection systems or contact the retailer from whom the product was purchased so that they may organise environmentally safe recycling.

Head Office: 10 Phiney Place, Ingleburn, NSW 2565 Australia
Telephone: 1300 276 642 (within Australia) or +61 2 9748 3900 (from overseas) Fax: +61 2 9748 4289
Email: [email protected] Web: www.bromic.com/heating-au
Note: Bromic Pty Ltd reserves the right to make changes to specifications, parts, components and equipment without prior notification. This installation, operation and service manual may not be reproduced in any form without prior written consent from Bromic Pty Ltd.
CONTENTS
IMPORTANT NOTES & WARNINGS 4
PRODUCT OVERVIEW 5
PRODUCT DESCRIPTION 5
SPECIFICATIONS 5
PRODUCT FEATURES 5
HEATER INSTALLATION INSTRUCTIONS 6
CEILING & WALL MOUNTING 6
CEILING RECESS 9
TUBE SUSPENSION 10
ELECTRICAL INSTALLATION 11
SERVICING 11
TROUBLESHOOTING 11
IMPORTANT NOTES AND WARNINGS
WARNING
- IMPORTANT – Installation MUST be carried out by a licensed and authorised person.
- Improper installation, adjustment, or alteration and failure to follow the warnings and instructions in this manual could result in severe personal injury, death or property damage.
- The manufacturer is not responsible for any damage resulting from improper use. The manufacturer emphasises that this appliance should be used in a responsible manner and that all procedures, warnings, and safety instructions contained in this booklet should be followed strictly.
- The installer is to ensure that the requirements of the local authority, local electrical installation code, municipal building codes, and any other relevant statutory regulations are carried out.
- Do not place articles on or against this appliance.
- Do not use or store flammable materials near this appliance
- This installation, operation and service manual should not be removed from the site of installation. Installer should leave manual with the customer for future reference.
- A minimum safety distance of 1000 mm should always be left in front of the appliance.
- This unit must be mounted at a minimum of 1800 mm above the floor.
- The appliance must not be located immediately below or in front of an electrical socket outlet. Heat radiated from the appliance may damage the electricity outlet or plug if placed incorrectly.
- Any guard or other protective device removed for servicing (conducted by an authorised person) must be replaced before operating the heater.
- This appliance can be used by children aged from 8 years and above and persons with reduced physical, sensory or mental capabilities or lack of experience and knowledge if they have been given supervision or instruction concerning use of the appliance in a safe way and understand the hazards involved.
- Heaters are not intended to be installed in wardrobes.
- Children shall not play with the appliance.
- Cleaning and user maintenance shall not be made by children without supervision.
- Children of less than 3 years should be kept away unless continuously supervised.
- Some parts of this product can become very hot and cause burns. Particular attention has to be given where children and vulnerable people are present.
- Keep packaging materials out of reach of children
- Do not spray aerosols or flammable materials in the vincinty of this appliance while it is in operation
- Installation and repair must be carried out by a qualified and licenced service person only. The heater should be inspected before use and at least annually serviced and inspected by a qualified and licenced service person.
- Do not perform maintenance until heater has been turned off, power disconnected, and heater temperature has cooled to room temperature.
- Certain materials or items, when stored under or near the appliance, will be subjected to radiant heat and could be seriously damaged. Combustible materials eg. walls, floors, furniture, fixtures and plants must be kept a minimum of 1000 mm from the heater.
- Clothing or other flammable materials should not be hung from the heater or placed on or near the heater.
- Be sure the heater is not facing the ceiling or flammable or combustible substances/materials.
- This radiant heater is NOT intended to be installed on recreational vehicles and/or boats.
- Do not attempt to alter the unit in any manner.
- Remove transit protection before use.
- Never operate the heater in an explosive environment such as areas where petrol or other flammable liquids or vapours are stored.
- Do not paint any surface of the heater.
- Check for damage to the appliance regularly. The heater must not be used if the glass panel or any other part of the heater is damaged. If damage to the appliance is suspected, discontinue use immediately and contact the supplier or qualified person to repair.
- After unpacking, make sure the appliance shows no signs of visible damage or tampering. If the appliance appears damaged, contact the place of purchase for assistance.
- This appliance must only be used on a 220-240 V AC single phase power supply.
- Do not touch the heating surface at any time, even when the heater is turned off and has cooled down.
- Do not touch the heater with wet hands at any time.
- If the appliance has not been used, or will not be used, for a long period of time, disconnect power supply
- At the end of this product’s useful life, it must not be disposed of as domestic waste, but must be taken to a collection centre for waste electrical and electronic equipment. It is the user’s responsibility to dispose of this appliance through the appropriate channels at the end of its useful life. Failure to do so may incur the penalties established by laws governing waste disposal. Proper differential collection, and the subsequent recycling, processing and environmentally compatible disposal of waste equipment avoids unnecessary damage to the environment and possible related health risks, and also promotes recycling of the materials used in the appliance. For further information on waste collection and disposal; contact your local waste disposal service or the place of purchase.
- In case of direct connection to a supply line, a bipolar circuit breaker with contact opening distance of at least 3 mm must be fitted upstream from the supply line. Contact an authorised service technician if you are unsure if you have a circuit breaker installed on the premises.
- Do not install the heater directly near a bathtub, shower
IMPORTANT NOTES AND WARNINGS CONTINUED …
or swimming pool. Any switches or controls must not be within reach of a person in the bathtub, shower or swimming pool.
- To maintain Ingress Protection Rating (IPX4), only IP44 rated conduit fittings should be used for electrical installation.
- This product does not have a switch for electrical disconnection. A means for disconnection of the heater must be incorporated in the fixed wiring according to the local electrical codes.
- If the supply cord is damaged, it must be replaced by the manufacturer, its service agent or similarly qualified persons in order to avoid a hazard.
- This heater is not equipped with a device to control the room temperature. Do not use this heater in small rooms when they are occupied by persons not capable of leaving the room on their own, unless constant supervision is provided.
- Do not bend the electrical connection to the power supply.
- Keep the cable away from sharp edges during handling and installation.
- Do not pull on the cable or subject it to traction force.
- Avoid physical shock & impact to the heater when handling.
- Do not apply any pressure on the glass surface.
- Keep the electrical connection area to the power supply clean.
- Ensure that the heating unit is not directly exposed to rain or water contact.
- Do not install or use the heater in any way other that indicated in the instruction leaflet.
- If any part of the instruction manual is missing or damaged, contact Bromic for a complete version.
- If you are unsure of any aspect of the installation, contact Bromic for advice.
PRODUCT OVERVIEW
The Platinum Smart-Heat™ Electric is designed to provide efficient spot heating for commercial and residential applications.
The heaters are built with corrosion resistant materials, have electrical approval in Australia, and are rated to IPX4 water Ingress Protection. Making the Platinum Smart-Heat™ Electric the perfect solution for a variety of indoor and outdoor heating applications.
SPECIFICATIONS

PRODUCT FEATURES
- Ultra-thin and stylish design
- Efficient directional spot heating
- Heat Zones — one or more heaters can be switched on and off simultaneously from a single remote located switch
- Platinum Smart-Heat™ Electric Heaters can also be integrated into smart control systems
- Wind resistant & IPX4 water protection rating
- Suitable for outdoor and indoor heating applications such as restaurants, cafes, bars and clubs, factories, office spaces, designated smoking areas, public areas, hotels and more
- Standard Mounting – included with heater
- Optional Mounting – purchased separately from heater:
• Ceiling Recess
• Tube Suspension
HEATING INSTALLATION INSTRUCTIONS
CEILING & WALL MOUNTING
- Heaters must be installed according to the minimum installation clearances shown in these diagrams
- Minimum distance between heaters measured from edge of heater must be at least 500 mm.
- Heaters must be away from the fourth wall.
WALL MOUNTING CEILING MOUNTING (FACE DOWN)

CEILING MOUNTING (ANGLED)
CEILING MOUNTING

WARNING – Outdoor Installation
This heater MUST be permanently installed by an authorised/licenced person. Do not perform maintenance, or carry out installation or assembly procedure while electrical power is switched on. Wait 2 hours after switching off the heater before handling.
WARNING – Outdoor Installation
Ensure that the heating unit is not directly exposed to rain or water contact. For longest product life and to maintain product appearance, mount heater under cover and protect from rain and weather.
HEATING INSTALLATION INSTRUCTIONS CONTINUED…
OPTION 1
To exit the cable through the side of the wall mounting bracket, start from step 1.
1. Unscrew and remove plug-in wall bracket (a).
2. Attach extra supplied cable gland into the same hole from the outside of the bracket. Fasten in place with the metal cable gland nut from inside the bracket (b).
NOTE: Continue to step 3 below

OPTION 2

Wall mount Ceiling mount

Cable exit into wall cavity
To exit the cable through the wall bracket directly into your ceiling or wall cavity, start from step 3.
3. Attach mounting bracket to ceiling or wall using fasteners appropriate for the surface (c). Ensure the bracket is firmly secured with fasteners in all 4 holes before proceeding. For wall mounting , ensure the silver plug or cable gland (a) is facing upwards.
WARNING: The bracket mounting surface MUST be protected from rain. This is necessary to stop water entering the bracket & maintain IPX4rating.
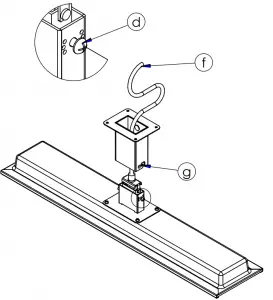
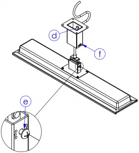
4. Ensure M6x14mm screws are inserted into both sides of heater bracket with 6 mm of the threaded shaft exposed under the screw head (d).
5. For cable exit through the side of the wall bracket: feed heater power cable through cable gland in wall bracket (e).
NOTE: This is easier when the top of the cable gland is completely removed when feeding the cable through the bracket. The cap can then be inserted onto the cable for fastening.
6. For cable exit into the ceiling or wall cavity: make a small hole in the black foam on the bracket mounting surface to pass the cable through. Make electrical connection now or feed cable into wall or ceiling for subsequent connection (f). This is described under ‘Electrical Installation’ on page 11.
7. Insert heater bracket into mounting bracket by hooking M6 screws into place in mounting slots (g).
HEATING INSTALLATION INSTRUCTIONS CONTINUED…
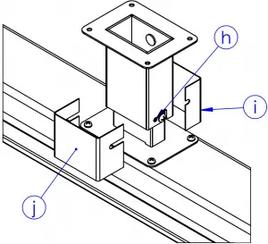
8. To fix heater at desired angle, fully insert M3x10 mm positioning screws (included with wall bracket) on both sides of mounting bracket whilst holding heater in the desired position (h). The heater can positioned straight, or be angled 30 deg either way.
9. Fit the smaller cover over the heater bracket so that the slots pass over the shafts of the M6x14 mm mounting screws (i). Fit the larger cover over the smaller cover in the same way from the opposite side of the bracket (j). Use angled covers if heater is angled. Use straight covers if heater is not angled.
10. Tighten mounting M6 screws firmly, ensuring covers fit snugly against the bracket on all sides (k).




HEATING INSTALLATION INSTRUCTIONS CONTINUED…
CEILING RECESS (SOLD SEPARATELY)
WARNING
Instructions below are suitable for ceiling surfaces 10-30 mm thick. For ceiling surfaces thicker than 30 mm, contact Bromic for alternative installation options.
WARNING
The heater shall, under no circumstance, be covered with insulating material or similar material.
WARNING
Individual clearances to combustibles are fixed minimums to each individual option and cannot be combined between Option 1 and Option 2
WARNING
In ceiling recess installation, the heater must be completely protected against water contact from above.
WARNING
Joists, beams and rafters shall not be cut or notched to install the heater.
CLEARANCE TO COMBUSTIBLES OPTION 1

CLEARANCE TO COMBUSTIBLES OPTION 2


HEATING INSTALLATION INSTRUCTIONS CONTINUED…
1. Prepare ceiling cut-out with dimensions from images on P.9 to fit ceiling recess frame (a). Heater must be installed with heater surface at least 2400 mm above the floor level, with 500 mm clearance to the nearest wall on all sides of the heater. Minimum distances to combustibles within cavity must be according to only one of the two options shown.
2. From below, bring ceiling frame up and into ceiling cutout. Fasten ceiling frame into cut-out at both ends and centre using appropriate screws (b). Which locator hole to use is dictated by the thickness of the ceiling surface. The fastening screws must be inserted into a strong material that can easily support the weight of the heater. Your installation may require reinforcing before the frame can be safely installed.
3. Unscrew and remove plug-in wall bracket. Attach extra supplied cable gland into the same hole from the outside of the bracket. Fasten in place with metal cable gland nut from inside the bracket (c).
4. Feed heater power cable through cable gland from inside of wall bracket (d).
5. Ensure M6x14 mm screws are inserted into either side of heater bracket with 6mm of the threaded shaft exposed under the screw head. (e).
6. Insert heater bracket into mounting bracket by hooking M6 screws into place in mounting slots (f).
7. Fix heater to bracket in straight position using M4x10 mm positioning screws on either side of mounting bracket (g). Ensure M6 screws are sitting fully in the mounting slots (as if the heater were hanging from the wall bracket).
8. Fit the smaller, straight cover over the heater bracket so that the slots pass over the shafts of the M6x14 mm mounting screws (h). Fit the larger cover over the smaller cover in the same way from the opposite side of the bracket (i).
9. Tighten mounting screws firmly, ensuring covers fit snugly against the bracket on all sides (j).
10. Firmly tighten cable gland in wall bracket so that cable does not move when pulled.
HEATING INSTALLATION INSTRUCTIONS CONTINUED…
CEILING RECESS (SOLD SEPARATELY)
11. Attach the bracket end-cap to the wall bracket using the 4 M5 screws and nuts provided (k).
12. Carefully remove the 4 M5 screws fastening the heater mounting bracket to the back of the heater. Be careful not to move or put any force on the bracket. Place the 2 halves of the ceilling recess mounting plate over the screw holes. Re-insert the screws & tighten firmly. (l)
13. Make electrical connection from heater to power supply. This is described under ‘Electrical Installation’
14. Raise one long side of heater up into ceiling frame cavity & then raise whole heater into cavity. (m)
15. Rotate the heater into level position in the ceiling cavity (n) and then lower down onto the ceiling frame . Ensure the heater brackets are hooked over the ceiling frame and sitting in the slots on both sides. (o)



TUBE SUSPENSION
- Heater must be installed with heater surface at least 2400 mm above the floor level.
- Installation is identical to ‘Ceiling & Wall Mounting’ above.
- Use ceiling bracket (sold separately) instead of mounting bracket supplied with heater.
- Ceiling pole only suitable for ceiling mounting. Do not wall mount.
ELECTRICAL INSTALLATION
WARNING
This heater MUST be permanently installed by an authorised/licenced person. Do not perform maintenance, or carry out installation or assembly procedure while electrical power is switched on.
WARNING
ELECTRICAL SHOCK HAZARD! Serious injury or death may occur. Disconnect from electrical supply before installing or servicing this heater. Read and follow installation clearance requirements outlined in this manual. The appliance MUST be connected to a properly grounded electrical source.
ELECTRICAL INSTALLATION
- Check product label for correct voltage and wattage to ensure sure power source conforms to the heaters requirements.
- Use appropriate power supply cables for the heaters’ voltage and wattage. The fixed wiring must be positioned away from & protected from the enclosure of the heater.
- Make all connections in accordance with local electrical code regulations. For outdoor installation, all connections must be made in accordance with local electrical code regulations for outdoor wiring. Only use wiring components approved for outdoor use with minimum IPX4 rating.
SERVICING
WARNING
ELECTRICAL SHOCK HAZARD!
Serious injury or death may occur. Disconnect from electrical supply before servicing this heater.
WARNING
Servicing and maintenance MUST be carried out by an authorised and licenced service person only.
WARNING
If the supply cord is damaged, it must be replaced by Bromic, a service agent of Bromic or similarly qualified persons in order to avoid a hazard. Contact Bromic for further information on replacement of the supply cord.
MAINTENANCE
For longest product life, and to maintain product appearance, mount heater under cover and protect from rain and weather whenever possible.
The exterior housing of the heater should be cleaned regularly. To clean the appliance; ensure heater is off, and has been off for at least 2 hours after operation, before wiping off any dirt/dust with a soft damp cloth.
Salt in the air can cause rusting of metal, especially at locations near the coast. Additional cleaning of the heater with a soft damp cloth fortnightly will aid in maintaining the product’s appearance.
TROUBLESHOOTING

WARRANTY

Smart-Heating Warranty Conditions
Bromic Pty Limited (‘Bromic’) warrants to the original purchaser (‘the Purchaser) of products supplied by Bromic Heating (‘the Goods’) that the Goods will be free from defects and/or faults in materials and/or workmanship for Twelve (12) months from the date of Bromic invoice.
Subject to the following conditions of this Warranty. if a defect and/or fault in materials and/or workmanship are found during the warranty period. Bromic will replace or repair the Goods (at its option) without charge.
- The Goods must have originated from Bromic and must be able to be identified by Bromic personnel as a Bromic Heating product.
- The original invoice details. including serial number where applicable. MUST be provided to Bromic at the time that any claim is made pursuant to the terms of the Warranty.
- Any claim made pursuant to the terms of the Warranty must be made within a reasonable time of the discovery of any potential fault or defect.
- Acceptance of a claim under this Warranty is subject to an assessment of the Goods by Bromic. or its authorised agent, to determine the cause of the defect prior to Bromic’s authorisation for repairs to be carried out.
- Repairs to the Goods must not have been attempted by any person other than an authorised service agent. Repairs attempted by a non authorised agent will void the warranty.
- Where Goods are located or are to be located in premises where the induction of service or installation personnel is required, any costs for such induction of service or installation agents to gain access to sites is for the account of the customer and not for Bromic.
- The requirement for repair or replacement of the Goods must not be due to misuse, neglect, accident, improper installation, unauthorised modification or other abuse which in the reasonable opinion of Bromic was occasioned by the purchaser or any agent or employee of the purchaser.
- Repair or supply of a substitute will not extend or renew the warranty period.
- Bromic will warrant that any spare parts it provides will be free from defects and/or faults in materials and/or workmanship for a period of 3 months from the date of purchase provided that these spare parts have been installed by a Bromic authorised service agent.
- Bromic will either undertake the repair or nominate a repair agent authorised by Bromic.
- Bromic’s repair warranty is restricted to normal business hours on Monday to Friday and excluding public holidays and weekends.
- Where Bromic elects to replace rather than repair the Goods and no identical replacement is available for the Goods being replaced, Bromic may replace the Goods with Goods of a similar standard and design then available from its range.
- Bromic is not liable for the costs of the authorised service agents other than standard labour costs during normal working hours.
- Bromic is not liable for travelling time in excess of 50 kilometres from an authorised service agent or 1 hour from the authorised service agent, whichever is the lesser.
- Bromic is not responsible for any costs involved in gaining access to Goods for the purposes of repairs. checks or modifications.
- Bromic’s warranty does not extend to any damage or induced Goods’ failures resulting from an installation that was undertaken outside the direct control of Bromic or its authorised service/installation agents.
- Bromic is not liable, and will not authorise repairs pursuant to a claim under this Warranty. for Goods which have been modified for rental purposes. (All Goods are designed to be operated indoors in a permanent location. Movement of goods after installation should be restricted to whatever is required for routine cleaning and maintenance only).
- Bromic will not be responsible or liable for damage or loss caused during transport and/or testing of the Goods and will not be liable for the cost of transport or testing of the Goods.

19. Bromic does not warrant the Goods where the Goods were installed and/or used in conjunction with goods of a supplier other than Bromic (‘the other goods’) in such a way as to exceed the capacity and/or performance capabilities of the Goods or the other goods and denies all liability for any damage whatsoever suffered by any person arising from such use.
20. Bromic shall not be liable for any indirect or consequential loss. loss of profit or any other economic loss as a result of any actual or alleged failure of the Goods.
21. The obligation of Bromic in relation to the warranty, provided for in the previous paragraphs, is not valid in the following cases:
a. Installation does not conform to the instructions given in the Use and Maintenance handbook:
b. Installation in places other than the original place (disassembly and reassembly in another place):
c. Carelessness, negligence or inability in use or use other than that for which the product is designed and/or dimensioned; or
d. Modifications or tampering with the product.
22. Bromic is not liable for, and will not authorise repairs pursuant to a claim under this Warranty for:
a. Damage or failure of Goods as a consequence of not removing packaging and transport materials before use:
b. Parts subject to wear and tear including but not limited to fuses, batteries, handles, locks, hinges, hoses;
c. Goods which have not been installed in accordance with Bromic’s and/or the manufacturer’s specifcation;
d. Extraordinary and unforeseeable events (voltage surges, irregular electric power supply, natural events and disaster, riots etc);
e. Repairs or replacement of Goods not bearing original serial numbers (where applicable) or compliance plates:
f. Rust and/or discoloration due to heat or exposure to corrosive environments:
g. Damage caused to Goods due to improper use of cleaning agents. detergents, bleaches or other chemical additives or agents of a corrosive nature:
h. Breakage, either intentional or unintentional, to any part of the Goods;
i. Any damage arising from any modification of the Goods that has taken place without prior authorisation from Bromic:
j. Any use of the Goods for any reason other than its originally specified purpose;
k. Installation of Goods in places other than the original place (disassembly and reassembly in another place):
l. Carelessness, negligence or use other than that for which the Goods are designed:
m. Goods not performing correctly as a result of Goods being used in an environment whereby the ambient temperature and relative humidity are outside the operating parameters specified for those particular goods;
n. Modifications or tampering with the Goods; or
o. Heater Failure of the Goods due to:
i. Incorrect installation of electricty supply;
ii. Insufficient regular maintenance (of the type specified by the relevant manufacturer) of components.
iii. Failure to provide adequate ventilation for the Goods as specified by the manufacturer; or
iv. Fair wear and tear of the Goods;
p. Please contact Bromic as soon as possible after discovery of a potential defect and/or fault with the Goods to arrange for it to be tested and/or serviced.
q. All warranty enquiries and/or claims should be directed to Bromic’s Head Office at 10 Phiney Place, Inglebum NSW 2565 Australia or by telephoning 1300 276 642 (within Australia) or sending a fax to 1300 735115.

26. The manufacturer is not responsible for assuring compliance with jurisdictional codes and regulations governing sales, construction, installation and/or use of the heating products and cannot be responsible for how the product is installed or used. Before purchase and use of the product, it is the responsibility of the owner to review the product application and all applicable national and local codes and regulations governing the installation and use of such heating products and to seek advice from relevant technical persons.
27. In addition to the above, all of Bromic’s other general terms and conditions of trade apply, save for those which are inconsistent with the terms of this warranty. These general terms and conditions of trade can be obtained on request from Bromic.
28. In addition to the Warranty extended by Bromic to the Purchaser, the Australian Consumer Law requires that Bromic provide the following additional guarantees to consumers (as that word is defined by the Competition and Consumer Act) in respect of consumer goods (as defined by that Act) supplied in Australia.
Our goods come with guarantees that cannot be excluded under the Australian Consumer Law. You are entitled to a replacement or refund for a major failure and for compensation for any other reasonably foreseeable loss or damage. You are also entitled to have the goods repaired or replaced if the goods fail to be of acceptable quality and the failure does not amount to a major failure.
For more information visit our website at www.bromic.corrareating-au or call 1300 276 642. Head Office:10 Phiney Place, Ingleburn NSW 2565 Australia.
Bromic Platinum Smart-Heattm Electric Heater, Series II User Manual – Download [optimized]
Bromic Platinum Smart-Heattm Electric Heater, Series II User Manual – Download




















