SKU # 1007 522 151
Model# SW19151R MBK/MBK
USE AND CARE GUIDE
CAPRICE LED 52 INCH CEILING FAN 
SW19151RMBK Caprice 52 in Integrated LED Indoor Matte
THANK YOU
We appreciate the trust and confidence you have placed in Hampton Bay through the purchase of this ceiling fan. We strive to continually
create quality products designed to enhance your home. Visit us online to see our full line of products available for your home
improvement needs. Thank you for choosing Hampton Bay!
Safety Information
READ AND SAVE THESE INSTRUCTIONS.
- To reduce the risk of electric shock, ensure electricity has been turned off at the circuit breaker or fuse box before beginning.
- All wiring must be in accordance with the National Electrical Code “ANSI/NFPA 70-1999” and local electrical codes. Electrical installation should be performed by a qualified licensed electrician.
- The outlet box and support structure must be securely mounted and capable of reliably supporting a minimum of 35 lbs. Use only UL Listed outlet boxes marked “FOR FAN SUPPORT.”
- The fan must be mounted with a minimum of 7 ft. clearance from the trailing edge of the blades to the floor.
- To avoid personal injury or damage to the fan and other items, be cautious when working around or cleaning the fan.
- Do not use water or detergents when cleaning the fan or fan blades. A dry dust cloth or lightly dampened cloth will be suitable for most cleaning.
- After making electrical connections, spliced conductors should be turned upward and pushed carefully up into the outlet box. The wires should be spread apart with the
grounded conductor and the equipment-grounding conductor on one side of the outlet box and ungrounded conductor on the other side of the outlet box. - All setscrews must be checked and retightened where necessary before installation.
- This device complies with Part 15 of the FCC Rules. Operation is subject to the following two conditions:
(1) This device may not cause harmful interference, and (2) This device must accept any interference received, including interference that may cause undesired operation.
WARNING: To reduce the risk of fire or electric shock, this fan should only be used with fan speed control part No.:DL- 1167RYS-02, manufactured by S.Q.M Co Ltd.
WARNING: To reduce the risk of personal injury, do not A bend the blade arms (also referred to as flanges), when L\ installing the brackets, balancing the blades, or leaning the fan.
WARNING: Do not insert foreign objects between rotating Li\ anades
WARNING: To reduce the risk of fire, electric shock, or J.\ personal injury, mount the fan to the outlet box marked Li\ acceptable for fan support with the screws provided with the outlet box.
CAUTION: To reduce the risk of personal injury, use only [ii\ the screws provided with the outtet box.
WARNING: Changes or modifications to this unit not expressly approved by the party responsible for compliance could void the user’s authority to operate the equipment.
NOTE: This equipment has been tested and found to comply with the limits for a Class B digital device, pursuant to Part 15 of the FCC Rules. These limits are designed to provide reasonable protection against harmful interference in a residential installation. This equipment generates, uses and can radiate radio frequency energy and, if not installed and used in accordance with the instructions, may cause harmful interference to radio communications. However, there is no guarantee that interference will not ccur
in a particular installation. If this equipment does cause harmful interference to radio or television reception, which can be determined by turning the equipment off and on, the user is encouraged to try to correct the interference by one or more of the following measures: Reorient or relocate the receiving antenna. Increase the separation between the equipment and receiver. Connect the equipment into an outlet on a circuit different from that to which the receiver is connected. Consult the dealer or an experienced radio/TV technician for help.
Warranty
We warrant the fan motor to be free from defects in workmanship and material present at time of shipment from the factory for a period of lifetime after the date of urchase by the original purchaser. And we warrant the LED light kit to be free from defects in workmanship and material present at time of shipment from the factory for a period of 3 years after the date of purchase by the original purchaser. We also warrant that all other fan parts, excluding any glass or acrylic blades, to be free from defects in workmanship and material at the time of shipment from the factory for a period of one year after the date of purchase by the original purchaser. We agree to correct such defects without charge or at our option replace with a comparable or superior model if the product is returned. To obtain warranty service, you must present a copy of the receipt as proof of purchase. All costs of removing and reinstalling the product are your responsibility. Damage to any part such as by accident, misuse, improper installation or by affixing any accessories, is not covered by this warranty. Because of varying climatic conditions this warranty does not cover any changes in brass finish, including rusting, pitting, corroding, tarnishing or peeling. Brass finishes of this type give their longest useful life when protected from varying weather conditions. A certain amount of “wobble” is normal and should not be considered a defect. Servicing performed by unauthorized persons shall render the warranty invalid. There is no other express warranty. We hereby disclaim any and all warranties, including but not limited to those of merchantability and fitness for a particular purpose to the extent permitted by law. The duration of any implied warranty which cannot be disclaimed is limited to the time period as specified in the express warranty. Some states do not allow limitation on how long an implied warranty lasts, so the above limitation may not apply to you. The retailer shall not be liable for incidental, consequential, or special damages arising out o f or in connection with product use or performance except as may otherwise be accorded by law. Some states do not allow the exclusion of incidental or consequential damages, so the above exclusion or limitation may not apply to you. This warranty givesd specific legal rights, and you may also have other rights which vary from state to state. This warranty supersedes all prior warranties. Shipping costs for any return of product as part of a claim on the warranty must be paid by the customer.
Contact the Customer Service Team at 1-855-HD-HAMPTON or visit www.hamptonbay.com.
Pre-Installation
SPECIFICATIONS
| Fan size | Speed | Volts | Amps | Watts | RPM | CFM | N.W. | G.W. | C.F. |
| 52 in. | Low | 120 | 0.24 | 15. | 91 | 2082 | 6.7 kgs (14.74 lbs) | 8.87 kgs (19.51 lbs) | 1.624′ |
| Medium | 0.35 | 30. | 142 | 3328 | |||||
| High | 0.47 | 56. | 190 | 4645 |
NOTE: These are approximate measures. They do not include amps and wattage used by the light kit.![]()
TOOLS REQUIRED

Pre-Installation (continued)
HARDWARE INCLUDED
NOTE: Hardware shown to actual size unless noted otherwise in the table below.

| Part | Deecdptlon | Quantity |
| AA | Blade screw | 9+1 spare |
| BB | Fiber washer | 9+1 spare |
| CC | Flywheel screw | 3+1 spare |
| OD | Wire nuts | 3 |
| EE | Cross pin (not to scale) (preassembled) | 1 |
| FF | Hitch pin (preassembled) | 1 |
| GG | Lock pin (not to scale) (preassembled) | 1 |
| HH | Hanger ball set screw (preassembled) | 1 |
| II | Fan motor assembly coupling set screw (preassembled) | 2 |
| .1.1 | Mounting bracket screw (preassembled) | 2 |
| KK | Light kit plate screw (preassembled) | 3 |
| U. | LED assembly screw (preassembled) | 3 |
| MM | Remote control holder mounting screw | 2 |
| NN | Balance kit (not to scale) | 1 |
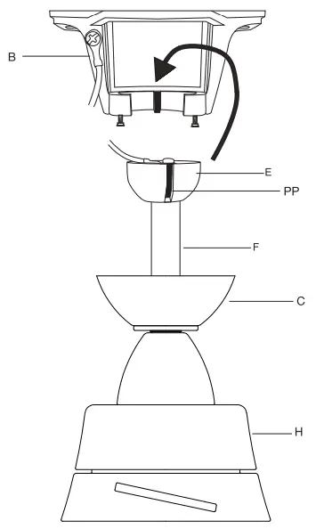
PACKAGE CONTENTS

| Part | Descdpdon | Quantity |
| A | Fan blade | 3 |
| B | Mounting bracket | 1 |
| C | Canopy | 1 |
| D | Canopy cover | 1 |
| E | Hanger ball (preassembled) | 1 |
| F | Downrod (preassembled) | 1 |
| G | Coupling cover | 1 |
| H | Fan motor assembly | 1 |
| Part | Description | Quantity |
| I | Flywheel | 1 |
| J | Light kit plate | 1 |
| K | 17W LED assembly (preagxembled) | 1 |
| L | Glass shade | 1 |
| M | Receiver | 1 |
| N | Remote control | 1 |
| O | Remote control holder | 1 |
| P | 12V Battery | 1 |
| Q | Extension power cord used for longer downrod (longer downrod not included) | 1 |
Installation
MOUNTING OPTIONS
WARNING: To reduce the risk of fire, electric shock, or personal injury, mount the fan to an outlet box marked /acceptable for fan support using the screws provided with the outlet box. An outlet box commonly used for the support of lighting fixtures may not be acceptable for fan support and may need to be replaced. If in doubt, consult a qualified electrician.
If your ceiling fan does not have an existing UL-listed mounting box, then install one using the following instructions:
- Disconnect the power by removing the fuses or turning off the circuit breakers.
- Secure the outlet box (1) (not included) directly to the building structure. Use appropriate fasteners and materials (not included). The outlet box and its bracing must be able to fully support the weight of the moving fan (at least 35 lbs.). Do not use a plastic outlet box.
- The illustrations to the right show three different ways to mount the outlet box (not included).
- To hang your fan where there is an existing fixture but no ceiling joist, you may need an installation hanger bar (3) (not included), as shown.
![]() | ![]() |
NOTE: You may need a longer downrod to maintain proper blade clearance when installing on a steep, sloped ceiling. The maximum angle allowable is 18°. If the canopy touches the downrod, remove the decorative canopy bottom cover and turn the canopy 180° before attaching the canopy to the mounting plate (2).
Assembly – Hanging the Fan
- Attaching the mounting bracket to the electrical box
WARNING: To reduce the risk of fire, electric shock, or other personal injury, mount the fan only to an outlet box or L supporting system marked acceptable for fan support and use the mounting screws provided with the outlet box.
□ Place the slots (00) from the mounting bracket (B) over the two mounting screws provided with the outlet box.
□ Slide the mounting bracket (B) until it locks in place at the narrow section of the slots (00).
□ Securely tighten the two mounting screws provided with the outlet box.
- Attaching the flywheel and downrod to the fan motor assembly
□ Tighten the flywheel (I) onto the bottom of the fan motor assembly (H) by using the three flywheel screws (CC).
□ Remove the hitch pin (FF) and lock pin (GG) from the downrod (F). Then, remove the hanger ball (E) from the downrod (F) by loosening the hanger ball set screw (HH), and removing the cross pin (EE), then sliding the hanger ball (E) off of the downrod (F).
□ Loosen the two set screws (II) from the coupling of the fan motor assembly (H).
□ Carefully feed the fan wires up through the downrod (F). Thread the downrod (F) into the fan motor assembly (H) coupling. Line up the holes and replace the lock pin (GG) and the hitch pin (FF). Tighten the set screws (II).
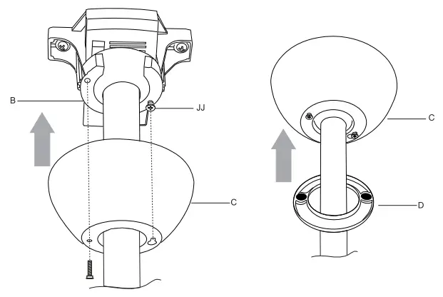
Assembly – Hanging the Fan (continued} - Attaching the coupling cover, canopy cover, and canopy to the downrod
□ Slip the coupling cover (G), canopy cover (D), and canopy (C) onto the downrod (F). Carefully reinstall the hanger ball (E) onto the downrod (F), and ensure that the cross pin (EE) is in the correct position, the set screws (HH) are tight, and the wires are not twisted.
- Hanging the fan motor assembly to the mounting bracket
□ Lift the fan motor assembly (H) into position, and place the hanger ball (E) into the mounting bracket (B). Rotate the fan motor assembly (H) until the check groove drops into the registration slot (PP) and seats firmly. The downrod (F) should not rotate if this is done correctly.
- Syncing the receiver and remote control
WARNING: To avoid possible electrical shock, ensure the Li electricity is turned off at the main fuse box before wiring.
CAUTION: Do not use with a wall light dimmer switch.
NOTE: If you feel you do not have enough electrical wiring knowledge or experience, have your fan installed by a licensed electrician.
This remote control unit is equipped with 16 code combinations to prevent possible interference from or to other remote units. The frequency switches on your receiver (M) and remote control (N)have been preset at the factory. Please recheck to make sure the switches on the remote control (N)and the receiver (M) are set to the same position. Any combination of settings will operate the fan as long as the remote control (N) and receiver (M) are set to the same position.
Insert the receiver (M) into the mounting bracket (B) with the ventiladed side facing down.
NOTE: Wires coming from the downrod and the wires coming from the power source need to be positioned on the same side when inserting the receiver through the mounting bracket. - Making the electrical connections
WARNING: To avoid possible electrical shock, ensure the electricity is turned off at the circuit breaker or main fuse box before wiring.
WARNING: Check to see that all connections are tight, including the ground, and that no bare wire is visible at the wire nuts, except for the ground wire.
Follow the steps below to connect the fan to your house supply wires. Secure the wire nuts (DD) supplied with your fan by wrapping the connections with electrical tape.
Motor to receiver electrical connections:
□ Connect the male connector from the motor to the female connector from the receiver (M).
Receiver to house supply wires electrical connections:
□ Connect the black (hot) wire from the ceiling to the black wire marked “AC in L” from the receiver (M).
□ Connect the white (neutral) wire from the ceiling to the white wire marked “AC in N” from the receiver (M).
□ Connect the ground wire (green or bare copper) from the outlet box (1) to the ground wire of the hanging ball (E) and the ground wire of mounting bracket (B).
□ Secure the wire connection with a plastic wire nut (DD) provided with the electrical hardware.
□ After connecting the wires, spread them apart so that the green and white wires are on one side of the outlet box (1) and the black wires are on the other side.
Carefully tuck the wire connections up into the outlet box (1). - Installing the canopy and canopy cover
□ Remove one screw (JJ) from the mounting bracket (B) and loosen the other screw (JJ) approximately 1/4 turn.
□ Carefully raise the canopy (C) up to the mounting bracket (B), and ensure the loosened screw (JJ) is inserted into the key hole in the canopy (C). Rotate the canopy (C) clockwise.
□ Secure the canopy (C) by replacing the screw (JJ) previously removed and tightening the screw (JJ) previously loosened.
□ The canopy cover (D) is magnetic, just attach it to the canopy (C).
Assembly – Attaching the Fan Blades - Fastening the blade to the fan motor assembly
□ Insert the blade (A) through the slot on the fan motor assembly (H).
□ Attach the fan blade (A) to the fan motor assembly (H) using the three blade screws (AA) and the three fiber washers (BB) and tighten them securely.
□ Repeat this step for the other two blades (A).
Assembly – Installing the Light Kit - Remove the LED assembly from the light kit plate
□ Remove the screw (LL) from circular hole of the light kit plate (J) and loosen the other two screws (LL) from key holes of the light kit plate (J) approximately 1/4 turn. Place the screw (LL) that was was removed aside from use later.
□ Turn the key holes of the LED assembly (K) from the two screws (LL) loosened previously and remove the LED assembly (K) from the light kit plate (J).
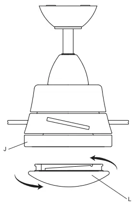
- Installing the light kit plate to the fan motor assembly
□ Remove one of the screws (KK) from the locking plate of the fan motor assembly (H) and loosen the other two screws (KK), but do not remove.
□ Place the key holes from the light kit plate (J) over the two screws (KK) previously loosened from the fan motor assembly (H). Turn the light kit plate (J) until it locks at the narrow section of the key holes. Secure by tightening the two screws (KK) previously loosened and the one screw (KK) previously removed.
Assembly – Installing the Light Kit (continued) - Installing the LED assembly to the light kit plate
CAUTION: To Reduce The Risk Of Electric Shock, Disconnect The Electrical Supply Circuit To The Fan Before Installing The Light Kit.
□ While holding the light kit plate (K) under your fan, firmly snap the wire connection plugs (00) together.
□ Place the key holes from the LED assembly (K) over the two screws (LL) previously loosened from the light kit plate (J).
Turn the LED assembly (K) until it locks at the narrow section of the key holes. Secure by tightening the two screws (LL) previously loosened and the one screw (LL) previously removed.
- Installing the glass
□ Attach the glass (L) to the light kit plate (J) by twisting tightly. (DO NOT OVERTIGHTEN)
Operation
REMOTE CONTROL OPERATING INSTRUCTIONS
Install a 12V battery (P) into the remote control (N). To prevent damage to the remote control, remove the battery if not used for long periods of time.
WARNING: Do not short-circuit, disassemble, heat up, connect improperly, or dispose of used batteries in fire. Do not recharge or mix batteries with used or other battery types. Immediately remove used batteries.
Restore power to the ceiling fan and test for proper operation.
□ HI, MED, LOW buttons: Sets the fan speed.
□ FAN OFF button: Turns the fan off.
□ LIGHT button: Turns the light ON or OFF. Press and hold the button to set the desired brightness.

Reverse Function
The reverse switch (RR) is located on the fan motor assembly (H).
This switch controls directions: forward (switch down) or reverse (switch up).
NOTE: Wait for the fan to stop before reversing the direction of the blade rotation.
Warm weather – (Counterclockwise Direction) A downward air flow creates a cooling effect. This allows you to set your air conditioner on a higher setting without affecting your comfort. Cool weather – (Clockwise Direction) An upward air flow moves warm air off the ceiling. This allows you to set your heating unit on a lower setting without affecting your comfort.

Operation (continued)
INSTALLING THE REMOTE CONTROL HOLDER
- Attach the remote control holder (0) with the two remote control holder mounting screws ( MM).

Care and Cleaning
Do
- Check the support connections, brackets, and blade attachments twice a year. Ensure they are secure.
Because of the fan’s natural movement, some connections may become loose over time. It is not necessary to remove the fan from the ceiling. - Clean your fan periodically. Use only a soft brush or lint-free cloth to avoid scratching the finish. The plating is sealed with a lacquer to minimize discoloration or tarnishing.
- (Optional) Apply a light coat of furniture polish to the wood blades.
- (Optional) Cover small scratches with a light application of shoe polish.
Do not
- Do not use water when cleaning. Water could damage the motor, or the wood, or possibly cause an electrical shock.
- Do not apply oil to your fan or motor. The motor has permanently-lubricated sealed ball bearings.
Troubleshooting
WARNING: Ensure the power is off at the electrical panel box before you attempt any repairs. Refer to the section “Making the Electrical Connections” on page 11.
| Problem | Solution |
| The fan will not start. | Check main and branch circuit fuses or breakers. |
| Check line wire connections to the fan and switch wire connections in the switch housing. | |
| Check to make sure the dip switches from the remote control and receiver are set to the same frequency. | |
| Check the wires with the molex plugs to ensure proper connection. | |
| The fan sounds noisy. | Make sure all motor housing screws are snug. |
| Make sure the screws that attach the fan blade arm to the motor hub are tight. | |
| Make sure wire nut connections are not rattling against each other or the interior wall of the switch housing. | |
| Allow a 24-hour “breaking-in” period. Most noises associated with a new fan disappear during this time. | |
| If using the ceiling light kit, make sure the screws securing the glassware are tight. Check that the light bulb is also secure. | |
| Make sure there is a short distance from the ceiling to the canopy. It should not touch the ceiling. | |
| Make sure your ceiling box is secure and rubber isolator pads are used between the mounting bracket and outlet box. | |
| The remote control is not working. | Do not connect the fan with wall mounted variable speed control(s). |
| Check to make sure the dip switches from the remote control and receiver are set to the same frequency. | |
| The fan wobbles. | Check that all blade and blade arm screws are secure. |
| Most fan wobble problems are caused when blade levels are unequal. Check this level by selecting a point on the ceiling above the tip of one of the blades. Measure from a point on the center of each blade to the point on the ceiling. Rotate the fan until the next blade is positioned for measurement. Repeat for each blade. Measurements deviation should be within 1/8 in. Run the fan for 10 minutes. | |
| Use the enclosed blade balancing kit if the blade wobble is still noticeable. Balancing kit includes an additional instruction manual within the packet. |
Service Parts

| Part | Description | Part | Description |
| A | Fan blade | AA | Blade screw |
| B | Mounting bracket | BB | Fiber washer |
| C | Canopy | cc | Flywheel screw |
| D | Canopy cover | DD | Wire nuts |
| E | Hanger ball (preassembled) | EE | Cross pin (not to scale) (preassembled) |
| F | Downrod (preassembled) | FF | Hitch pin (preassembled) |
| G | Coupling cover | GG | Lock pin (not to scale) (preassembled) |
| H | Fan motor assembly | HH | Hanger ball set screw (preassembled) |
| I | Flywheel | II | Fan motor assembly coupling set screw (preassembled) |
| J | Light kit plate | JJ | Mounting bracket screw (preassembled) |
| K | 17W LED assembly (preassembled) | KK | Light kit plate screw (preassembled) |
| L | Glass shade | LL | LED assembly screw (preassembled) |
| M | Receiver | MM | Remote control holder mounting screw |
| N | Remote control | NN | Balance kit (not to scale) |
| 0 | Remote control holder | ||
| P | 12V Battery | ||
| Q | Extension power cord used for longer downrod (longer downrod not included) |
Supplier’s Declaration of Conformity 47 CFR§2.1077 compliance Information
Unique Identifier
Trade name: HAMPTON BAY
Model Number: CF352KR-04
Responsible Party-U.S Contact Information
Summer wind International, LLC.
755 Regent Boulevard, Suite 275,
Grapevine, TX
75261
Tel: 877-262-7511
FCC Compliance Statement: products subject to Part 15
This device complies with Part 15 of the FCC Rules. Operation is subject to the following two conditions: (1) This device may not cause harmful interference, and (2) this device must accept any interference received, including interference that may cause undesired operation.
HAMPTONBAY.COM
Please contact 1-855-HD-HAMPTON for further assistance. 
Questions, problems, missing parts? Before returning to the store
call Hampton Bay Customer Service
8 a.m. – 7 p.m., EST, Monday-Friday,
9 a.m. – 6 p.m., EST, Saturday
1-855-HD-HAMPTON
HAMPTONBAY.COM
Retain this manual for future use.



Assembly – Hanging the Fan (continued}

This remote control unit is equipped with 16 code combinations to prevent possible interference from or to other remote units. The frequency switches on your receiver (M) and remote control (N)have been preset at the factory. Please recheck to make sure the switches on the remote control (N)and the receiver (M) are set to the same position. Any combination of settings will operate the fan as long as the remote control (N) and receiver (M) are set to the same position.
Follow the steps below to connect the fan to your house supply wires. Secure the wire nuts (DD) supplied with your fan by wrapping the connections with electrical tape.
Assembly – Installing the Light Kit
Assembly – Installing the Light Kit (continued)


















