HAMPTON BAY 93190 Solar LED Path Light

PACKAGE CONTENTS
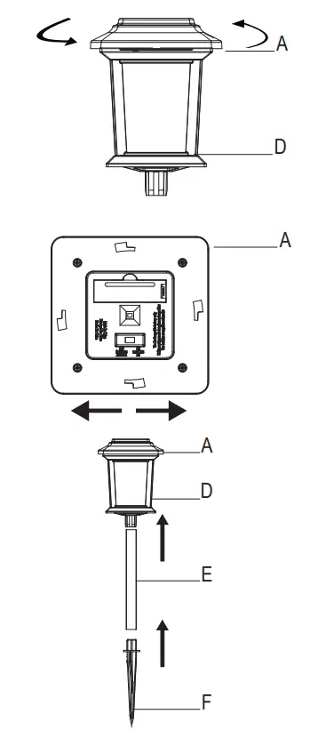
- A – Solar Head x 4

- B – AA 1.2V 1000mAh Ni-Mh rechargeable battery (pre-installed) x 4

- C – Battery cover x 4

- D – Housing x 4

- E – Post x 4

- F – Stake x 4

PLANNING FOR A SUCCESSFUL ASSEMBLY
- Read all instructions before assembly and installation.
- Inspect each part for defects that may have occurred during shipping.
- Keep your receipt and these instructions for proof of purchase.
CHOOSING THE RIGHT LOCATION
Install your solar light in a location with full, direct sunlight. Do not install in shaded areas as these areas will not allow the batteries to fully charge and will reduce the nighttime operating hours for your light. Ensure that the installation location is away from other nighttime light sources such as street or porch lamps. These lightsources may prevent your solar light from automatically turning on.
HOW SOLAR WORKS
The solar light has a solar panel that converts sunlight into electricity. During the day, the converted electricity is stored in the rechargeable batteries. At night, the solar light is powered by the batteries using the electricity stored during the day. The operating time depends on geographical location, daily weather conditions, and season. For optimal performance during the evening, allow the batteries to charge for 6 to 7 hours in direct sunlight.
Assembly and Installation
Preparing for installation
- FOR FIRST TIME USE: Twist and remove the solar head (A) from the housing (D). Push the switch to the “ON” position.
- Replace the solar head (A) on the housing (D)
- Firmly slide the post (E) into the solar housing (D).
- Attach the post (E) to stake (F).

Installing the solar light in the ground
NOTE: Do not use a hammer. If the ground is hard, use water to soften or a trowel to loosen the soil.
- Push the assembly firmly into the ground.

Maintenance
Replacing the battery
CAUTION: When replacing the battery, use one (1) 1000 mAh NiMH AA 1.2V rechargeable battery.
IMPORTANT: Dispose of the batteries in accordance with local, state, and federal regulations.
NOTE: For best performance, replace with a rechargeable 1.2V NiMH battery of 1000 mAh or greater every 3 years or when performance diminishes.
- Twist and remove the housing (D) from top cover (A).
- Remove the battery cover (C). Replace the old battery with a fresh AA NiMH 1000 mAh rechargeable battery.
- Replace the battery cover (C) and housing (D).

Charging the battery
- For optimum performance, it is best to install the solar light in full sunlight and let it charge for 6-7 hours.
- Allow the light to run at least 8-12 entire charging and discharging cycles to reach the maximum capacity of the battery.
Winter tips
- Keep debris and snow off the solar panel to allow the battery to recharge. If lights have been covered by snow for a long time, allow the battery to recharge in full, direct sunlight for at least 6-7 hours so it can maintain maximum capacity.
Troubleshooting
| Problem | Solution |
| The nightly runtime for the lights is shorter. |
|
| The lights do not turn on in the evening. |
|
Care & Cleaning
- Clean the solar panel with a damp cloth. Do not use any chemicals or abrasives.
Warranty
The manufacturer warrants this product to be free for two (2) years against any defects that are due to faulty materials or workmanship. This warranty applies only to the original consumer and only to products used in normal use and service. If this product is found to be defective, the manufacturer’s only obligation, and your exclusive remedy, is the repair or replacement of the product at the manufacturer’s discretion, provided that the product has not been damaged through misuse, abuse, accident, modifications, alterations, neglect or mishandling. This warranty shall not apply to any product that is found to have been improperly installed, set up, or used in any way not in accordance with the instructions supplied with the product. This warranty shall not apply to a failure of the product as a result of an accident, misuse, abuse, negligence, alteration, or faulty installation or any other failure not relating to faulty workmanship. This warranty shall not apply to the finish on any portion of the product, such as surface and/or weathering, as this is considered normal wear and tear. The manufacturer does not warrant and specifically disclaims any warranty, whether expressed or implied, or fitness for a particular purpose, other than the warranty contained herein. The manufacturer specifically disclaims any liability and shall not be liable for any consequential or incidental loss or damage, including any labor/expense costs involved in the replacement or repair of said product.
Customer Support
Contact the Customer Service Team at 1-855-HD-HAMPTON or visit www.HamptonBay.com.


























