HAMPTON BAY 50180 Solar Path Light With Motion Sensor
Safety Information
WARNING: Your solar light may not function in temperatures below -4ºF (-20ºC) or above 140ºF (60ºC).
CAUTION: Use a rechargeable battery only. Recycle or dispose of batteries properly. Do not open, short circuit, or mutilate batteries as injury may occur.
ONE YEAR LIMITED WARRANTY
WHAT IS COVERED:
The manufacturer warrants this product to be free of defects in material and workmanship for a period of one (1) year from the date of purchase. This warranty only applies to the original consumer purchaser and only to products used in normal use and service. The manufacturer’s only obligation and your exclusive remedy, is the repair or replacement of the product at the manufacturer’s discretion, provided that the product has not been damaged through misuse, abuse, accident, modification, alternation, neglect, or mishandling. Proof of purchase and evidence of manufacturer’s date coding must accompany all warranty claims. Manufacturer’s date coding is printed and adhered to each product.
WHAT IS NOT COVERED:
This warranty does not apply to products that are found to have been improperly installed, setup, or used in any way not in accordance with the instructions supplied with the product. This warranty does not apply to a failure of the product as a result of an accident, misuse, abuse, negligence, alteration, or faulty installation. Batteries supplied with this product are not included in this warranty. This warranty shall not apply to the finish on any portion of the product, such as surfaces and/or weathering, as this is considered normal wear and tear. The manufacturer does not warrant and specially disclaims any warranty, whether express or implied, of fitness for a particular purpose, other than the warranty contained herein. This warranty does not cover consequential or incidental loss or damage, including but not limited to any labor/expense costs involved in the replacement or repair of the product.
Contact the Customer Service Team at 1-830-249-1200 or [email protected]
Pre-Installation
PLANNING INSTALLATION: Ensure the mounting location for your solar light allows the solar panel to receive direct sunlight. Do not locate the product in shaded areas as this will significantly reduce performance.
Position the solar light such that during evening hours the ambient light from other light sources does not affect the photosensor built into the solar panel. High ambient light levels can cause the lamp to turn off during evening hours.
NOTE: The solar light is equipped with a photosensor that turns the unit on at dusk and off at dawn. Ambient light can affect the operation of the photosensor.
TOOLS REQUIRED
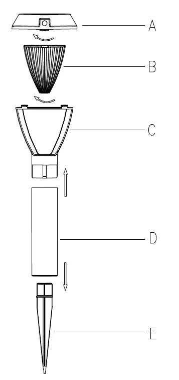
PACKAGE CONTENTS
| Part | Description | Quantity |
| A | Top cap (pre-assembled) | 2 |
| B | Glass shade (pre-assembled) | 2 |
| C | Lamp housing (pre-assembled) | 2 |
| D | Pole (pre-assembled) | 2 |
| E | Ground stake | 2 |
| F | Battery (pre-assembled) | 2 |
Installation
Installing the light
NOTE: Do not use a hammer. If the ground is hard, use water to soften.
- Insert the ground stake (E) firmly into the ground at the installation location. If the ground is too hard, soak the ground with water to soften the ground or drive a metal rod or screwdriver into the ground to create a hole for the ground stake (E).
- Connect the pole (D) to the ground stake (E).
- Connect the lamp housing assembly (A & B & C) to the pole (D).

Operation
- Hold the lamp housing (C) and rotate the top cap (A) counterclockwise until it is loose. Then, remove the top cap and glass shade assembly (A & B) from the lamp housing (C).
- Rotate the glass shade (B) counterclockwise until it is loose. Then, remove the glass shade (B) from the top cap (A).
- Your solar path light is equipped with a 3-way selector (ON+PIR, OFF, PIR) on the back of top cap. Prior to use, the selector must be set to ON+PIR or PIR mode as described below. Setting: ON+PIR mode: This setting allows to turn the light on in about 15 lumens output at dusk and off after 8 hours. Motion detection is activated after 8 hours, when motion is detected in this period, it will turn the light back on in about 15 lumens output for a period of 30 seconds. Motion detection mode is automatically turned off at dawn.
Setting: PIR mode: This setting allows the solar light to automatically go into motion detection mode at dusk. When motion is detected the light will turn on in about 50 lumens output for a period of 30 seconds. Motion detection mode is automatically turned off at dawn. - After you choose your preferred setting, replace the top cap (A) and glass shade (B) back to the lamp housing (C) and allow it to charge for a full sunny day.
Maintenance
Replacing the battery
IMPORTANT: Dispose of the battery in accordance with local, state, and federal regulations.
IMPORTANT: When storing any solar product for an extended period of time, remove the batteries. Storing any solar product without regular recharge or removal of batteries could cause permanent damage to the rechargeable batteries.
NOTE: Use one AA-size, 500mAh, 3.7V Lithium ion rechargeable battery. For best performance, replace with a lithium ion rechargeable battery annually.
- Hold the lamp housing (C) and rotate the top cap (A) counterclockwise until it is loose. Then, remove the top cap and glass shade assembly (A & B) from the lamp housing (C).
- Hold the top cap (A) and rotate the glass shade (B) counterclockwise until it is loose. Then, remove the glass shade (B) from the top cap (A).
- Remove the battery cover (G) and the old battery (F). Replace with a new Lithium ion rechargeable battery. The recommended replacement battery capacity should be 500 to 600mAh.
- Replace the battery cover (G). Replace the top cap (A) and the glass shade (B) to the lamp housing (C).
Care and Cleaning
- The solar panel should be cleaned periodically with a damp cloth to help maintain optimum performance.
- Do not use any cleaners with chemicals, solvents, or harsh abrasives.
Troubleshooting
| Problem | Possible Cause | Solution |
|
The nightly run time is short. |
The battery is not fully charged. | Ensure that the solar light is located in an area where it can receive the maximum amount of full, direct sunlight every day. Keeping the solar panel clean is equally important to ensure the maximum charging performance. |
| The battery is reaching the end of its useful life. | Replace the old battery with 3.7V Lithium ion rechargeable battery. | |
|
The solar light does not turn on at night. | The solar light is set to OFF. | Your solar light is equipped with a 3-way selector (ON+PIR, OFF, PIR) on the back of top cap. The selector must be set to ON+PIR or PIR prior to use. |
| The solar light is installed close to other light sources, which may keep the solar light from turning on at night automatically. | Relocate the fixture or eliminate other light sources. |
Questions, problems, missing parts? Before returning to the store,
call Customer Service: 1-830-249-1200
CustomerService@Creative-prc.us
HAMPTON BAY 50180 Solar Path Light With Motion Sensor




















