BAY SMA030EKTDG18D Jackson Park 22 in. 3-Light Brushed Nickel Integrated LED Bathroom
User Guide
Questions, problems, missing parts? Before returning to the store, call Hampton Bay Customer Service
8 a.m. – 7 p.m., EST, Monday – Friday, 9 a.m. – 6 p.m., EST, Saturday
1-855-HD-HAMPTON
HAMPTONBAY.COM
THANK YOU
We appreciate the trust and confidence you have placed in Hampton Bay through the purchase of this lighting fixture. We strive to continually create quality products designed to enhance your home. Visit us online to see our full line of products available for your home improvement needs. Thank you for choosing Hampton Bay!
Safety Information
Safety Information
WARNING: THE PRODUCT MUST BE INSTALLED BY A PERSON FAMILIAR WITH THE CONSTRUCTION AND OPERATION OF THE PRODUCT AND THE HAZARDS INVOLVED, IN ACCORDANCE WITH THE APPLICABLE INSTALLATION CODE.
Carefully read and understand the information given in this manual before beginning the assembly and installation. Failure to do so could lead to electric shock, fire or other injuries which could be hazardous or even fatal.
Be sure the electricity to the wires you are working on is shut off. Either remove the fuse or turn off the circuit breaker.
Changes or modifications not expressly approved by the party responsible for compliance could void the user’s authority to operate the equipment.
WARNING: Risk of fire or electric shock. Lighting fixture installation requires knowledge of luminaire electrical systems. If not qualified, do not attempt installation. Contact a qualified electrician.
WARNING: To prevent wiring damage or abrasion, do not expose wiring to the edges of sheet metal or other sharp objects.
NOTICE: Do not make or alter any open holes in an enclosure of wiring or electrical components during installation.
NOTICE: Handle glass shade with care due to potential breakage.
NOTICE: This device complies with part 15 of the FCC Rules.
Operation is subject to the following two conditions:
- This device may not cause harmful interference, and
- This device must accept any interference received, including interference that may cause undesired operation.
This equipment has been tested and found to comply with the limits for a Class B digital device, pursuant to part 15 of the FCC Rules.
These limits are designed to provide reasonable protection against harmful interference in a residential installation. This equipment generates, uses and can radiate radio frequency energy and, if not installed and used in accordance with the instructions, may cause harmful interference to radio communications. However, there is no guarantee that interference will not occur in a particular installation.
If this equipment does cause harmful interference to radio or television reception, which can be determined by turning the equipment off and on, the user is encouraged to try to correct the interference by one or more of the following measures:
- Reorient or relocate the receiving antenna.
- Increase the separation between the equipment and the receiver.
- Connect the equipment to an outlet on a circuit different from that to which the receiver is connected.
- Consult the dealer or an experienced radio/TV technician for help.
Warranty
WHAT IS COVERED
The manufacturer warrants this lighting fixture to be free from defects in materials and workmanship for a period of five (5) years from the date of purchase. This warranty applies only to the original consumer purchaser and only to products used in normal use and service. If this product is found to be defective, the manufacturer’s only obligation, and your exclusive remedy, is the repair or replacement of the product at the manufacturer’s discretion, provided that the product has not been damaged through misuse, abuse, accident, modifications, alterations, neglect or mishandling.
WHAT IS NOT COVERED
This warranty shall not apply to any product that is found to have been improperly installed, set up, or used in any way not in accordance with the instructions supplied with the product. This warranty shall not apply to a failure of the product as a result of an accident, misuse, abuse, negligence, alteration, or faulty installation, or any other failure not relating to faulty material or workmanship. This warranty shall not apply to the finish on any portion of the product, such as surface and/or weathering, as this is considered normal wear and tear. The manufacturer does not warrant and specially disclaims any warranty, whether express or implied, of fitness for a particular purpose, other than the warranty contained herein. The manufacturer specifically disclaims any liability and shall not be liable for any consequential or incidental loss or damage, including but not limited to any labor/expense costs involved in the replacement or repair of said product.
Contact the Customer Service Team at 1-855-HD-HAMPTON or visit www.HAMPTONBAY.com.
Pre-Installation
PLANNING INSTALLATION
WARNING: Shut off power at the circuit breaker or fuse panel before removing the old fixture.
Read all instructions before assembly. Before starting the installation of this fixture or removal of a previous fixture, disconnect the power by turning off the circuit breaker or by removing the fuse at the fuse box. To avoid damaging this product, assemble it on a soft, non-abrasive surface such as carpet or cardboard.
Note: Keep your receipt and this instruction for proof of purchase.
TOOLS REQUIRED

HARDWARE INCLUDED
NOTE: Hardware not shown to actual size.

| Part | Description | Quantity |
| AA | Wire nut | 3 |
| BB | Junction box screw | 2 |
PACKAGE CONTENTS
| Item | Part | Description | Quantity |
| Fixture Body (Parts A, B, C, D, E, and F are a group assembly) | A | Mounting plate | 1 |
| B | Mounting screw | 1 | |
| C | Mounting Deck | 1 | |
| D | Locking Nut | 2 | |
| E | Glass Shade Holder | 3 | |
| Glass Shade | F | Glass Shade | 3 |

Installation
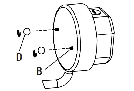
Loosen the Lock Nuts
- Loosen the two locking nuts (D) and separate the fixture body and mounting plate (A).

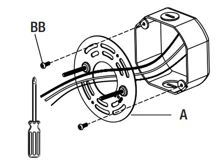
Mount the Mounting Plate
Put the mounting plate (A) onto the junction box (not included) and fix it with junction box screws (BB).

Connect the wires
- Connect the black and white wires of the fixture with two wires of the same color from the junction box. Secure together using wire nuts (AA).
- Connect the copper grounding wire of the fixture with the one from the junction box.
Secure together using a wire nut (AA).
Mount the Fixture Body
- Align the keyholes on the back of the mounting deck (C) with the pre-assembled mounting screws (B).

- Screw locking nuts (D) onto the mounting screws (B) to secure the fixture body.

Install the Shade
- Align the slots on the glass shade (F) with the buckle point on the inside of the glass shade holder (E). Turn the shade (F) clockwise carefully and make sure it locks into place.

Turn on the Light
- Restore power to the junction box and turn on the light.

Care and Cleaning
- Clean the fixture with a soft, dry cloth.
- Do not use any cleaners with chemicals, solvents, or harsh abrasives.
WARNING: Shut off power at the circuit breaker or fuse panel before cleaning the fixture.
Troubleshooting
| Problem | Possible Cause | Solution |
| The fixture will not light. | The power is off. | |
| ❑ Ensure the power supply is On. | ||
| The circuit breaker is off. | ❑ Ensure the circuit breaker is in the On position. | |
| A wire is not properly connected. | ||
| ❑ Check to ensure proper wire connections are made. Contact a qualified electrician. | ||
| The switch is defective. | ❑ Test the switch or contact a qualified electrician to replace switch. | |
| The fuse blows or the circuit breaker trips when the light is turned on. | The wires are crossed or the power wire is grounding out. | ❑ Check the wire connections. ❑ Contact a qualified electrician or call the Customer Service Team at 1-855-HD-HAMPTON |
Dimmer Compatibility
FOR USE WITH DIMMER MODELS:
LUTRON: DVCL-153PR-WH, CTCL-153PDH-WH, TGCL-153PH-WH, MACL-153MH-WH, MSCL-OP153MH-WH, DV-600PR-WH S-600PH-WH, White/Blanco MS- OPS2MH-WH Occupancy Sensor, MACL-153MR-WH, MACL- 153MH-LA, TGCL-153PR-WH, MRF2-6CL-WH, MACL-153M-WH, SCL-153P-WH, DVWCL-153PH-LA, DVF-103P-WH
LEVITON: R62-06674-P0W, C22-6672-1LW, R50-IPL06-10M, LEVITON 6631 120V 600W, R68-6674-POT, R08-TSL06-1KT, M02-DSL06-3PW, DDMX1-BLZ, DW6HD- 1BZ, DW1KD-1BZ, HZ6HD-1BZ, DZ1KD-1BZ, DL6HD-1BZ, DL1KD-1BZ, DH6HD-1BZ, DH1KD-1BZ
LEGRAND: HCL453PTCCCV6 120V 450W 60HZ
COOPER: AAL06-C1, SAL06P-LA-K, Cat.No.SAL06P
For a complete list of compatible dimmers, please visit HAMPTONBAY.COM
FCC compliance information is listed as below:
Responsible party: Leedarson America, Inc.
Responsible party address: 300 Technology Court SE Suite 100, Smyrna, GA 30082
Telephone number: (678) 293-8382
Questions, problems, missing parts? Before returning to the store,
call Hampton Bay Customer Service
8 a.m. – 7 p.m., EST, Monday – Friday, 9 a.m. – 6 p.m., EST, Saturday
1-855-HD-HAMPTON
HAMPTONBAY.COM
Retain this manual for future use.





















