EnviroLite HB2B13DMP50 5000K LED High Bay Instruction Manual
INSTALLATION INSTRUCTIONS
Please read carefully and save these instructions. Failure to do so may lead to electrical shock or fire, which may cause injury or death.
CAUTION
WARNING – RISK OF FIRE: Turn off the main power at the circuit breaker before installing the fixture or performing other maintenance in order to prevent possible shock.
GENERAL
All electrical connections must be in accordance with local, and national electrical codes.
Prior to installation remove all protective plastic film covering from the fixture.
Tools needed for installation: Phillips screwdriver, wire strippers, and pliers.
ASSEMBLY AND INSTALLATION
- Remove the screw (A) near the access plate (B) located on the back of the fixture. [Fig. 1]

- Punch out one of the knockouts (C) in the access plate (B). [Fig. 1]
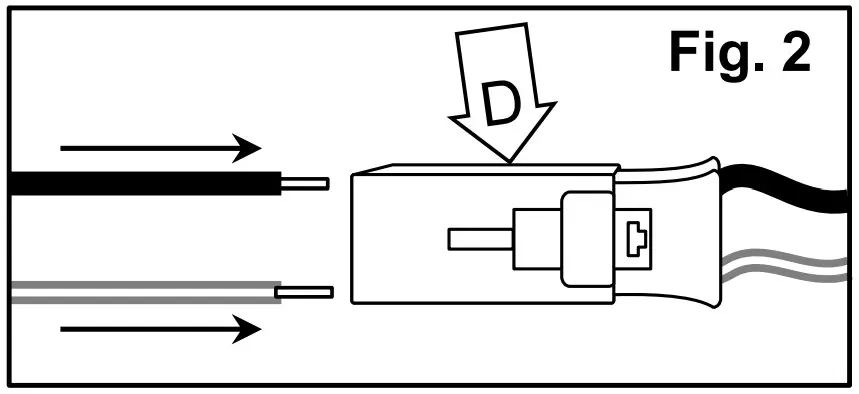
- Open the access plate (B) and thread the supply wires through the knockout (C). Insert the supply wires into the quick connector (D) aligning the black supply wire with the black fixture wire and the white supply wire to the white fixture wire. [Fig. 2] Connect the supply ground grey/yellow wire to the fixture ground wire using a wire nut.

- If the fixture needs to be dimmed, connect it to a 0-10V dimmer. Punch out one of the knockouts (E) located around the side of the fixture and pull the dimming wires out through that knockout (E). [Fig. 3]

- Place the access plate (B) back onto the fixture and secure it with the screw (A) that was previously removed. [Fig. 1]
- Put a chain through the hangers. Hook the hangers into the oblong holes in the back of the fixture and through the round holes on the end of the fixture. [Fig. 4]

DIMMING
- Use a 0-10V dimmer only.
- Remove the front plate (F) along the center of the fixture by removing the screw (G) and sliding the cover off. [Fig. 5]

- Connect the purple dimming wire with the purple fixture wire. Connect the grey or pink dimming wire with the grey or pink fixture wire. [Fig. 6]

- Place the channel cover back on and secure it in place with the screw that were previously removed.

















