

OPERATOR’S MANUAL
MANUAL DEL OPERADOR
40 VOLT POWER HEAD
40 V BLOC MOTEUR 40 V CABEZAL MOTOR
RY40003

Your powerhead has been engineered and manufactured to our high standard for dependability, ease of operation, and operator safety. When properly cared for, it will give you years of rugged, trouble-free performance.
Thank you for your purchase.
SAVE THIS MANUAL FOR FUTURE REFERENCE
GUARDE ESTE MANUAL PARA FUTURAS CONSULTAS
See this fold-out section for all the figures referenced in the operator’s manual.
Fig. 1
| A – Switch trigger | E – Adjustable front handle |
| B – Knob | F – Trigger lock-out |
| C – Coupler | G – Speed switch |
| D – Rear handle |
Fig. 2

| A – Button | E – Knob |
| B – Guide recess | F – Positioning hole |
| C – Couple | G – Attachment shaft |
| D – Power head shaft |
Fig. 3

| A – Front handle |
| B – Wing bolt |
| C – Washer |
Fig.4

| A – Battery | B – Latch |
Fig.5
| A – Knob | B – Adjustable front handle |
Fig.6
| A – Trigger lock-out | B – Switch trigger | C – Speed switch |
Fig. 7
PROPER EDGER ATTACHMENT OPERATING POSITION

Fig. 8
PROPER BLOWER ATTACHMENT OPERATING POSITION
Fig. 9
PROPER STRAIGHT SHAFT TRIMMER ATTACHMENT OPERATING POSITION
Fig. 10
PROPER CURVED SHAFT TRIMMER ATTACHMENT OPERATING POSITION
Fig. 11
PROPER CULTIVATOR ATTACHMENT OPERATING POSITION
Fig. 12
PROPER PRUNER ATTACHMENT OPERATING POSITION
A – 60° maximum
INTRODUCTION
This product has many features for making its use more pleasant and enjoyable. Safety, performance, and dependability have been given top priority in the design of this product making it easy to maintain and operate.
IMPORTANT SAFETY INSTRUCTIONS
When using electric gardening appliances, basic safety precautions should always be followed to reduce the risk of fire, electric shock, and personal injury. |
READ ALL INSTRUCTIONS
- For safe operation, read and understand all instructions before using this product. Follow all safety instructions. Failure to follow all safety instructions listed below can result in serious personal injury.
- Do not allow children or untrained individuals to use this unit.
- Check the work area before each use. Remove all objects such as rocks, broken glass, nails, wire, or string which can be thrown or become entangled in the machine.
- Always wear eye protection with side shields marked to comply with ANSI Z87.1. Following this rule will reduce the risk of serious personal injury.
- Use Safety Glasses – Always use a face or dust mask if the operation is dusty.
- Protect your lungs. Wear a face or dust mask if the operation is dusty. Following this rule will reduce the risk of serious personal injury.
- Dress Properly – Use of rubber gloves and substantial footwear is recommended when working outdoors. Wear heavy, long pants, long sleeves, boots, and gloves. Do not wear loose-fitting clothing, short pants, sandals, or go barefoot. Do not wear loose clothing or jewelry. They can be caught in moving parts. Secure long hair above shoulder level to prevent entanglement in moving parts.
- Keep children away – Keep all bystanders, children, and pets at least 50 ft. away.
- Stay alert – Watch what you are doing. Use common sense. Do not operate this unit when you are tired, ill, upset, or under the influence of alcohol, drugs, or medication.
- Do not operate in poor lighting.
- Keep all parts of your body away from any moving part.
- Do not operate power tools in explosive atmospheres, such as in the presence of flammable liquids, gases, or dust. Power tools create sparks that may ignite the dust or fumes.
- Avoid Dangerous Environments – Don’t expose appliances to rain or wet conditions. Water entering an appliance will increase the risk of electric shock.
- Use Right Appliance – Do not use this product for any job except that for which it is intended.
- Don’t Force Appliance – It will do the job better and with less likelihood of a risk of injury at the rate for which it was designed.
- Do not operate the equipment while barefoot or when wearing sandals or similar lightweight footwear. Wear protective footwear that will protect your feet and improve your footing on slippery surfaces.
- Do not overreach – Keep firm footing and balance. Overreaching can result in loss of balance.
- Avoid accidental starting – Be sure the switch trigger is in the locked or off position before inserting the battery pack. Carrying tools with your finger on the switch trigger or inserting the battery pack into a tool with the switch on invites accidents.
- Do not use the tool if the switch trigger does not turn it on or off. Any tool that cannot be controlled with the switch trigger is dangerous and must be repaired.
- Disconnect powerhead – Disconnect battery pack from the appliance before storing, servicing, or changing ac- accessories such as cutting line. Such preventive safety measures reduce the risk of starting the tool accidentally.
- Use only identical manufacturer’s replacement parts and accessories. Use of any other parts may create a hazard or cause product damage.
- Maintain appliance with care – Replace string head if cracked, chipped, or damaged in any way. Be sure the string head is properly installed and securely fastened. Failure to do so can cause serious injury. Follow instructions for lubrication and changing accessories. Inspect the charger cord periodically and, if damaged, have it replaced. Keep powerhead handles dry, clean, and free from grease and oil.
- Check Damaged Parts – Before further use of the appliance, a guard or other part that is damaged should be carefully checked to determine that it will operate properly and perform its function. Check for alignment of moving parts, binding of moving parts, breakage of parts, mounting, and any other condition that may affect its operation. A guard or other part that is damaged should be properly repaired or replaced by an authorized service center un- less indicated elsewhere in this manual.
- Keep hands and feet away from the cutting area.
- Make sure all guards, straps, deflectors, and handles are properly and securely attached.
- Use only the manufacturer’s replacement string in the cutting head when using a string trimmer attachment. Do not use any other cutting attachment, for example, metal wire, rope, or the like. To install any other brand of cutting head to the string trimmer attachment can result in serious personal injury.
- Never operate the unit without the debris shield in place and in good condition.
- Maintain a firm grip on both handles while trimming. Keep string head below waist level. Never cut with the string head located over 30 in. or more above the ground.
- Keep all parts of the body away from the saw chain. Do not remove cut material or hold material to be cut when blades are moving. Make sure the switch is off when clearing jammed material. The saw chain continues to move after the switch is turned off. A moment of inattention while operating the extended-reach pruner may result in serious personal injury
- Carry the extended-reach pruner by the handle with the saw chain stopped. When transporting or storing the extended-reach pruner, always fit the saw chain device cover. Proper handling of the extended-reach pruner will reduce possible personal injury from the saw chain.
- Store idle appliances indoors – When not in use, powerhead and attachments should be stored indoors in a dry, locked place out of the reach of children.
- Never use flailing devices, wire, or rope on any attachment.
- Inspect the area to be cut. Remove objects (rocks, broken glass, nails, wire, string, etc.) that can be thrown or become entangled in the cutting head.
- Keep the air vents clean and free of debris to avoid overheating the motor. Clean after each use.
- Stop the unit and disconnect the power source when not in use. Carry the unit with the motor stopped.
- Store out of the reach of children.
- Do not hang the unit so that the switch trigger is depressed.
- Battery tools do not have to be plugged into an electrical outlet; therefore, they are always in operating condition. Be aware of possible hazards when not using your battery tool or when changing accessories. Following this rule will reduce the risk of electric shock, fire, or serious personal injury.
- Do not charge battery tools in rain or damp or wet locations. Following this rule will reduce the risk of electric shock.
- Do not use battery-operated appliances in rain.
- Do not grasp the exposed cutting blades or cutting edges when picking up or holding the appliance.
- Do not allow powerhead to be used as a toy. Close attention is necessary when used by or near children.
- Do not handle chargers, including charger plug, and charger terminals with wet hands.
- Use extra care when cleaning on stairs.
- Remove or disconnect the battery before servicing, cleaning, or removing material from the gardening appliance.
- Use the battery only with the charger listed. For use with 40V lithium-ion battery packs. See Tool/Appliance/Battery Pack/Charger Correlation Supplement 988000-842.
- Do not dispose of the batteries in a fire. The cell may explode. Check with local codes for possible special disposal instructions.
- Do not open or mutilate the batteries. Released electrolyte is corrosive and may cause damage to the eyes or skin. It may be toxic if swallowed.
- Do not place battery tools or their batteries near fire or heat. This will reduce the risk of explosion and possibly injury.
- Carry the extended-reach pruner by the handle with the saw chain stopped. When transporting or storing the extended-reach pruner, always fit the saw chain device cover. Proper handling of the extended-reach pruner will reduce possible personal injury from the saw chain.
- Store idle appliances indoors – When not in use, powerhead and attachments should be stored indoors in a dry, locked place out of the reach of children.
- Batteries can explode in the presence of a source of ignition, such as a pilot light. To reduce the risk of serious personal injury, never use any cordless product in the presence of an open flame. An exploded battery can propel debris and chemicals. If exposed, flush with water immediately.
- Do not crush, drop or damage battery pack. Do not use a battery pack or charger that has been dropped or received a sharp blow. A damaged battery is subject to explosion. Properly dispose of a dropped or damaged battery immediately.
- Exercise care in handling batteries in order not to short the battery with conducting materials such as rings, bracelets, and keys. The battery or conductor may overheat and cause burns.
- Never use flailing devices, wire, or rope on any attachment.
- Inspect the area to be cut. Remove objects (rocks, broken glass, nails, wire, string, etc.) that can be thrown or become entangled in the cutting head.
- Keep the air vents clean and free of debris to avoid overheating the motor. Clean after each use.
- Stop the unit and disconnect the power source when not in use. Carry the unit with the motor stopped.
- Store out of the reach of children.
- Do not hang the unit so that the switch trigger is depressed.
- Battery tools do not have to be plugged into an electrical outlet; therefore, they are always in operating condition. Be aware of possible hazards when not using your battery tool or when changing accessories. Following this rule will reduce the risk of electric shock, fire, or serious personal injury.
- Do not charge the battery tool in rain or damp or wet location. Following this rule will reduce the risk of electric shock.
- Do not use battery-operated appliances in rain.
- Do not grasp the exposed cutting blades or cutting edges
- Under extreme usage or temperature conditions, battery leakage may occur. If liquid comes in contact with your skin, wash immediately with soap and water, then neutralize with lemon juice or vinegar. If liquid gets into your eyes, flush them with clean water for at least 10 minutes, then seek immediate medical attention. Following this rule will reduce the risk of serious personal injury. when picking up or holding the appliance.
- Do not allow powerhead to be used as a toy. Close attention is necessary when used by or near children.
- Save these instructions. Refer to them frequently and use them to instruct others who may use this power tool. If you loan someone this power tool, loan them these instructions also.
ADDITIONAL SPECIFIC SAFETY RULES CAN BE FOUND IN THE APPLICABLE ATTACHMENT’S OPERATOR’S MANUAL
SYMBOLS
The following signal words and meanings are intended to explain the levels of risk associated with this product.
| SYMBOL | SIGNAL | MEANING |
![]() | DANGER: | Indicates a hazardous situation, which, if not avoided, will result in death or serious injury. |
![]() | WARNING: | Indicates a hazardous situation, which, if not avoided, could result in death or serious injury. |
![]() | CAUTION: | Indicates a hazardous situation, that, if not avoided, may result in minor or moderate injury. |
![]() | NOTICE: | (Without Safety Alert Symbol) Indicates information considered important, but not related to a potential injury (e.g. messages relating to property damage). |
Some of the following symbols may be used on this product. Please study them and learn their meaning. Proper interpretation of these symbols will allow you to operate the product better and safer.
| SYMBOL NAME DESIGNATION/EXPLANATION | ||
![]() | Safety Alert | Indicates a potential personal injury hazard. |
![]() | Read Operator’s Manual | To reduce the risk of injury, users must read and understand the operator’s manual before using this product. |
![]() | Eye Protection | Always wear eye protection with side shields marked to comply with ANSI Z87.1. |
![]() | Wet Conditions Alert | Do not expose to rain or use in damp locations. |
![]() | Keep Bystanders Away | Keep all bystanders at least 50 ft. away. |
![]() | Ricochet | Thrown objects can ricochet and result in personal injury or property damage. |
![]() | No Blade | Do not install or use any type of blade on a product displaying this symbol. |
![]() | Recycle Symbol | This product uses lithium-ion (Li-ion) batteries. Local, state, or federal laws may prohibit the disposal of batteries in ordinary trash. Consult your local waste authority for information regarding available recycling and/ or disposal options. |
| Direct Current | Type or a characteristic of current | |
| No Load Speed | Rotational speed, at no load | |
| Per Minute | Revolutions, strokes, surface speed, orbits, etc., per minute | |
| Volts | Voltage | |
| Hertz | Frequency (cycles per second) | |
| Minutes | Time | |
FEATURES
KNOW YOUR POWERHEAD
See Figure 1.
The safe use of this product requires an understanding of the information on the tool and in this operator’s manual as well as a knowledge of the project you are attempting. Before the use of this product, familiarize yourself with all operating features and safety rules.
ADJUSTABLE FRONT HANDLE
The front handle assembly can be adjusted for ease of operation and to help prevent loss of control.
HANDLE OVER MOLD
Handle overmold provides added user comfort.
SPEED SWITCH
This tool has a speed selector that allows the operator to choose between and HI and LOW speeds. Using low speed during operation can help extend battery run time while using high speed will improve power and performance.
TRIGGER LOCK-OUT
The trigger lock-out prevents accidental starting.
VARIABLE SPEED SWITCH TRIGGER
This tool has a variable speed switch that delivers a higher speed with increased trigger pressure. Speed is controlled by the amount of switch trigger depression.
ASSEMBLY
UNPACKING
This product requires assembly.
- Carefully remove the product and any accessories from the box. Make sure that all items listed in the packing list are included.
WARNING:Do not use this product if any parts on the Packing List are already assembled to your product when you unpack it. Parts on this list are not assembled to the product by the manufacturer and require custom installation. Use of a product that may have been improperly assembled could result in serious personal injury. |
- Inspect the product carefully to make sure no breakage or damage occurred during shipping.
- Do not discard the packing material until you have carefully inspected and satisfactorily operated the product.
- If any parts are damaged or missing, please call 1-800-860-4050 for assistance.
PACKING LIST
Power Head
Front Handle
Operator’s Manual
WARNING:If any parts are damaged or missing do not operate this product until the parts are replaced. Use of this product with damaged or missing parts could result in serious personal injury. |
WARNING:Do not attempt to modify this product or create accessories not recommended for use with this product. Any such alteration or modification is misuse and could result in a hazardous condition leading to possible serious personal injury. |
WARNING:To prevent accidental starting that could cause serious personal injury, always remove the battery pack from the product when assembling parts. |
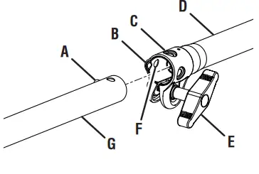
INSTALLING AN ATTACHMENT TO THE POWERHEAD
See Figure 2.
WARNING:Read and understand the entire Operator’s Manual for each optional attachment used on this powerhead and follow all warnings and instructions. Failure to follow all instructions could result in electric shock, fire, and/or serious personal injury. |
WARNING:This 40 V power head is designed to be used only with the attachment models that are specified in this Operator’s Manual. It is not designed to be used with brush cutters or other attachment models. The use of other attachments could cause serious personal injuries or property damage. |
ASSEMBLY
WARNING:
Never install, remove, or adjust any attachment while the powerhead is running. Failure to stop the motor can cause serious personal injury. Never operate powerhead without an attachment.
This 40 V powerhead may be used with only the following Ryobi Expand-It attachments:
- RY15518, RYEDG11, and RYEDG12 Edgers
- RY15519, RYBLW22, and RYAXA22 Blowers
- RY15523, RY15523A, and RYSST44 Straight Shaft String Trimmers
- RY15525 and RYCST55 Curved Shaft String Trimmers
- RY15550 and RYTIL66 Cultivators
- RY15520 and RYPRN33 Pruners
- RYSNW00 Snow Thrower
- RYSWP25 Sweeper
The attachment connects to the powerhead by means of a coupler device. - Stop the motor and remove the battery pack.
- Loosen the knob on the coupler of the powerhead shaft and remove the end cap from the attachment.
- Push in the button located on the attachment shaft. Align the button with the guide recess on the powerhead coupler and slide the two shafts together. Rotate the attachment shaft until the button locks into the positioning hole.
NOTE: If the button does not release completely in the positioning hole, the shafts are not locked into place. Slightly rotate from side to side until the button is locked into place.
- Tighten the knob securely.
WARNING:
Be certain the knob is fully tightened before operating equipment; check it periodically for tightness during use to avoid serious personal injury.
REMOVING THE ATTACHMENT FROM THE POWERHEAD
- Stop the motor and remove the battery pack.
- Loosen the knob.
- Push in the button and twist the shafts to remove and separate ends.
ATTACHING THE FRONT HANDLE
See Figure 3.
- Loosen and remove the wing bolt and washer from the handle.
- Install the handle on the powerhead shaft in the area indicated by the illustration.
- Adjust handle up or down, if necessary, to desired operating position.
- Reinstall the washer and wing bolt. Tighten wing bolt to secure.
OPERATION
WARNING:
Read and understand the entire Operator’s Manual for each optional attachment used on this powerhead and follow all warnings and instructions. Failure to follow all instructions could result in electric shock, fire, and/or serious personal injury.
WARNING:
Do not allow familiarity with products to make you careless. Remember that a careless fraction of a second is sufficient to inflict serious injury.
WARNING:
Always wear eye protection with side shields marked to comply with ANSI Z87.1. Hearing and/or head protection may also be required depending on the type of attachment used and as prescribed in the attachment’s Operator’s Manual. Failure to do so could result in objects being thrown into your eyes and other possible serious injuries.
WARNING:
Do not use any attachments or accessories not recommended by the manufacturer of this product. The use of attachments or accessories not recommended can result in serious personal injury.
NOTICE:
Before each use, inspect the entire product for damaged, missing, or loose parts such as screws, nuts, bolts, caps, etc. Tighten securely all fasteners and caps and do not operate this product until all missing or damaged parts are replaced. Please contact customer service or a qualified service center for assistance.
WARNING:
Always remove the battery pack form your tool when you are assembling parts, making adjustments, cleaning, or when not in use. Removing the battery pack will prevent accidental starting that could cause serious personal injury.
INSTALLING/REMOVING BATTERY PACK
See Figure 4.
To install a battery pack:
- Place the battery pack in the powerhead. Align raised ribs on the battery pack with grooves in the power head’s battery port.
WARNING:
Make sure the latch on the bottom of the battery pack snaps in place and the battery pack is fully seated and secure in the powerhead battery port before beginning operation. Failure to securely seat the battery pack could cause the battery pack to fall out, resulting in serious personal injury.
To remove a battery pack:
- Press and hold the battery latch button at the bottom of the battery pack.
- Remove the battery pack from the powerhead. For complete charging instructions, refer to the Operator’s Manuals for your RYOBI battery pack and charger models.
WARNING:
To avoid serious personal injury, always remove the battery pack and keep your hands clear of the trigger lock-out when carrying or transporting the tool.
ADJUSTING THE FRONT HANDLE
See Figure 5.
The angle of the front handle can be adjusted 180°.
- Remove the battery pack.
- Set the power head on a flat surface and turn the knob counterclockwise to loosen the handle.
- Adjust the handle as desired.
- Turn the knob clockwise until the handle is securely tightened before reinstalling the battery pack.
STARTING/STOPPING THE POWERHEAD
See Figure 6.
To start:
- Select the desired operating speed (HI or LOW).
- Press and hold the trigger lock-out.
- Depress the switch trigger.
To stop:
- Release the switch trigger to stop the powerhead.
- Upon release of the switch trigger, the trigger lock-out will automatically reset to the locked position.
OPERATING THE POWERHEAD
See Figures 7 – 12.
Hold the powerhead with your right hand on the rear handle and your left hand on the front handle. Keep a firm grip with both hands while in operation. The powerhead should be held at a comfortable position with the rear handle about hip height. Always operate powerhead with switch trigger completely depressed. If debris becomes wrapped around the attachment, RELEASE THE SWITCH TRIGGER, remove the battery pack, and remove the debris.
WARNING:
Always hold the powerhead away from the body keeping clearance between the body and the tool. Any contact with an attachment cutting head can result in burns and/ or another serious personal injury.
WARNING:
Extreme care must be taken when using a blade attachment to ensure safe operation. Read the safety information for safe operation when using a blade attachment and refer to the safety rules and instructions in your attachment manual. Never use a brush cutter attachment with this powerhead. Improper portion of a blade or any attachment could result in serious injury.
MAINTENANCE
WARNING:
To avoid serious personal injury, always remove the battery pack from the tool when cleaning or performing any maintenance.
WARNING:
Always wear eye protection with side shields marked to comply with ANSI Z87.1. Hearing and/or head protection may also be required depending on the type of attachment used and as prescribed in the attachment’s Operator’s Manual. Failure to do so could result in objects being thrown into your eyes and other possible serious injuries.
WARNING:
When servicing, use only identical replacement parts. Use of any other parts can create a hazard or cause product damage.
NOTICE:
Periodically inspect the entire product for damaged, missing, or loose parts such as screws, nuts, bolts, caps, etc. Tighten securely all fasteners and caps and do not
operate this product until all missing or damaged parts are replaced. Please contact customer service or a qualified service center for assistance.
GENERAL MAINTENANCE
Avoid using solvents when cleaning plastic parts. Most plastics are susceptible to damage from various types of commercial solvents and may be damaged by their use. Use clean cloths to remove dirt, dust, oil, grease, etc.
WARNING:
Do not at any time let brake fluids, gasoline, petroleum-based products, penetrating oils, etc., come in contact with plastic parts. Chemicals can damage, weaken or destroy plastic which can result in serious personal injury. CLEANING THE POWERHEAD
- Stop the motor and remove the battery pack.
- Clean dirt and debris from the powerhead using a damp cloth with a mild detergent.
NOTICE:
Do not use any strong detergents on the plastic housing or the handle. They can be damaged by certain aromatic oils such as pine and lemon, and by solvents such as kerosene.
STORING THE POWERHEAD
- Remove the battery pack from the powerhead before storing.
- Clean all foreign material from the powerhead.
- Store it in a place that is inaccessible to children.
- Keep away from corrosive agents such as garden chemicals and de-icing salts.
TROUBLESHOOTING
| PROBLEM | Motor fails to start when switch trigger is depressed. |
| POSSIBLE CAUSE | The battery is not secure. |
| The battery is not charged. | |
| SOLUTION | To secure the battery pack, make sure the latch on the bottom of the battery pack is snapped into place. |
| Charge the battery pack according to the instructions included with your model. |
WARRANTY
LIMITED WARRANTY STATEMENT
Techtronic Industries North America, Inc., warrants to the original retail purchaser that this RYOBI™ brand outdoor product is free from defect in material and workmanship and agrees to repair or replace, at Techtronic Industries North America, Inc.’s, discretion, any defective product free of charge within these time periods from the date of purchase.
- Five years if the product is used for personal, family, or household use;
- 90 days, if used for any other purpose, such as commercial or rental.
This warranty extends to the original retail purchaser only and commences on the date of the original retail purchase. Any part of this product found in the reasonable judgment of Techtronic Industries North America, Inc. to be defective in material or workmanship will be repaired or replaced without charge for parts and labor by an authorized service center for RYOBI™ brand outdoor products (Authorized Ryobi Service Center).
The product, including any defective part, must be returned to an authorized Ryobi service center within the warranty period. The expense of delivering the product to the service center for warranty work and the expense of returning it back to the owner after repair or replacement will be paid by the owner. Techtronic Industries North America, Inc.’s, responsibility in respect to claims is limited to making the required repairs or replacements and no claim of breach
of warranty shall be cause for cancellation or rescission of the contract of sale of any RYOBI™ brand outdoor product. Proof of purchase will be required by the dealer to substantiate any warranty claim. All warranty work must be performed by an authorized service dealer.
This warranty is limited to ninety (90) days from the date of original retail purchase for any RYOBI™ brand outdoor product that is used for rental or commercial purposes or any other income-producing purpose.
This warranty does not cover any product that has been subject to misuse, neglect, negligence, or accident, or that has been operated in any way contrary to the operating instructions as specified in this operator’s manual. This warranty does not apply to any damage to the product that is the result of improper maintenance or to any product that has been altered or modified. The warranty does not extend to repairs made necessary by normal wear or by the use of parts or accessories which are either incompatible with the RYOBI™ brand outdoor product or adversely affect its operation, performance, or durability. In addition, this warranty does not cover:
A. Tune-ups – Spark Plugs, Carburetor, Carburetor Adjustments, Ignition, Filters
B. Wear items – Bump Knobs, Outer Spools, Cutting Lines, Inner Reels, Starter Pulleys, Starter Ropes, Drive Belts, Tines, Felt Washers, Hitch Pins, Mulching Blades, Blower Fans, Blower and Vacuum Tubes, Vacuum Bag and Straps, Guide Bars, Saw Chains
Techtronic Industries North America, Inc., reserves the right to change or improve the design of any RYOBI™ brand outdoor product without assuming any obligation to modify any product previously manufactured.
ALL IMPLIED WARRANTIES ARE LIMITED IN DURATION TO THE STATED WARRANTY PERIOD. ACCORDINGLY, ANY SUCH IMPLIED WARRANTIES INCLUDING MERCHANTABILITY, FITNESS FOR A PARTICULAR PURPOSE, OR OTHERWISE, ARE DISCLAIMED IN THEIR ENTIRETY AFTER THE EXPIRATION OF THE APPROPRIATE FIVE-YEAR OR NINETY-DAY WARRANTY PERIOD. TECHTRONIC INDUSTRIES NORTH AMERICA, INC.’S, OBLIGATION UNDER THIS WARRANTY IS STRICTLY AND EXCLUSIVELY LIMITED TO THE REPAIR OR REPLACEMENT OF DEFECTIVE PARTS AND TECHTRONIC INDUSTRIES NORTH AMERICA, INC., DOES NOT ASSUME OR AUTHORIZE ANYONE TO ASSUME FOR THEM ANY OTHER OBLIGATION. SOME STATES DO NOT ALLOW LIMITATIONS ON HOW LONG AN IMPLIED WARRANTY LASTS, SO THE ABOVE LIMITATION MAY NOT APPLY TO YOU. TECHTRONIC INDUSTRIES NORTH AMERICA, INC., ASSUMES NO RESPONSIBILITY FOR INCIDENTAL, CONSEQUENTIAL, OR OTHER DAMAGES INCLUDING, BUT NOT LIMITED TO, EXPENSE OF RETURNING THE PRODUCT TO AN AUTHORIZED RYOBI SERVICE CENTER AND EXPENSE OF DELIVERING IT BACK TO THE OWNER, MECHANIC’S TRAVEL TIME, TELEPHONE OR TELEGRAM CHARGES, RENTAL OF A LIKE PRODUCT DURING THE TIME WARRANTY SERVICE IS BEING PERFORMED, TRAVEL, LOSS OR DAMAGE TO PERSONAL PROPERTY, LOSS OF REVENUE, LOSS OF USE OF THE PRODUCT, LOSS OF TIME, OR INCONVENIENCE. SOME STATES DO NOT ALLOW THE EXCLUSION OR LIMITATION OF INCIDENTAL OR CONSEQUENTIAL DAMAGES, SO THE ABOVE LIMITATION OR EXCLUSION MAY NOT APPLY TO YOU.
This warranty gives you specific legal rights, and you may also have other rights which vary from state to state. This warranty applies to all RYOBI™ brand outdoor products manufactured by or for Techtronic Industries North America, Inc., and sold in the United States and Canada. To locate your nearest authorized Ryobi Service Center, dial 1-800-860-4050.
TECHTRONIC INDUSTRIES POWER EQUIPMENT
P.O. Box 1288, Anderson, SC 29622, USA
1-800-525-2579 • www.ryobitools.com






















