RYOBI P20018 18 VOLT STRING TRIMMER

IMPORTANT SAFETY INSTRUCTIONS
WARNING!
When using electric gardening appliances, basic safety precautions should always be followed to reduce the risk of fire, electric shock and personal injury.
READ ALL INSTRUCTIONS
- For safe operation, read and understand all instructions before using this product. Follow all safety instructions. Failure to follow all safety instructions listed below, can result in serious personal injury.
- Do not allow children or untrained individuals to use this unit.
- Check the work area before each use. Remove all objects such as rocks, broken glass, nails, wire, or string which can be thrown or become entangled in the machine.
- Always wear eye protection with side shields marked to comply with ANSI Z87.1. Following this rule will reduce the risk of serious personal injury.
- Use Safety Glasses – Wear a face or dust mask if the operation is dusty. Always wear safety glasses with side shields. Everyday glasses have only impact resistant lenses. They are NOT safety glasses. Following this rule will reduce the risk of eye injury.
- Protect your lungs. Wear a face or dust mask if the operation is dusty. Following this rule will reduce the risk of serious personal injury.
- Dress Properly – Do not wear loose clothing or jewel-ery. They can be caught in moving parts. Use of rubber gloves and substantial footwear is recommended when working outdoors. Wear heavy, long pants, long sleeves, boots, and gloves. Do not wear short pants, sandals, or go barefoot. Do not wear jewelry of any kind.
- Secure long hair above shoulder level to prevent entanglement in moving parts.
- Keep children away – Keep all bystanders, children, and pets at least 50 ft. away.
- Stay alert – Watch what you are doing. Use common sense. Do not operate this unit when you are tired, ill, or under the influence of alcohol, drugs, or medication.
- Do not operate in poor lighting.
- Keep all parts of your body away from any moving part.
- Do not operate power tools in explosive atmospheres, such as in the presence of flammable liquids, gases, or dust. Power tools create sparks which may ignite the dust or fumes.
- Avoid body contact with grounded surfaces such as pipes, radiators, ranges, and refrigerators. There is an increased risk of electric shock if your body is grounded.
- Avoid Dangerous Environments – Don’t expose appliance or string trimmer to rain or wet conditions. Water entering an appliance or string trimmer will increase the risk of electric shock.
- Use Right Appliance – Do not force tool. Use the correct tool for your application. The correct tool will do the job better and safer at the rate for which it is designed.
- Don’t Force Appliance – It will do the job better and with less likelihood of a risk of injury at the rate for which it was designed.
- Do not operate the equipment while barefoot or when wearing sandals or similar lightweight footwear. Wear protective footwear that will protect your feet and improve your footing on slippery surfaces.
- Do not overreach – Keep firm footing and balance. Over-reaching can result in loss of balance.
- Avoid accidental starting – Be sure switch trigger is in the locked or off position before inserting battery pack. Carrying tools with your finger on the switch trigger or inserting the battery pack into a tool with the switch on invites accidents.
- Do not use tool if switch trigger does not turn it on or off. Any tool that cannot be controlled with the switch trigger is dangerous and must be repaired.
- Disconnect battery pack – Disconnect battery pack from the appliance before servicing or changing accessories such as cutting line. Such preventive safety measures reduce the risk of starting the tool accidentally.
- Use only identical manufacturer’s replacement parts and accessories. Use of any other parts may create a hazard or cause product damage.
- Maintain appliance with care – Replace string head if cracked, chipped, or damaged in any way. Be sure the string head is properly installed and securely fastened. Failure to do so can cause serious injury. Keep handles dry, clean and free from oil and grease.
- Check for damaged parts – Before further use of the tool, any part that is damaged should be carefully checked to determine that it will operate properly and perform its intended function. Check for alignment of moving parts, binding of moving parts, breakage of parts, mounting, and any other conditions that may affect its operation. A guard or other part that is damaged should be properly repaired or replaced by an authorized service dealer.
- Make sure all guards, straps, deflectors and handles are properly and securely attached.
- Use only the manufacturer’s replacement line in the cutting head. Do not use any other cutting attachment, for example, metal wire, rope, or the like. To install any other brand of cutting head to this string trimmer can result in serious personal injury.
- Never operate unit without the grass deflector in place and in good condition.
- Maintain a firm grip on both handles while trimming. Keep string head below waist level. Never cut with the string head located over 30 in. or more above the ground.
- Store idle appliances indoors – When not in use, string trimmer should be stored indoors in a dry, locked place out of the reach of children.
- Never use blades, wire or rope. Unit is designed for line trimmer use only. Use of any other accessories or attachments will increase the risk of injury.
- Inspect area to be cut. Remove objects (rocks, broken glass, nails, wire, string, etc.) which can be thrown or become entangled in cutting head.
- Keep the air vents clean and free of debris to avoid over-heating the motor. Clean after each use.
- Stop the motor, wait until all moving parts come to a complete stop, and remove the battery pack before cleaning or performing any maintenance.
- Never use water or any liquids to clean or rinse off your product and do not expose the product to rain or wet conditions. Store indoors in a dry area. Corrosive liquids, water, and chemicals can enter the product’s electronic components and/or battery compartment and damage electronic components and/or the battery pack, which can result in a short circuit, increased risk of fire, and serious personal injury. Remove any buildup of dirt and debris by wiping the product clean with a dry cloth occasionally.
- Stop the unit and disconnect the power source when not in use. Carry the unit with the motor stopped.
- Store out of the reach of children.
- Do not hang unit so that the switch trigger is depressed.
- Battery tools do not have to be plugged into an electrical outlet; therefore, they are always in operating condition. Be aware of possible hazards when not using your battery tool or when changing accessories. Always engage the lock-out lever before placing the trimmer on the wall-mounted charger. Following this rule will reduce the risk of electric shock, fire, or serious personal injury.
- Under abusive conditions, liquid may be ejected from the battery; avoid contact. If contact accidentally occurs, flush with water. If liquid contacts eyes, additionally seek medical help. Liquid ejected from the battery may cause irritation or burns.
- Do not use a battery pack or appliance that is damaged or modified. Damaged or modified batteries may exhibit unpredictable behavior resulting in fire, explosion or risk of injury.
- Do not expose a battery pack or appliance to fire or excessive temperature. Exposure to fire or temperature above 265°F may cause explosion.
- Do not charge battery tool in rain, or damp or wet location. Following this rule will reduce the risk of electric shock.
- Do not use battery-operated appliance in rain.
- Remove or disconnect battery when not charging, and before servicing, cleaning, removing material from the gardening appliance, or storing.
- Use this product only with batteries and chargers listed in tool/appliance/battery pack/charger correlation supple-ment 987000-432.
- Do not dispose of the batteries in a fire. The cell may explode. Check with local codes for possible special disposal instructions.
- Do not open or mutilate the batteries. Released electrolyte is corrosive and may cause damage to the eyes or skin. It may be toxic if swallowed.
- Do not place battery tools or their batteries near fire or heat. This will reduce the risk of explosion and possibly injury.
- Batteries can explode in the presence of a source of ignition, such as a pilot light. To reduce the risk of serious personal injury, never use any cordless product in the presence of open flame. An exploded battery can propel debris and chemicals. If exposed, flush with water immediately.
- Do not crush, drop or damage battery pack. Do not use a battery pack or charger that has been dropped or received a sharp blow. A damaged battery is subject to explosion. Properly dispose of a dropped or damaged battery immediately.
- Under extreme usage or temperature conditions, battery leakage may occur. If liquid comes in contact with your skin, wash immediately with soap and water. If liquid gets into your eyes, flush them with clean water for at least 10 minutes, then seek immediate medical attention. Following this rule will reduce the risk of serious personal injury.
- Recharge only with the charger specified by the manu-facturer. A charger that is suitable for one type of battery pack may create a risk of fire when used with another battery pack.
- Use appliances only with specifically designated battery packs. Use of any other battery packs may create a risk of injury and fire.
- When battery pack is not in use, keep it away from other metal objects, like paper clips, coins, keys, nails, screws or other small metal objects, that can make a connection from one terminal to another. Shorting the battery terminals together may cause burns or a fire.
- Follow all charging instructions and do not charge the battery pack or appliance outside of the temperature range specified in the instructions. Charging improperly or at temperatures outside of the specified range may damage the battery and increase the risk of fire.
- Have servicing performed by a qualified repair person using only identical replacement parts. This will ensure that the safety of the product is maintained
- Do not modify or attempt to repair the appliance or the battery pack except as indicated in the instructions for use and care.
- Save these instructions. Refer to them frequently and use them to instruct others who may use this power tool. If you loan someone this power tool, loan them these instructions also.
SYMBOLS


FEATURES
PRODUCT SPECIFICATIONS
- Motor ………………………………………………………… 18 Volt DC
- Cutting Swath …………………………………………..11 in. / 13 in.
- Line Size ……………………………….0.080 in. diameter twisted
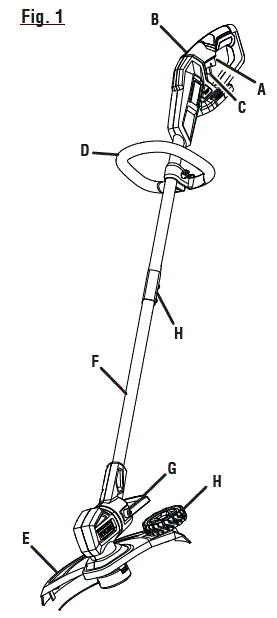
KNOW YOUR STRING TRIMMER/EDGER
See Figure 1.
- A – Switch trigger
- B – Handle overmold
- C – Lock-out trigger
- D – Front handle
- E – Grass deflector
- F – Trimmer shaft
- G – Foot pedal
- H – Edger wheel
The safe use of this product requires an understanding of the information on the tool and in this operator’s manual as well as a knowledge of the project you are attempting. Before use of this product, familiarize yourself with all operating features and safety rules.
ADJUSTABLE CUTTING DIAMETER
The cutting diameter is adjustable from 11 in. and 13 in. by rotating the line cutoff blade.
EDGER WHEEL
The edger wheel allows for more stable cutting performance while edging.
GRASS DEFLECTOR
The trimmer includes a grass deflector that helps protect from flying debris.
HANDLE OVER MOLD
Handle overmold provides added user comfort.
LOCK-OUT TRIGGER
The lock-out trigger prevents accidental starting.
ROTATING TRIMMER HEAD
The rotating trimmer head can be locked in two different positions for ease of use when edging and trimming.
VARIABLE SPEED SWITCH TRIGGER
This tool has a variable speed switch that delivers higher speed with increased trigger pressure. Speed is controlled by the amount of switch trigger depression.
ASSEMBLY
UNPACKING
This product requires assembly.
- Carefully remove the product and any accessories from the box. Make sure that all items listed in the Packing List are included.
WARNING:
Do not use this product if any parts in the Packing List are already assembled to your product when you unpack it. Parts on this list are not assembled to the product by the manufacturer and require customer installation. Use of a product that may have been improperly assembled could result in serious personal injury. - Inspect the product carefully to make sure no breakage or damage occurred during shipping.
- Do not discard the packing material until you have care-fully inspected and satisfactorily operated the product.
- If any parts are damaged or missing, please call 1- 800-525-2579 for assistance.
PACKING LIST
- String Trimmer/Edger
- Grass Deflector
- Front Handle
- Operator’s Manual
WARNING:
- If any parts are damaged or missing do not operate this product until the parts are replaced. Use of this product with damaged or missing parts could result in serious personal injury.
- Do not attempt to modify this product or create accessories not recommended for use with this product. Any such alteration or modification is misuse and could result in a hazardous condition leading to possible serious personal injury.
- To prevent accidental starting that could cause serious personal injury, always remove the battery pack from the product when assembling parts.
TOOLS NEEDED
See Figure 2.
- A – Phillips screwdriver
The following tool (not included or drawn to scale) is needed for assembly:
- Phillips screwdriver
ATTACHING THE FRONT HANDLE
See Figure 3.
- A – Lower end
- B – Upper end
- C – Phillips head screws
- D – Indentations
- E – Front handle
- F – Wing nut
Loosen and remove the wing bolt from the handle.
Install the handle on the rear handle pole in the area indicated by the illustration.
Adjust handle up or down, if necessary, to desired operating position.
Reinstall the wing bolt. Tighten wing bolt to secure.
ASSEMBLING THE TOOL
See Figure 3.

- A – Lower end
- B – Upper end
- C – Phillips head screws
- D – Indentations
- E – Front handle
- F – Wing nut
WARNING:
Never install, remove, or adjust any attachment while the motor is running or with the battery pack installed. Failure to stop the motor or remove the battery pack can result in serious personal injury.
- Remove the battery pack if installed.
- Align the two indentations in the lower end with the screws in the upper end. Insert the lower end into the upper end.
- Push the two sections together until the lower end stops.
- Turn each of the two Phillips screws until securely tightened.
WARNING:
Be certain the ends are locked into place before operating string trimmer; check it periodically for tightness during use to avoid possible disconnection of ends, which could result in serious personal injury.
CAUTION:
Be careful when sliding the two ends together to avoid pinching your hands or fingers.
WARNING:
This string trimmer is designed to use only the provided trimmer shaft and string head. It is not capable of using other attachments or cutting heads. Attempting to use other attachments or cutting heads could result in serious personal injury.
ATTACHING GRASS DEFLECTOR
See Figures 4 – 5.
- A – Grass deflector
- B – String head
- C – Motor housing
- D – Line cut-off blade
- E – Screws

- A – Screw holes
- B – Screws
WARNING:
The line cut-off blade on the grass deflector is sharp. Avoid contact with the blade. Failure to avoid contact can result in serious personal injury.
- Remove the battery pack.
- Remove the plastic hardware bag from the grass deflector.
- Fit the grass deflector into the slots on the trimmer head.
- Line up the screw holes in the grass deflector with the holes in the motor housing.
- Install supplied screws and tighten by turning clockwise with a Phillips screwdriver.
OPERATION
WARNING:
- Do not allow familiarity with products to make you careless. Remember that a careless fraction of a second is sufficient to inflict serious injury.
- Always wear eye protection with side shields marked to comply with ANSI Z87.1. Failure to do so could result in objects being thrown into your eyes, resulting in possible serious injury.
- Never use blades, wire, or rope on this product. Do not use any attachments or accessories not recommended by the manufacturer of this product. The use of attachments or accessories not recommended can result in serious personal injury.
NOTICE:
Before each use, inspect the entire product for damaged, missing, or loose parts such as screws, nuts, bolts, caps, etc. Tighten securely all fasteners and caps and do not operate this product until all missing or damaged parts are replaced. Please contact customer service or an authorized service center for assistance.
TO INSTALL BATTERY PACK
See Figure 6.
- A – Battery pack
- B – Latch
WARNING:
Always remove battery pack from your tool when you are assembling parts, making adjustments, cleaning, or when not in use. Removing battery pack will prevent accidental starting that could cause serious personal injury.
- Insert the battery pack into the product as shown.
- Make sure the latches on each side of the battery pack snap into place and the battery pack is secured before beginning operation.
TO REMOVE BATTERY PACK
See Figure 6.

- A – Battery pack
- B – Latch
Depress the latches on each side of the battery pack.
Remove battery pack from the trimmer.
WARNING:
To avoid serious personal injury, always remove the battery pack and keep hands clear of the lock-out trigger when carrying or transporting the tool.
For complete charging instructions, see the operator’s manuals for your battery pack and charger.
STARTING/STOPPING THE STRING TRIMMER
See Figure 7.
To start:
- Press and hold the lock-out trigger.
- Depress the switch trigger.
To stop:
- Release the switch trigger to stop the string trimmer.
- Upon release of the switch trigger, the lock-out trigger will automatically reset to the locked position.
OPERATING THE TRIMMER
See Figure 8.
PROPER TRIMMER OPERATING POSITION
Follow these tips when using the string trimmer:
- Hold the trimmer with your right hand on the rear handle and your left hand on the front handle.
- Keep a firm grip with both hands while in operation.
- Trimmer should be held at a comfortable position with the rear handle about hip height.
- Cut tall grass from the top down. This will prevent grass from wrapping around the boom housing and string head which may cause damage from overheating.
If grass becomes wrapped around the string head:
- Remove the battery pack.
- Remove the grass.
WARNING:
Always hold the string trimmer away from the body keep-ing clearance between the body and the string trimmer. Any contact with the string trimmer cutting head while operating can result in serious personal injury.
CUTTING TIPS
See Figures 9.
A – Direction of rotation
B – Best cutting area
C – Dangerous cutting area
- Keep the trimmer tilted toward the area being cut; this is the best cutting area.
- The string trimmer cuts when passing the unit from right to left. This will avoid throwing debris at the operator. Avoid cutting in the dangerous area shown in figure 10.

A – Button
B – Line
- Use the tip of the line to do the cutting; do not force string head into uncut grass.
- Wire and picket fences cause extra line wear, even breakage. Stone and brick walls, curbs, and wood may wear line rapidly.
- Avoid trees and shrubs. Tree bark, wood moldings, siding, and fence posts can easily be damaged by the line.
ADVANCING LINE
See Figure 10.
NOTE: The trimmer is equipped with an auto-feed head. Bumping the head to try to advance the line will damage the trimmer and void the warranty.
- With the trimmer running, release the switch trigger.
- Wait for the string head to come to a complete stop, then press the switch trigger.
NOTE: The line will extend approximately 1/2 in. with each stop and start of the switch trigger until the line reaches the length of the grass deflector cut-off blade. - Repeat the previous steps until the line is long enough to reach the cut off blade which will cut the line to the appropriate length.
NOTE: The line will make noise as it is being cut. Continue cutting the the noise stops, signaling the string is cut to the proper length. - Resume trimming.
ADVANCING THE LINE MANUALLY
See Figure 11.
- A – Button (bouton, botón)
- B – Line (ligne, línea)
Remove the battery pack.
Push the button located on the string head while pulling on the line to manually advance the line.
NOTE: Pull only enough line to reach the cut-off blade, plus or minus an inch. After releasing the button, tug slightly to make sure there is no loose string remaining inside the spool.
Run the string trimmer to allow the line to be cut by the cut off blade.
LINE CUT-OFF BLADE
See Figure 12.
- A – Screw
- B – Line cut-off blade
This trimmer is equipped with a line cut-off blade on the grass deflector. For best cutting, advance line until it is trimmed to length by the line cut-off blade. Advance line whenever you hear the engine running faster than normal, or when trimming efficiency diminishes. This will maintain best performance and keep line long enough to advance properly.
This trimmer is currently set at the 13 in. cutting swath. To adjust to a cutting swath of 11 in.
- Remove the battery pack.
- Loosen the blade screw then rotate the line cut-off blade 180°.
- Tighten the blade screw.
WARNING:
The line cut-off blade on the grass deflector is sharp. Use gloves while working with the blade. Direct contact with the blade can result in serious personal injury.
EDGING
See Figures 13 – 14.
- A -Foot pedal
PROPER EDGING OPERATING POSITION
WARNING:
Always hold the string trimmer away from the body keeping clearance between the body and the string trimmer. Any contact with the string trimmer cutting head while operating can result in serious personal injury.
WARNING:
Never stand directly in the path of the cutting line while edging. Always stand to the left of the grass deflector to avoid thrown debris, which could result in serious personal injury.
MAINTENANCE
WARNING:
- To avoid serious personal injury, always remove the bat-tery pack from the tool when cleaning or performing any maintenance.
- Always wear eye protection with side shields marked to comply with ANSI Z87.1. Failure to do so could result in objects being thrown into your eyes, resulting in possible serious injury.
- When servicing, use only identical replacement parts. Use of any other parts can create a hazard or cause product damage.
- Never use water or any liquids to clean or rinse off your product and do not expose the product to rain or wet conditions. Store indoors in a dry area. Corrosive liquids, water, and chemicals can enter the product’s electronic components and/or battery compartment and damage electronic components and/or the battery pack, which can result in a short circuit, increased risk of fire, and serious personal injury. Remove any buildup of dirt and debris by wiping the product clean with a dry cloth occasionally.
NOTICE:
Periodically inspect the entire product for damaged, missing, or loose parts such as screws, nuts, bolts, caps, etc. Tighten securely all fasteners and caps and do not operate this product until all missing or damaged parts are replaced. Please contact customer service or an authorized service center for assistance.
GENERAL MAINTENANCE
Avoid using solvents when cleaning plastic parts. Most plastics are susceptible to damage from various types of commercial solvents and may be damaged by their use. Use clean cloths to remove dirt, dust, oil, grease, etc.
WARNING:
Do not at any time let brake fluids, gasoline, petroleum-based products, penetrating oils, etc., come in contact with plastic parts. Chemicals can damage, weaken or destroy plastic which can result in serious personal injury.
SPOOL REPLACEMENT
See Figure 15-16.
- A – Spool retainer
- B – Spool
- C – Tabs
- D – Slot
- E – Eyelet
- F – Notch
Use only 0.065 in. diameter round or twisted or 0.080 in. diameter twisted line. Use original manufacturer’s replacement line for best performance.
- Remove the battery pack.
- Push in tabs on side of spool retainer.
- Pull spool retainer up to remove.
- Remove the old spool.
- To install the new spool, make sure the line is captured in the slot on the new spool. Make sure the end of the line is extended approximately 6 in. beyond the slot.
- Install the new spool so that the line and slot align with the eyelet in the string head. Thread the line into the eyelet.
- Pull the line extending from the string head so the line releases from the slot in the spool.
- Reinstall the spool retainer by depressing tabs into slots and pushing down until spool retainer clicks into place.
STORING THE TRIMMER
- Remove the battery pack from the string trimmer before storing.
- Clean all foreign material from the trimmer.
- Store it in a place that is inaccessible to children.
- Keep away from corrosive agents such as garden chemi-cals and de-icing salts.
REPLACEMENT PARTS
- Replacement Spool Part Number …………………… AC80RL1
- Replacement Spool Part Number (3 pack) ……….. AC80RL3
- Replacement Spool Cap Part Number ……………. AC14HCA
TROUBLESHOOTING
| PROBLEM | POSSIBLE CAUSE | SOLUTION |
| Line will not advance when using the auto-feed head | Line is welded to itself. Not enough line on spool.
Line is worn too short. Line is tangled on spool. | Lubricate with silicone spray. Replace the spool. Refer to Spool Replacement earlier in this manual. Pull line while pressing button. Remove and replace the spool.. Refer to Spool Re- placement earlier in this manual. |
| Grass wraps around boom housing and string head | Cutting tall grass at ground level. | Cut tall grass from the top down to prevent wrapping. |
| Motor fails to start when switch trigger is depressed | Battery is not secure. Battery is not charged. Shaft not connected completely. | To secure the battery pack, make sure the latch on the bottom of the battery pack is snapped into place. Charge the battery pack according to the instructions included with your model. Make sure shaft trimmer is securely seated in the coupler on the power head. |
CALL US FIRST
For any questions about operating or maintaining your product, call the RYOBI Help Line:
Your product has been fully tested prior to shipment to ensure your complete satisfaction.
This product has a Three-year Limited Warranty for personal, family, or household use (90 days for business or commercial use). For warranty details, visit www.ryobitools.com
or call (toll free) 1-800-525-2579.
PARTS AND SERVICE: Prior to requesting service or purchasing replacement parts, please obtain your item, manufacturing, and serial numbers from the product data plate.
ITEM NO.* __________________________________MANUFACTURING NO. _____________________________________________ SERIAL NO. _______________________________________________________
* Model/item number on product may have additional letters at the end. These letters designate manufacturing information and should be provided when calling for service.
HOW TO OBTAIN REPLACEMENT PARTS: Replacement parts can be purchased online at www.ryobitools.com or by calling 1-800-525-2579. Replacement parts can also be obtained at one of our service centers.
HOW TO LOCATE A SERVICE CENTER: Service centers can be located online at www.ryobitools.com or by calling 1-800-525-2579.
HOW TO OBTAIN CUSTOMER OR TECHNICAL SUPPORT: To obtain customer or technical support please contact us at 1-800-525-2579.
RYOBI is a trademark of Ryobi Limited and is used pursuant to a license granted by Ryobi Limited.
TTI OUTDOOR POWER EQUIPMENT, INC.
P.O. Box 1288, Anderson, SC 29622, USA
1-800-525-2579 • www.ryobitools.com

















