RYOBI P2008 18 VOLT STRING TRIMMER/EDGER
PRODUCT OVERVIEWS
See this fold-out section for all the figures referenced in the operator’s manual.
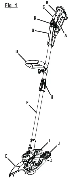
- A – Switch Trigger
- B – Handle over mold
- C – Lock-out button
- D – Adjustable front handle
- E – Grass defector
- F – Trimmer shaft
- G – Powerhead
- H – Coupler
- I – Foot pedal
- J – Edger wheel
- K – Speed switch

- A – Phillips screwdriver

- A – Powerhead
- B – Coupler
- C – Attachment threaded base and plug
- D – Trimmer shaft
- E – Front handle
- F – Wing bolt
- G – Base
- H – Arrow

- A – Grass deflector
- B – String head
- C – Motor housing
- D – Line cut-off blade
- E – Screws

- A – Screw holes
- B – Screws

- A – Battery pack
- B – Latch

- A – Speed switch
- B – Lock-out button
- C – Switch trigger

- A – Knob

- PROPER TRIMMER OPERATING POSITION

- A – Direction of rotation
- B – Best cutting area
- C – Dangerous cutting area

- A – Line cut-off blade
- B – Line

- A – Black button
- B – Line

- A – Screw
- B – Line cut-off blade

- A – Foot pedal

- PROPER EDGING OPERATING POSITION

- A – Spool retainer
- B – Spool
- C – Tabs
- D – Slot
- E – Eyelet
- F – Slot

- A – Spool
- B – Hole
INTRODUCTION
This product has many features for making its use more pleasant and enjoyable. Safety, performance, and dependability have been given top priority in the design of this product making it easy to maintain and operate.
IMPORTANT SAFETY INSTRUCTIONS
WARNING!
When using electric gardening appliances, basic safety precautions should always be followed to reduce the risk of fire, electric shock and personal injury.
READ ALL INSTRUCTIONS
- For safe operation, read and understand all instructions before using this product. Follow all safety instructions. Failure to follow all safety instructions listed below, can result in serious personal injury.
- Do not allow children or untrained individuals to use this unit.
- Check the work area before each use. Remove all objects such as rocks, broken glass, nails, wire, or string which can be thrown or become entangled in the machine.
- Always wear eye protection with side shields marked to comply with ANSI Z87.1. Following this rule will reduce the risk of serious personal injury.
- Use Safety Glasses – Wear a face or dust mask if the operation is dusty. Always wear safety glasses with side shields. Everyday glasses have only impact resistant lenses. They are NOT safety glasses. Following this rule will reduce the risk of eye injury.
- Protect your lungs. Wear a face or dust mask if the operation is dusty. Following this rule will reduce the risk of serious personal injury.
- Dress Properly – Do not wear loose clothing or jewel-ery. They can be caught in moving parts. Use of rubber gloves and substantial footwear is recommended when working outdoors. Wear heavy, long pants, long sleeves, boots, and gloves. Do not wear short pants, or sandals, or go barefoot. Do not wear jewelry of any kind.
- Secure long hair above shoulder level to prevent entanglement in moving parts.
- Keep children away – Keep all bystanders, children, and pets at least 50 ft. away.
- Stay alert – Watch what you are doing. Use common sense. Do not operate this unit when you are tired, ill, or under the influence of alcohol, drugs, or medication.
- Do not operate in poor lighting.
- Keep all parts of your body away from any moving part.
- Do not operate power tools in explosive atmospheres, such as in the presence of flammable liquids, gases, or dust. Power tools create sparks that may ignite the dust or fumes.
- Avoid body contact with grounded surfaces such as pipes, radiators, ranges, and refrigerators. There is an increased risk of electric shock if your body is grounded.
- Avoid Dangerous Environments – Don’t expose appliances or string trimmers to rain or wet conditions. Water entering an appliance or string trimmer will increase the risk of electric shock.
- Use Right Appliance – Do not force tool. Use the correct tool for your application. The correct tool will do the job better and safer at the rate for which it is designed.
- Don’t Force Appliance – It will do the job better and with less likelihood of a risk of injury at the rate for which it was designed.
- Do not operate the equipment while barefoot or when wearing sandals or similar lightweight footwear. Wear protective footwear that will protect your feet and improve your footing on slippery surfaces.
- Do not overreach – Keep firm footing and balance. Over-reaching can result in loss of balance.
- Avoid accidental starting – Be sure the switch trigger is in the locked or off position before inserting battery pack. Carrying tools with your finger on the switch trigger or inserting the battery pack into a tool with the switch on invites accidents.
- Do not use tool if the switch trigger does not turn it on or off. Any tool that cannot be controlled with the switch trigger is dangerous and must be repaired.
- Disconnect battery pack – Disconnect battery pack from the appliance before servicing or changing accessories such as cutting line. Such preventive safety measures reduce the risk of starting the tool accidentally.
- Use only identical manufacturer’s replacement parts and accessories. Use of any other parts may create a hazard or cause product damage.
- Maintain appliance with care – Replace string head if cracked, chipped, or damaged in any way. Be sure the string head is properly installed and securely fastened. Failure to do so can cause serious injury. Keep handles dry, clean and free from oil and grease.
- Check for damaged parts – Before further use of the tool, any part that is damaged should be carefully checked to determine that it will operate properly and perform its intended function. Check for alignment of moving parts, binding of moving parts, breakage of parts, mounting, and any other conditions that may affect its operation. A guard or other part that is damaged should be properly repaired or replaced by an authorized service dealer.
- Make sure all guards, straps, deflectors and handles are properly and securely attached.
- Use only the manufacturer’s replacement line in the cutting head. Do not use any other cutting attachment, for example, metal wire, rope, or the like. Installing any other brand of cutting head to this string trimmer can result in serious personal injury.
- Never operate unit without the grass deflector in place and in good condition.
- Maintain a firm grip on both handles while trimming. Keep string head below waist level. Never cut with the string head located over 30 in. or more above the ground.
- Store idle appliances indoors – When not in use, string trimmer should be stored indoors in a dry, locked place out of the reach of children.
- Never use blades, flailing devices, wire or rope. Unit is designed for line trimmer use only. Use of any other accessories or attachments will increase the risk of injury.
- Inspect area to be cut. Remove objects (rocks, broken glass, nails, wire, string, etc.) that can be thrown or become entangled in the cutting head.
- Keep the air vents clean and free of debris to avoid overheating the motor. Clean after each use.
- Stop the unit and disconnect the power source when not in use. Carry the unit with the motor stopped.
- Store out of the reach of children.
- Do not hang unit so that the switch trigger is depressed.
- Battery tools do not have to be plugged into an electrical outlet; therefore, they are always in operating condition. Be aware of possible hazards when not using your bat-tery tool or when changing accessories. Always engage the lock-out lever before placing the trimmer on the wall-mounted charger. Following this rule will reduce the risk of electric shock, fire, or serious personal injury.
- Under abusive conditions, liquid may be ejected from the battery; avoid contact. If contact accidentally occurs, flush with water. If liquid contacts eyes, additionally seek medical help. Liquid ejected from the battery may cause irritation or burns.
- Do not use a battery pack or appliance that is damaged or modified. Damaged or modified batteries may exhibit unpredictable behavior resulting in fire, explosion or risk of injury.
- Do not expose a battery pack or appliance to fire or excessive temperature. Exposure to fire or temperature above 265°F may cause explosion.
- Do not charge battery tool in rain, or damp or wet location. Following this rule will reduce the risk of electric shock.
- Do not use the battery-operated appliance in rain.
- Remove or disconnect battery when not charging, and before servicing, cleaning, removing material from the gardening appliance, or storing.
- Use battery only with charger listed. For use with 18V nickel-cadmium and lithium-ion battery packs. See Tool/Appliance/Battery Pack/Charger Correlation Supplement 987000-432.
- Do not dispose of the batteries in a fire. The cell may explode. Check with local codes for possible special disposal instructions.
- Do not open or mutilate the batteries. Released electrolyte is corrosive and may cause damage to the eyes or skin. It may be toxic if swallowed.
- Do not place battery tools or their batteries near fire or heat. This will reduce the risk of explosion and possibly injury.
- Batteries can explode in the presence of a source of ignition, such as a pilot light. To reduce the risk of seri-ous personal injury, never use any cordless product in the presence of open flame. An exploded battery can propel debris and chemicals. If exposed, flush with water immediately.
- Do not crush, drop or damage battery pack. Do not use a battery pack or charger that has been dropped or received a sharp blow. A damaged battery is subject to explosion. Properly dispose of a dropped or damaged battery immediately.
- For best results, your battery tool should be charged in a location where the temperature is more than 50°F but less than 100°F. To reduce the risk of serious personal injury, do not store outside or in vehicles.
- Under extreme usage or temperature conditions, battery leakage may occur. If liquid comes in contact with your skin, wash immediately with soap and water. If liquid gets into your eyes, flush them with clean water for at least 10 minutes, then seek immediate medical attention. Following this rule will reduce the risk of serious personal injury.
- Save these instructions. Refer to them frequently and use them to instruct others who may use this power tool. If you loan someone this power tool, loan them these instructions also.
SYMBOLS
| The following signal words and meanings are intended to explain the levels of risk associated with this product. SYMBOL SIGNAL MEANING | |
DANGER: | Indicates an imminently hazardous situation, which, if not avoided, will result in death or serious injury. |
WARNING: | Indicates a potentially hazardous situation, which, if not avoided, could result in death or serious injury. |
CAUTION: | Indicates a potentially hazardous situation, which, if not avoided, may result in minor or moderate injury. |
| NOTICE: | (Without Safety Alert Symbol) Indicates important information not related to an injury hazard, such as a situation that may result in property damage. |
| Some of the following symbols may be used on this product. Please study them and learn their meaning. Proper interpretation of these symbols will allow you to operate the product better and safer. SYMBOL NAME DESIGNATION/EXPLANATION | ||
![]() | Safety Alert | Indicates a potential personal injury hazard. |
![]() | Read Operator’s Manual | To reduce the risk of injury, user must read and understand operator’s manual before using this product. |
![]() | Eye Protection | Always wear eye protection with side shields marked to comply with ANSI Z87.1. |
![]() | Wet Conditions Alert | Do not expose to rain or use in damp locations. |
![]() | Keep Bystanders Away | Keep all bystanders at least 50 ft. away. |
![]() | Ricochet | Thrown objects can ricochet and result in personal injury or property damage. |
![]() | No Blade | Do not install or use any type of blade on a product displaying this symbol. |
![]() | Recycle Symbols | This product uses lithium-ion (Li-ion) and nickel-cadmium (Ni-Cd) batteries. Local, state, or federal laws may prohibit disposal of batteries in ordinary trash. Consult your local waste authority for information regarding available recycling and/or disposal options. |
| Direct Current | Type or a characteristic of current | |
| no | No Load Speed | Rotational speed, at no load |
| …/min | Per Minute | Revolutions, strokes, surface speed, orbits etc., per minute |
| V | Volts | Voltage |
| Hz | Hertz | Frequency (cycles per second) |
| min | Minutes | Time |
FEATURES
PRODUCT SPECIFICATIONS
- Motor 18 Volt DC
- Cutting Swath .11 in. / 13 in.
- Line Size ..0.065 in. diameter round or twisted or 0.080 in. diameter twisted
KNOW YOUR STRING TRIMMER/EDGER
See Figure 1.
The safe use of this product requires an understanding of the information on the tool and in this operator’s manual as well as a knowledge of the project you are attempting. Before use of this product, familiarize yourself with all operating features and safety rules.
ADJUSTABLE CUTTING DIAMETER
The cutting diameter is adjustable from 11 in. and 13 in. by rotating the line cutoff blade.
ADJUSTABLE FRONT HANDLE
The front handle assembly can be adjusted for ease of operation and to help prevent loss of control.
EDGER WHEEL
The edger wheel allows for more stable cutting performance while edging.
GRASS DEFLECTOR
The trimmer includes a grass deflector that helps protect from flying debris.
HANDLE OVER MOLD
Handle over mold provides added user comfort.
LOCK-OUT BUTTON
The lock-out button prevents accidental starting.
ROTATING TRIMMER HEAD
The rotating trimmer head can be locked in two different positions for ease of use when edging and trimming.
SPEED SWITCH
This tool has a speed selector that allows the operator to choose between and HIGH and LOW speeds. Using low speed during operation can help extend battery run time, while using high speed will improve power and performance.
VARIABLE SPEED SWITCH TRIGGER
This tool has a variable speed switch that delivers higher speed with increased trigger pressure. Speed is controlled by the amount of switch trigger depression.
ASSEMBLY
UNPACKING
This product requires assembly.
- Carefully remove the product and any accessories from the box. Make sure that all items listed in the packing list are included.
- WARNING: Do not use this product if any parts on the Packing List are already assembled to your product when you unpack it. Parts on this list are not assembled to the product by the manufacturer and require customer installation. Use of a product that may have been improperly assembled could result in serious personal injury.
- Inspect the product carefully to make sure no breakage or damage occurred during shipping.
- Do not discard the packing material until you have care-fully inspected and satisfactorily operated the product.
If any parts are damaged or missing, please call: 1- 800-860-4050 for assistance.
PACKING LIST
- Power Head
- Adjustable Front Handle
- String Trimmer/Edger Attachment Grass Deflector
- Operator Manual
WARNING: If any parts are damaged or missing do not operate this product until the parts are replaced. Use of this product with damaged or missing parts could result in serious personal injury.
WARNING: Do not attempt to modify this product or create accessories not recommended for use with this product. Any such alteration or modification is misuse and could result in a hazardous condition leading to possible serious personal injury.
WARNING: To prevent accidental starting that could cause serious personal injury, always remove the battery pack from the product when assembling parts.
TOOLS NEEDED
The following tool (not included or drawn to scale) is needed for assembly:v
- Phillips screwdriver
ATTACHING THE FRONT HANDLE
- Loosen and remove the wing bolt from the handle.
- Install the handle on the rear handle pole in the area indicated by the illustration.
- Adjust handle up or down, if necessary, to desired operating position.
- Reinstall the wing bolt. Tighten wing bolt to secure.
CONNECTING THE POWER HEAD TO THE ATTACHMENT
See Figure 3.
WARNING:
Never install, remove, or adjust any attachment while power head is running or with the battery pack installed.
Failure to stop the motor or remove the battery pack can result in serious personal injury. The attachment connects to the power head by means of a coupler device.
- Remove the battery pack if installed.
- Align the arrows on the string trimmer/edger attachment and the power head. Insert the plug on the string trimmer/edger attachment into the opening on the power head coupler. Make sure the plug is fully seated.
- Slide the threaded coupler on the power head onto the threaded base on the attachment and turn the coupler clockwise. Tighten securely.
NOTE: Once assembled correctly, the string trimmer/edger attachment and power head should not separate when pulled. Repeat above steps if pieces can be separated.
WARNING:
Failure to secure the string trimmer/edger attachment and power head as instructed above could result in serious personal injury.
REMOVING THE ATTACHMENT FROM THE POWER HEAD
- Remove the battery pack.
- Turn the coupler counterclockwise to unlock. Then remove the trimmer shaft from the power head.
ATTACHING GRASS DEFLECTOR
See Figures 4 – 5.
WARNING: The line cut-off blade on the grass deflector is sharp. Avoid contact with the blade. Failure to avoid contact can result in serious personal injury.
- Remove the battery pack.
- Remove the plastic hardware bag from the grass deflector.
- Fit the grass deflector into the slots on trimmer head.
- Line up the screw holes in the grass deflector with the holes in the motor housing.
- Install supplied screws and tighten by turning clockwise with a phillips screwdriver.
OPERATION
WARNING:
- Do not allow familiarity with products to make you careless. Remember that a careless fraction of a second is sufficient to inflict serious injury.
- Always wear eye protection with side shields marked to comply with ANSI Z87.1. Failure to do so could result in objects being thrown into your eyes, resulting in possible serious injury.
- Never use blades, flailing devices, wire, or rope on this product. Do not use any attachments or accessories not recommended by the manufacturer of this product. The use of attachments or accessories not recommended can result in serious personal injury.
- NOTICE: Before each use, inspect the entire product for damaged, missing, or loose parts such as screws, nuts, bolts, caps, etc. Tighten securely all fasteners and caps and do not operate this product until all missing or damaged parts are replaced. Please call 1-800-860-4050 or contact an authorized service center for assistance.
This product will accept Ryobi One+ 18 V lithium-ion battery packs and Ryobi One+ 18 V nickel-cadmium battery packs.
For complete charging instructions, refer to the Operator’s Manuals for your Ryobi One+ battery pack and charger models.
BATTERY PROTECTION FEATURES
Ryobi lithium-ion batteries are designed with features that protect the lithium-ion cells and maximize battery life.
If the tool stops during use, release the trigger to reset and resume operation. If the tool still does not work, the battery needs to be recharged.
WARNING: Always remove battery pack from your tool when you are assembling parts, making adjustments, cleaning, or when not in use. Removing battery pack will prevent accidental starting that could cause serious personal injury.
TO INSTALL BATTERY PACK
See Figure 6.
- Insert the battery pack into the product as shown.
- Make sure the latches on each side of the battery pack snap into place and the battery pack is secured before beginning operation.
TO REMOVE BATTERY PACK
See Figure 6.
- Depress the latches on each side of the battery pack.
- Remove battery pack from the trimmer.
WARNING:
- To avoid serious personal injury, always remove the battery pack and keep hands clear of the lock-out button when carrying or transporting the tool.
STARTING/STOPPING THE STRING TRIMMER
See Figure 7.
To start:
- Select the desired operating speed (HIGH or LOW).
- Press and hold the lock-out button.
- Depress the switch trigger.
To stop: - Release the switch trigger to stop the string trimmer.
- Upon release of the switch trigger, the lock-out button will automatically reset to the locked position.
ADJUSTABLE FRONT HANDLE
See Figure 8.
The angle of the front handle can be adjusted 180°.
- Remove the battery pack.
- Set the trimmer on a flat surface and turn the knob counterclockwise to loosen the handle.
- For trimming, adjust the handle upward.
- For edging, adjust the handle downward.
- Turn the knob clockwise until the handle is securely tightened before reinstalling the battery pack.
OPERATING THE TRIMMER
See Figure 9.
Follow these tips when using the string trimmer:
- Hold the trimmer with your right hand on the rear handle and your left hand on the front handle.
- Keep a firm grip with both hands while in operation.
- Trimmer should be held at a comfortable position with the rear handle about hip height.
- Cut tall grass from the top down. This will prevent grass from wrapping around the boom housing and string head which may cause damage from overheating.
If grass becomes wrapped around the string head: - Remove the battery pack.
- Remove the grass.
WARNING: Always hold the string trimmer away from the body keeping clearance between the body and the string trimmer. Any contact with the string trimmer cutting head while operating can result in serious personal injury.
CUTTING TIPS
See Figures 10 – 11.
- Keep the trimmer tilted toward the area being cut; this is the best cutting area.
- The string trimmer cuts when passing the unit from right to left. This will avoid throwing debris at the operator. Avoid cutting in the dangerous area shown in figure 10.
- Use the tip of the line to do the cutting; do not force string head into uncut grass.
- Wire and picket fences cause extra line wear, even breakage. Stone and brick walls, curbs, and wood may wear line rapidly.
- Avoid trees and shrubs. Tree bark, wood moldings, siding, and fence posts can easily be damaged by the line.
ADVANCING LINE
NOTE: The trimmer is equipped with an auto-feed head. Bumping the head to try to advance the line will damage the trimmer and void the warranty.
- With the trimmer running, release the switch trigger.
- Wait two seconds, and press the switch trigger. NOTE: The line will extend approximately 1/4 in. with each stop and start of the switch trigger until the line reaches the length of the grass deflector cut-off blade.
- Resume trimming.
ADVANCING THE LINE MANUALLY
See Figure 12.
- Remove the battery pack.
- Push the black button located on the string head while pulling on line to manually advance the line.
LINE CUT-OFF BLADE
See Figure 13.
This trimmer is equipped with a line cut-off blade on the grass deflector. For best cutting, advance line until it is trimmed to length by the line cut-off blade. Advance line whenever you hear the engine running faster than normal, or when trimming efficiency diminishes. This will maintain best performance and keep line long enough to advance properly.
This trimmer is currently set at the 11 in. cutting swath. To adjust to a cutting swath of 13 in.:
- Remove the battery pack.
- Loosen the blade screw then rotate the line cut-off blade 180°.
- Tighten the blade screw.
EDGING
See Figures 14 – 15.
- Remove the battery pack.
- Step down on the foot pedal.
- Rotate the trimmer head counterclockwise placing the tool in the edger position.
WARNING:
Always hold the string trimmer away from the body keeping clearance between the body and the string trimmer. Any contact with the string trimmer cutting head while operating can result in serious personal injury.
WARNING:
Never stand directly in the path of the cutting line while edging. Always stand to the left of the grass deflector to avoid thrown debris, which could result in serious personal injury.
MAINTENANCE
WARNING:
- When servicing, use only identical replacement parts. Use of any other parts can create a hazard or cause product damage.
- Always wear eye protection with side shields marked to comply with ANSI Z87.1. Failure to do so could result in objects being thrown into your eyes, resulting in possible serious injury.
- To avoid serious personal injury, always remove the bat-tery pack from the tool when cleaning or performing any maintenance.
- NOTICE: Periodically inspect the entire product for damaged, missing, or loose parts such as screws, nuts, bolts, caps, etc. Tighten securely all fasteners and caps and do not operate this product until all missing or damaged parts are replaced. Please call 1-800-860-4050 or contact an authorized service center for assistance.
GENERAL MAINTENANCE
Avoid using solvents when cleaning plastic parts. Most plastics are susceptible to damage from various types of commercial solvents and may be damaged by their use. Use clean cloths to remove dirt, dust, oil, grease, etc.
WARNING: Do not at any time let brake fluids, gasoline, petroleum-based products, penetrating oils, etc., come in contact with plastic parts. Chemicals can damage, weaken or destroy plastic which can result in serious personal injury. Only the parts shown on the parts list are intended to be repaired or replaced by the customer. All other parts should be replaced at an authorized service center.
SPOOL REPLACEMENT
Use only 0.065 in. diameter round or twisted or 0.080 in. diameter twisted line. Use original manufacturer’s replacement line for best performance.
- Remove the battery pack.
- Push in tabs on side of spool retainer.
- Pull spool retainer up to remove.
- Remove the old spool.
- To install the new spool, make sure the line is captured in the slot on the new spool. Make sure the end of the line is extended approximately 6 in. beyond the slot.
- Install the new spool so that the line and slot align with the eyelet in the string head. Thread the line into the eyelet.
- Pull the line extending from the string head so the line releases from the slot in the spool.
- Reinstall the spool retainer by depressing tabs into slots and pushing down until spool retainer clicks into place.
LINE REPLACEMENT
See Figures 16 – 17.
- Remove the battery pack.
- Remove the spool from the string head.
NOTE: Remove any old line remaining on the spool. - Cut a piece of line approximately 9 ft. long. Use only 0.065 in. diameter round or twisted or 0.080 in. diameter twisted line.
- Insert the line into the anchor hole in the upper part of the spool. Wind the line around the upper part of the spool clockwise, as shown by the arrows on the spool. Place line in the slot on upper spool flange, leaving about 6 in. extended beyond the slot. Do not overfill. After winding the line, there should be at least 1/4 in. between the
- Replace the plastic retainer, spool, and the spool retainer. Refer to Spool Replacement earlier in this manual.
MAINTENANCE
STORING THE TRIMMER
- Remove the battery pack from the string trimmer before storing.
- Clean all foreign material from the trimmer.
- Store it in a place that is inaccessible to children.
- Keep away from corrosive agents such as garden chemi-cals and de-icing salts.
REPLACEMENT PARTS
- Replacement Spool Part Number ..AC14RSLA
- Replacement Spool Cap Part Number .. AC14HCA
TROUBLESHOOTING
| PROBLEM | POSSIBLE CAUSE | SOLUTION |
| Line will not advance when | Line is welded to itself. | Lubricate with silicone spray. |
| using the auto-feed head | Not enough line on spool. | Install more line. Refer to Line Replacement earlier in |
| this manual. | ||
| Line is worn too short. | Pull line while pressing button. | |
| Line is tangled on spool. | Remove line from spool and rewind. Refer to Line Replacement earlier in this manual. | |
| Grass wraps around boom | Cutting tall grass at ground | Cut tall grass from the top down to prevent wrapping. |
| housing and string head | level. | |
| Motor fails to start when switch | Battery is not secure. | To secure the battery pack, make sure the latch on the |
| trigger is depressed | bottom of the battery pack is snapped into place. | |
| Battery is not charged. | Charge the battery pack according to the instructions | |
| included with your model. | ||
| Shaft not connected | Make sure shaft trimmer is securely seated in the coupler | |
| completely. | on the power head. |
CALL US FIRST
- For any questions about operating or maintaining your product, call the Ryobiâ Help Line!
- Your product has been fully tested prior to shipment to ensure your complete satisfaction.
















DANGER:






















