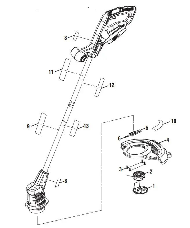
RYOBI P20103VNM 18 Volt String Trimmer
PARTS LIST
| KEY NO. | PART NO. | DESCRIPTION | QTY. | KEY NO. | PART NO. | DESCRIPTION | QTY. | ||
| 1 | 522994001 | Spool Cap (AC14HC) | 1 | 9 | 940020025 | 18V Boom Lithium Logo Label | |||
| 2 | 310917009 | Spool w/Line | 1 | 10 | 941588460 | Autofeed No Bump Guard Label | 1 | ||
| 3 | 660208055 | Screw (M4 x 12 mm, Pan Hd.) | 4 | 11 | 941013004 | Warning Icons Label | 1 | ||
| 4 | 313564002 | Guard w/Blade Assembly (Inc. Key Nos. 3 & 10) | 1 | 12 | 941013005 | Warning Label (French/Spanish) | 1 | ||
| 13 | 941588459 | Data Label (P20103) | 1 | ||||||
| 5 | 310920001 | Slider Assembly | 1 | ||||||
| 941588837 | Data Label (P20103VNM) | 1 | |||||||
| 6 | 679034001 | Compression Spring | 1 | ||||||
| Not Shown: | |||||||||
| 8 | 940114179 | Logo Label | 2 | ||||||
| 995000977 | Operator’s Manual | ||||||||
18 Volt Blower
P2109/P2109VN/P2109VNM
PARTS LIST
| KEY NO. | PART NO. | DESCRIPTION | QTY. | KEY NO. | PART NO. | DESCRIPTION | QTY. | |
| 1 | 541520001 | Blower Tube | 1 | 4 | 940851325 | Icon Label | 1 | |
| 2 | 940705300 | Logo Label | 1 | 5 | 940851326 | Warning Label | 1 | |
| 3 | 941588213 | Data Label (P2109) | 1 | Not Shown: | ||||
| 941588325 | Data Label (P2109VN) | 1 | 995000330 | Operator’s Manual | ||||
| 941588676 | Data Label (P2109VNM) | 1 | ||||||
18 Volt Blower
PARTS LIST
| KEY NO. | PART NO. | DESCRIPTION | QTY. |
| 1 | 941588513 | Data Label (P2607) | 1 |
| 941588836 | Data Label (P2607VNM) | 1 | |
| 2 | 941588511 | Warning Label (Spanish) | 1 |
| 3 | 941545002 | Logo Label | 2 |
| 4 | 941588510 | Danger (Trilingual)/Warning (English/French) Label | 1 |
| 5 | 941588512 | Warning Icons Label | 1 |
| Not Shown: | |||
| 995000981 | Operator’s Manual |
RYOBI P20103VNM 18 Volt String Trimmer



















