Bulletin P-RPMC
Series RPMC Stabile SENSE™
Critical Room Pressure Monitor
Specifications – Installation and Operating Instructions

The Series RPMC StabiliSENSE™ Critical Room Pressure Monitor is designed for critical low differential pressure applications that require stringent pressure monitoring and alarming. The Series RPMC can be configured to monitor positive or negative
pressure in protected environments and clean manufacturing areas. The RPMC is a complete system with a graphic user interface which enables access to pressure, security, calibration, and alarm setup. The RPMC StabiliSENSE™ critical room pressure monitor has a brushed stainless steel bezel that allows for easy cleaning.
The RPMC StabiliSENSE™ critical room pressure monitor has built-in status indication LEDs that will appear green when between user-defined pressure set range and will appear orange when outside of the pressure set range. 2 SPDT independent control
relays with adjustable deadbands are also provided along with a 4-20 mA process output.
FEATURES/BENEFITS
- Long term stable pressure measurement
- 2 SPDT relays allow for capability of local alarming and alarming to control system
- Automatic or manual alarm reset
- Visual LED alarms provide immediate local alert allowing corrective action to be taken quicker to eliminate the problem from becoming widespread
- Stores peak and valley process readings
- Same installation diameter as Magnehelic® gage which simplifies field upgrade to RPMC StabiliSENSE™ critical room pressure monitor
- Password protected setup menu ensures no errors by untrained personnel
INSTALLATION LOCATION: Select a clean, dry location free from shock and vibration where temperature limits will not be exceeded. Distance from the transmitter to the receiver is limited only by total loop resistance. See ELECTRICAL CONNECTIONS.
Tubing feeding pressure to the instrument can be practically any length required, but long lengths will increase response time slightly.
POSITION: All standard models are calibrated for use in a vertical mounting position.
Standard models will perform properly at other angles but should be spanned and zeroed in the position in which they will be used. WARM-UP: It is recommended to power up the RPMC StabiliSENSE™ unit and allow a 1-hour warm-up period before
taking measurements. This will stabilize the measurements and provide the best accuracy.
PRESSURE CONNECTIONS: For installation convenience two sets of 1/8˝ female NPT pressure ports are supplied. Be sure to seal the unused ports with pipe plugs, included.
Positive Pressure – Connect tubing to HIGH PRESSURE port and vent LOW PRESSURE port to atmosphere.
Negative (Vacuum) Pressure – Connect tubing to LOW PRESSURE port and vent HIGH PRESSURE port to atmosphere. (When operating this device in a dusty environment, install an optional A-331 Filter Vent Plug in the vented port to keep interior clean).
Differential Pressure – Connect tubing from the higher source to HIGH PRESSURE port and from the lower source to LOW PRESSURE port.
SPECIFICATIONS
Service: Air and non-combustible, compatible gases.
Measurement Technology: Capacitance cell.
Wetted Materials: Consult factory.
Housing Material: Die cast aluminum case and SS bezel.
Accuracy: ±0.25% RSS (includes non-linearity: ±0.24%, hysteresis: ±0.05%
and non-repeatability: ±0.05%), or ±0.5% RSS (includes non-linearity: ±0.49%, hysteresis: ±0.05% and non-repeatability: ±0.05%).
Pressure Limits: 2 psi.
Compensated Temperature Limits: 32 to 140°F (0 to 60°C).
Thermal Effects: 0.030%/°F (0.050/°C) from 77°F (25°C).
Power Requirements: 12-28 VDC, 12-28 VAC 50 to 400 Hz.
Power Consumption: 3 VA max.
Output Signal: 4-20 mA DC into 900 Ω max.
Zero and Span Adjustments: Accessible via menus.
Response Time: 8 ms.
Display: Backlit 4 digit LCD 0.4˝ height LED indicators for set point and alarm status.
Electrical Connections: 15 pin male high density D-sub connection. 18˝ (46 cm)
cable with 10 conductors included.
Process Connections: 1/8˝ female NPT. Side or back connections.
Mounting Orientation: Mount unit in vertical plane. Size: 4-3/4˝ (120.7 mm) OD x 2-21/32 (67.5 mm).
Weight: 1.90 lb (862 g).
Compliance: CE.
SWITCH SPECIFICATIONS
Switch Type: 2 SPDT relays.
Electrical Rating: 1 A @ 30 VAC/VDC.
Set Point Adjustment: Adjustable via keypad on face.
MOUNTING: The RPMC StabiliSENSE™ critical room pressure monitor may be either panel (flush) mounted or surface mounted.

Panel Mounting – Provide a 4-9/16˝ (115.8 mm) OD x 2-21/32 (67.5 mm) opening in panel. Insert gage and secure with supplied mounting hardware.

Surface Mounting – Drill (3) 3/16˝ (4.76 mm) diameter holes for mounting and cut a 9/16˝ x 1-1/2˝ (14.3 x 38.1 mm) opening for access to terminal block as indicated in Figure B. If rear pressure connections are to be used, also provide 1/2˝ diameter holes
as shown in Figure A and Figure C. Insert 6-32 machine screws from rear of mounting surface, thread into tapped holes on back of transmitter and tighten.

WIRING The RPMC uses a standard 15 pin male high density D-Sub connector available from most electronic distributors. A pre-wired 18˝ cable is included with each unit. See below table for cable color wiring information.
| Function | 15 PIN Connector Terminal | Cable Color |
| 12-24 VAC/VDC Power | 1 | Brown |
| 12-24 VAC/VDC Power | 6 | Yellow |
| 4-20 mA XMTR Output – | 2 | Black |
| 4-20 mA XMTR Output + | 11 | Red |
| SP1 Relay N/O | 12 | Vilolet |
| SP1 Relay Com | 13 | Grey |
| SP1 RELAY N/C | 14 | White |
| SP2 or Alarm Relay N/O | 15 | Blue |
| SP2 or Alarm Relay Com | 10 | Green |
| SP2 or Alarm Relay N/C | 5 | Orange |
NOTES:
- If 12-24 VDC power is used, the polarity is unimportant.
- Wire in accordance with an equivalent national standard or code. Use copper conductors only rated for 60°C.
- All terminals are rated CLASS 2.
- ISOLATION: All inputs and outputs to each other: 500 VAC.
- 4-20 mA transmitter – Check the specifications for the device receiving this signal for input resistance. Typical 250 to 600 Ω, 600 Ω maximum.

KEY FUNCTIONS
| KEY FUNCTIONS | |||
| Keys | Home Position Function | Main Menu Function | Sub Menu Function |
| Sequences the display through SET POINT and ALARM settings | Return to home position | Return to home position | |
| Allows access to the menus | Return to home position | Return to previous menu | |
| Sequences through menus | Increments a value | ||
| Sequences through menus | Decrements a value | ||
| Displays full-scale range of unit | Enter into SUB MENU | Changes a value or setting. Press ENTER and display will blink. Adjust with UP or DOWN arrows. Press ENTER to store. Display will stop blinking. | |
| Clears or resets an Alarm (alarm set for manual reset) | Peak/Valley SUB MENU resets display to present value. | ||
LED and Display Behavior – The RPMC StabiliSENSE™ critical room pressure monitor is designed to provide the room pressure status of the room being monitored to personnel with visual indication of the LED status lights and backlit 4 digit LCD. All LEDs on the front of the RPMC are defined by the alarm setpoints in “AL (Alarm Type) SUB MENU”.
The desired measurement should be between ALLO and ALHI settings, which would equate to SP1 and SP2 LEDs lighting up a green color. If the measurement is below ALLO or above ALHI, the corresponding LED will blink an orange color and the 4 digit
LCD will flash the number segments. Please refer to the table below for the operation and LED functions.
| LED Light | Reading below ALLO | Reading between ALLO to ALHI | Reading above ALHI |
| SP1 LED Light | LED OFF | LED ON, Solid Green | LED OFF |
| SP2 LED Light | LED OFF | Reading below ALLO | LED OFF |
| ALLO LED Light | Blink, Orange | LED OFF | LED OFF |
| ALHI LED Light | LED OFF | LED OFF | Blink, Orange |
| 4 Digit LCD | Flash Segments | Normal, Solid Segments | Flash Segments |
SETTING SET POINTS AND ALARMS
The
hot key provides direct access to the Set Point and Alarm MENU. The Set Point and Alarm MENUS that are displayed are based upon the Control (CtrL) SUB MENU.

SET POINT ADJUSTMENT
Adjusting the RPMC Set Points is quick and simple. Instead of setting a set point and deadland, simply adjust
for the desired relay turn on point, and then adjust
for the desired relay turn off point.

In the above graph, an instrument with a 1.0˝ range would have the SP1 relay turn on at 0.8˝ and off at 0.4˝.
sets the relay turn on point, and
sets the relay turn off point. The relays outputs normally function in the direct acting mode, which
means the relays turn on with an increase in pressure. SP1 may be configured to act as a reverse acting relay (refer to the 1SP SUB MENU setting, page 15). When set for reverse acting,
sets the relay turn OFF point, and
sets the relay turn ON point. SP2 is always direct acting.

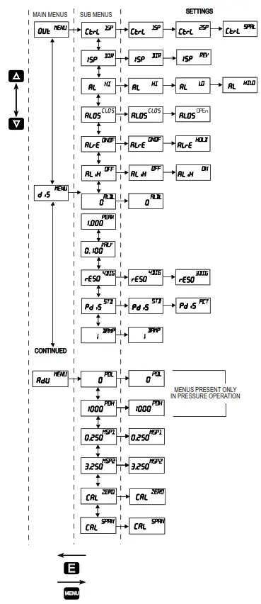
Menu Map

Main Menu Selections (Upper Right Display Reads
)
Security – Lock out access to Set Point and Alarm settings, or lock out access to all settings.
Operation – Selection of Pressure engineering units.
Output – Select a Single Set Point, 2 Set Points, or a Set Point and an Alarm mode of operation.
Display – Monitor and adjust display related settings: Peak, Valley, display resolution, % output and dampening.
Advanced functions – Modify advanced function parameters, transmitter output scaling, Maintenance Set Point settings and calibration.
MAIN MENUS and SUB MENUS
(Security) MAIN MENU
is the only SUB MENU in the security MENU. When the security SUB MENU is selected, the present security level is displayed in the upper right hand display. To change the security level, adjust the number displayed to the number shown in the following table for the desired security level.
| Security Level Displayed | Access | Password Value to Enter |
| 1 | All menus access | 10 |
| 2 | Menu Access | 70 |
| SP/AL Locked | ||
| 3 | SP/AL Access | 90 |
| Menus Locked | ||
| 4 | All settings locked | 111 |
Operation MAIN MENU
The
MENU verifies the measurement type of the instrument,
– Pressure.
(Pressure) SUB MENU
For pressure measurement, the following units are available:
– Inches of water column
– Millimeters of water column
– Millibar
– Pascal
| INWC | MMWC | MBAR | PA |
| 0.1000 | 2.540 | 0.2491 | 24.91 |
| 0.2500 | 6.350 | 0.6227 | 62.27 |
| 0.5000 | 12.70 | 1.245 | 124.5 |
| 1.000 | 25.40 | 2.491 | 249.1 |
| 2.500 | 63.50 | 6.227 | 622.7 |
Table 1: Pressure range vs. available units
Note: OVFL (over flow) or
(under flow) will appear when the ranges have been exceeded above or below full-scale by 2%.
(Control) SUB MENU
– Single set point
– Two fully independent set points
– Single set point and alarm
(SP1 Reverse or Direct Acting) SUB MENU
– Direct. Relay turns on with increasing pressure
– Reverse. Relay turns on with decreasing pressure


The following alarm function SUB MENUS are activated when
is set to
:
(Alarm Type) SUB MENU
– High alarm
– Low alarm
– For a high/low guardband type alarm
ALARM ADJUSTMENT
Alarm settings are dependent upon the selected alarm mode. The RPMC differential pressure controller alarm may be configured as a High Alarm, Low Alarm, or High/Low Alarm. Alarm settings are all absolute and may be set to anywhere within the range of
the instrument. The dead bands of the alarms are fixed at 1% of full-scale.

(Alarm Output State) SUB MENU
– Alarm relay contacts close upon alarm condition
– Alarm relay contacts open upon alarm condition
(Alarm Reset) SUB MENU
– Automatic reset
– Manual reset. An alarm is reset by the RESET key on the front panel.
(Low Alarm Inhibit) SUB MENU
– Alarm inhibit is on
– Alarm inhibit is off
I f
is selected
, a low alarm condition is suspended upon power up until the process value passes through the alarm set point once.
(Alarm Delay) SUB MENU
Sets the amount of time an alarm condition must be continuously met before the
alarm condition is recognized. The alarm delay is adjustable from 0-3600 seconds.
(Display) MAIN MENU
– Peak value
– Valley value
– Zero
– Resolution
– Process display
– Dampening level
(Peak) SUB MENU
The Peak feature stores the highest pressure reading the instrument has measured since the last reset or power up. At power up
is reset to the present pressure reading. To manually reset the
value, press the RESET key while in the
SUB MENU.
(Valley) SUB MENU
The valley feature stores the lowest pressure reading the instrument has measured since the last reset or power up. At power up
is reset to the present pressure reading. To manually reset the
value, press the RESET key while in the
SUB MENU.
(Resolution) SUB MENU
The RPMC StabiliSENSE™ critical room pressure monitor is capable of displaying four digits of resolution. However, at very low pressures the instability of the pressure may cause fluctuations in the least significant digit causing the least significant digit to be of little value. Three digit resolution (
) can only be active when there is at least one digit to the right of a decimal.
– Set display for 3 digit resolution
– Set display for 4 digit resolution
(Process Display) SUB MENU
– Display reads pressure, velocity, or flow values
– Display reads % of full-scale value
When the display is reading percent,
is displayed in the upper right of the display. The percent display is only available in pressure operation.
(Dampening) SUB MENU
Adjust from 1-16
Dampening stabilizes the display from instabilities due to things such as vibration and excessive pressure fluctuations. The dampening setting adjusts the amount of readings that are averaged for each display update. Adjust the dampening value until the display reads a stable value for the application.
(Advanced) MAIN MENU
– Process output low
– Process output high
– Maintenance set point 1
– Maintenance set point 2
– Zero calibration
– Span calibration
and
(Process Output Low and High) SUB MENUS
Process output low and high are used to scale the 4-20 mA output. Set
to the desired display reading for 4 mA output, and set POH to the desired display reading for 20 mA output.
must be higher than
.
may be adjusted 2% BELOW minimum scale up to
may be adjusted from
to 2% ABOVE maximum scale.
(Maintenance Set Point 1 and 2) SUB MENUS
Adjust for the desired maintenance set points when the unit is placed in the maintenance mode. The deadland is fixed at 2% of full-scale. To enter or leave the maintenance mode, press and hold the for 8 seconds.
(Calibration of Zero and Span) SUB MENUS
The lower display reads
in this mode.
Calibration
Note: For accurate calibration, do not apply any pressure when performing this function.
With the display reading ZERO, press the ENTER key. The upper display will blink.
Press ENTER again to complete the zeroing of the instrument or press the MENU key to cancel.
Calibration
With the display set to
, apply full-scale pressure to the unit. Press the ENTER key. The upper display will blink. Press ENTER again to complete the calibration or press the MENU key to cancel.
CE APPROVAL
Note: For EN61000-4-3, with an applied RF field of 10 V/M between 200-800 MHZ, accuracy is increased to ±8%.
MAINTENANCE/REPAIR
Upon final installation of the Series RPMC, no routine maintenance is required. The Series RPMC is not field serviceable and is not possible to repair the unit. Field repair should not be attempted and may void warranty.
WARRANTY/RETURN
Refer to “Terms and Conditions of Sale” in our catalog and on our website. Contact customer service to receive a Return Materials Authorization number before shipping the product back for repair. Be sure to include a brief description of the problem plus any additional application notes.
©Copyright 2023 Dwyer Instruments, LLC
Printed in U.S.A. 4/23
FR# 444595-00 Rev. 2
DWYER INSTRUMENTS, LLC
Phone: 219-879-8000
Fax: 219-872-9057
www.dwyer-inst.com
e-mail: [email protected]
P.O. BOX 373
MICHIGAN CITY, INDIANA 46360, U.S.A.















