DAIKIN DX14XA0903AA DX14XA 2 Stage Remote Condensing Unit User Manual
Important Information
Text Codes:
AR – As Required
NA – Not Available
NS – Not Shown
00000000 – See Note
QTY – Quantity Example (QTY 3) (If Quantity not shown, Quantity = 1)
M – Model Example (M1) (If M Code not shown, then part is used on all Models)
Expanded Model Nomenclature:
Example
M1 – Model#1
M2 – Model#2
M3 – Model#3
Daikin Comfort Technologies Manufacturing , L.P. is not responsible for personal injury or property damage resulting from improper service. Review all service information before beginning repairs.
Warranty service must be performed by an authorized technician, using authorized factory parts. If service is required after the warranty expires, Daikin Comfort Technologies Manufacturing , L.P. also recommends contacting an authorized technician and using authorized factory parts.
Daikin Comfort Technologies Manufacturing , L.P. reserves the right to discontinue, or change at any time, specifications or designs without notice or without incurring obligations.
| For assistance within the U.S.A. contact: | For assistance outside the U.S.A. contact |
| Homeowner Support | International Division |
| Daikin Comfort Technologies Manufacturing , L.P. | Daikin Comfort Technologies Manufacturing , L.P. |
| 19001 Kermier Road | 7401 Security Way |
| Waller, Texas 77484 | Houston, Texas 77040 |
| 855-770-5678-Telephone | 713-861-2500-Telephone |
| 713-863-2382-Facsimile | 713-863-2382-Facsimile |
Functional Parts
| Part No: | Description |
| 0130M00249 | AUXILLARY SWITCH |
| 0151R00184 | BALL VALVE 1 1/8″ |
| 0151R00188 | BASE VALVE 5/8″ |
| ZPS104KCETF5155 | COMP, 105K 200/230/60/3/2STG (M3) |
| ZPS104KCETFD155 | COMP, 105K, 460/60/3/2STG (M4) |
| ZPS83KCETFD130 | COMP, 83000, 200/230/60/3/2STG (M2) |
| ZPS83KCETF5130 | COMP, 83000, 200/230/60/3/2STG (M1) |
| CONT3P040024V | CONT, 3 POLE, 40 AMP, 24 VAC (M1, M2, M4) |
| CONT3P040024V | CONT, 3 POLE, 40AMP, 24 VAC (M1, M2, M4) |
| CONT3P050024V | CONT, 3 POLE, 50 AMP, 24 VAC (M3) |
| 0130L00023 | CRANK CASE HEATER 70W 240V (M1, M3) |
| 0130L00024 | CRANK CASE HEATER 70W, 480V (M2, M4) |
| 0130M00082 | LOW PRESSURE SWITCH |
| 0131M01016 | MOTOR (M2, M4) |
| 0131M01015 | MOTOR (M1, M3) |
| 0130R00056 | SW-CUTOUT HI PRESS |
SPECIAL PARTS
- 0161R00093: NAMEPLATE, DAIKIN
Expanded Model Nomenclature
M1 – DX14XA0903AA
M2 – DX14XA0904AA
M3 – DX14XA1203AA
M4 – DX14XA1204AA
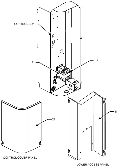
CONTROL BOX ASSEMBLY

| Ref. No: Part No: | Description |
| 11 0121R01041PNG | PAINTED, LOWER ACCESS PANEL |
| 21 0121R00950PNG | CONTROL COVER, LARGE PNT |
| 71 CONT3P040024V | CONT, 3 POLE, 40 AMP, 24 VAC (M1, M2, M4) |
| 71 CONT3P040024V | CONT, 3 POLE, 40AMP, 24 VAC (M1, M2, M4) |
| 71 CONT3P050024V | CONT, 3 POLE, 50 AMP, 24 VAC (M3) |
| 171 0130M00249 | AUXILLARY SWITCH |
| NS 0161R00093 | NAMEPLATE, DAIKIN |
Expanded Model Nom enclature
M1 – DX14XA0903AA
M2 – DX14XA0904AA
M3 – DX14XA1203AA
M4 – DX14XA1204AA
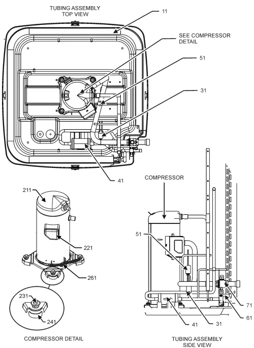
TUBING ASSEMBLY

| Ref. No: Part No: | Description |
| 11 0121R00007PNG | BASE PAN, 35.5″ PNT |
| 31 0130R00056 | SW-CUTOUT HI PRESS |
| 41 0162L00112 | FILTER DRIER |
| 51 0130M00082 | LOW PRESSURE SWITCH |
| 61 0151R00188 | BASE VALVE 5/8″ |
| 71 0151R00184 | BALL VALVE 1 1/8″ |
| 211 ZPS104KCETF5155 | COMP, 105K 200/230/60/3/2STG (M3) |
| 211 ZPS104KCETFD155 | COMP, 105K, 460/60/3/2STG (M4) |
| 211 ZPS83KCETF5130 | COMP, 83000, 200/230/60/3/2STG (M1) |
| 211 ZPS83KCETFD130 | COMP, 83000, 200/230/60/3/2STG (M2) |
| 221 0159G00003 | HARNESS, COMP SCROLL (M1, M2) |
| 221 0159L00053 | HARNESS, COMP SCROLL (M4) |
| 221 0159L00130 | HARNESS, COMP SCROLL (M3) |
| 231 B1393740 | COMP BOLT & SLEEVE (QTY 4) |
| 241 0164M00018 | GROMMET, COMPRESSOR (QTY 4) |
| 261 0130L00023 | CRANK CASE HEATER 70W 240V (M1, M3) |
| 261 0130L00024 | CRANK CASE HEATER 70W, 480V (M2, M4) |
| NS 0159G00001 | COMPRESSOR SOLENOID CABLE |
| NS 4400031 | VALVE BRACKET |
Expanded Model Nom enclature
M1 – DX14XA0903AA
M2 – DX14XA0904AA
M3 – DX14XA1203AA
M4 – DX14XA1204AA
TOP AND LOVER PANEL ASSEMBLY

| Ref. No: Part No: | Description |
| 11 0121R01034PNG | PAINTED, TOP PANEL |
| 21 0161R00105 | 35″ VENTURI CFS |
| 31 0152R00031 | GRILLE |
| 41 0131M01015 | MOTOR (M1, M3) |
| 41 0131M01016 | MOTOR (M2, M4) |
| 51 0121R01032 | MOUNT, MOTOR |
| 61 0150M00049 | FAN BLADE, 26″ |
| 71 0163M00003P | SCREW,#10 X 1/2,A,SLOT,SR,BLK (QTY 8) |
| 81 0163M00004 | SCREW 10X3/4 BLK (QTY 4) |
| 91 0154R00045 | GASKET, CONTROL PANEL |
| 111 0121R00601PNG | PANEL 1, LOUVER 35_39.84 PNT |
| 121 0121R00514PNG | PANEL 2, LOUVER 35_39.84 PNT (QTY 2) |
| 131 0121R00603PNG | PANEL 3, LOUVER 35_39.84 PNT |
| 141 0201R00716 | COIL TUBING ASSY |
| 201 B1393804 | NYLON LOCKNUT .31 – 18 (QTY 2) |
| 211 0163M00580 | SCREW HEX CAP 5/16 18X2 A307 (QTY 2) |
| NS B1393024 | LOCK NUT (QTY 4) |
Expanded Model Nom enclature
M1 – DX14XA0903AA
M2 – DX14XA0904AA
M3 – DX14XA1203AA
M4 – DX14XA1204AA
RP-D4366 www.daikincomfort.com
This manual is to be used by qualified technicians only.
© 2022 ◊ 19001 Kermier Rd. ◊ Waller, TX 77484



















