TYROLIT DRA500 Hydraulic System

Congratulations!
With a Hydrostress unit from TYROLIT, you have chosen a tried and tested piece of equipment designed and built to the highest technical standards. Only genuine TYROLIT Hydrostress re-placement parts can guarantee quality and interchangeability. If maintenance work is neglected or carried out inexpertly we will be unable to honor our warranty obligations. Any repair work must be carried out by trained personnel only. Our after-sales service is available to help ensure that your TYROLIT Hydrostress units remain in perfect working order. We hope that working with your TYROLIT unit will be a satisfying and fault-free experience.
TYROLIT Hydrostress
- Copyright © TYROLIT Hydrostress
- TYROLIT Hydrostress AG
- Witzbergstrasse 18
- CH-8330 Pfäffikon
- Switzerland
- Tel. 0041 (1) 952 18 18
- Fax 0041 (1) 952 18 00
Safety
These instructions are just one part of the documentation which is supplied together with the drill rig. These instructions go together with the “Core Drill Safety Manual / System Description” to form a complete set of documentation.
DANGER
Failure to comply with the safety instructions in the “Core Drills Safety Manual / System Description” may result in serious injury or even death.
- Please ensure that the “Core Drills Safety Manual / System Description” has been read and understood in full.
DANGER
- Death or serious injury can be caused by a sudden start-up of the machine.
- Before switching on the system, ensure that no other person is present in the danger areas.
- Switch the system off before connecting or disconnecting cables.
- Switch the system off when you leave and secure it so that it cannot be switched back on again.
- Death or serious injury as a result of the drill bit continuing to run after an accident.
- Ensure that the ON / OFF button can be reached quickly.
- Electric shock from live cables and connectors.
- Switch the drill motor off before connecting or disconnecting cables.
- Risk of fire due to incorrect mains voltage.
- Make sure that the mains voltage and mains frequency match the mains settings of the drill motor.
Description
Core drilling system
The DRA500 drill rig is part of electric or hydraulic core drill systems comprising the appropriate TYROLIT Hydrostress components.
- Core drilling system
- Drill rig
- Electric drill motor
- Drill bit
- Hydraulic drill motor
- Drilling gearbox
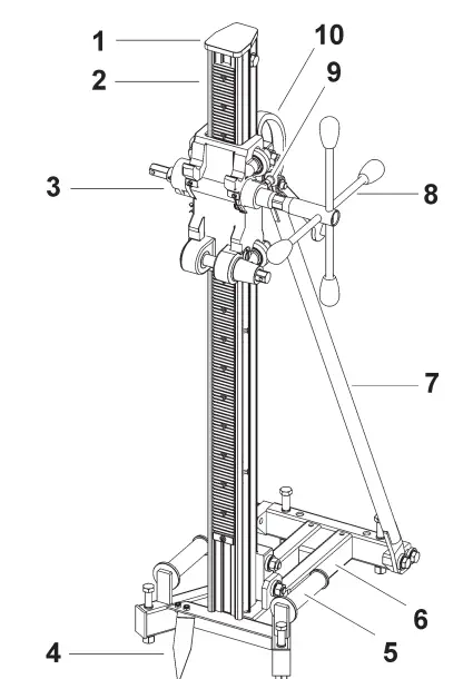
Main components of the DRA500
Main components of the DRA500
- Cap
- Column
- Gear support
- Centre indicator
- Handle
- Dowel foot
- Support rod
- Hand crank
- Locking device
- Grip
Assembly
Locking the support
Drill motor interface
- Lock the support before securing the drill motor. (see 3.1 Locking the support)
Mounting the drill motor
Surface interface
Dowel anchoring
The DRA500 drill rig can be securely attached to the surface with dowel anchoring. Information on safe dowel anchoring can be found in the “Core Drills Safety Manual / System Description.
Settings
Angled position
Brake
Adjusting the rollers
Servicing and maintenance
| Maintenance and servicing table | |||||||
| Before starting up (every time) | At end of work | Weekly | Yearly | After faults | After damage | ||
| Drill rig | Wash down with water | X | X | X | |||
| Lubricate threads of adjustable feet | X | X | X | ||||
| Tighten loose screws and nuts | X | ||||||
| Clean teeth of guide column | X | X | |||||
| Support | Tighten loose screws and nuts | X | X | X | |||
| Check the roller guide and adjust if necessary (see roller adjustment 4.2) | X | X | |||||
| Replace the roller guide | X | ||||||
| Service | To be performed by TYROLIT Hydros- tress AG or an authorized workshop. | First service after 100 operating hours Further services after every further 200 operating hours | |||||
Faults
| Malfunctions | ||
| Malfunction | Possible cause | Solution |
| Diamond drill bit jams | Diamond drill bit off centre due to in- adequate anchoring of guide rail or drill rig foot | ► Loosen and extract diamond drill bit. Break up drilling core and correct drill rig anchoring. |
| Diamond drill bit drifts due to excessive play in the roller guides | ► Loosen drill rig and readjust roller guides | |
| Drill segments are worn (No free cutting) | ► Replace drill bit | |
| Major wear on the drill bit tube | Diamond drill bit poorly guided in the drill hole | ► Adjust roller guides |
| Defective drill motor bearings | ► Replace drill motor ► Contact TYROLIT Hydrostress AG aftersales. | |
| Feed jams along the whole length of the guide rail | Locking device on the roller guides is too tight. | ► Adjust roller guide clamping |
| Feed jams at one point on the guide rail | Guide rail is distorted or damaged | ► Contact TYROLIT Hydrostress AG aftersales |
| Difficulty in centring drill bit | Diamond drill bit off centre due to poor anchoring of the drill rig | ► Correct drill rig anchoring |
| Diamond drill bit drifts due to excessive play in the roller guides | ► Adjust roller guides | |
| Poor concentricity of drill bit | ► Replace drill bit ► Use TYROLIT diamond tool | |
| Difficult or impossible to twist the foot adjustment screw | Thread not lubricated | ► Lubricate thread |
| Feet distorted | ► Contact TYROLIT Hydrostress AG aftersales | |
| Difficult or impossible to incline the drill rig | Guide rail distorted or damaged | ► Contact TYROLIT Hydrostress AG aftersales. |
Technical data
Dimensions
| Dimensions | |
| DRA500« | |
| Length L | 454 mm |
| Width B | 301 mm |
| Height H | 1,182 mm |
| Weights | |
| DRA500« | |
| Weight (without hand crank) | 26 kg |
| Drill bits | |
| DRA500« | |
| Drill diameter range | Ø 100 – Ø 250 mm |
| Max. drill diameter with 180 mm distance plate | Ø 400 mm |
| Max. drill diameter with 250 mm distance plate | Ø 500 mm |
| Max. drill bit length | 869 mm |
| Design | |
| DRA500« | |
| Foot | Steel dowel foot |
| Feed | by hand crank |
| Angular adjustment | 90°-45° with an angle display |
| Centre indicator | Indicator retractable |
| Adjustable feet | M12 bolt |
| Drill motor mount | ModulDrill quick change clamping system |
| Support guide | Adjustable interchangeable roller guide |
EC Declaration of Conformity
Description Type designation Drill rig DRA500
- We declare under our sole responsibility that this product complies with the following directives and standards:
- Directive applied
- 2006/42/EC
- Applied standards
- EN 12100: 2010
- EN 12348 : 2000 + A1 : 2009
- TYROLIT Hydrostress AG
- Witzbergstrasse 18
- CH-8330 Pfäffikon
- Switzerland
- Pfäffikon, 12.05.2017

- Pascal Schmid Head of Development
- Originalbetriebsanleitung 10988845 en / 10.02.2022






















