QUICK SETUP GUIDE
Standing Desk
NS-SDSK-BL / NS-SDSK-MH / NS-SDSK-AK

PACKAGE CONTENTS
- Standing desk
- Small parts list
- Quick Setup Guide
FEATURES
- Easily adjusts to a comfortable height with a hand switch
- 19.7 in (50 cm) of height adjustment lets you use the desk while standing or sitting
- The desktop holds up to 110 lbs. (50 kg) and is suitable for a computer, printer, or sewing machine (within the weight limit)
- Cable management for a clean look
- Choice of two colors, black or mahogany (both with black frame)
- Electric adjustment switch easily raises or lowers the desk height
- Steel frame with particleboard tabletop provides a stable work surface
Before using your new product, please read these instructions to prevent any damage.
SMALL PARTS LIST

MAJOR PARTS LIST

INSTALLING THE LEGS
- Place the desktop upside down on a carpet or protective cloth.
Note: Make sure that both legs are at their lowest setting (turn the shaft in each leg to do this) before installation so that the table will be level when assembled.
- Insert the hexagonal shaft in the first leg 3 into the corresponding hole in the desktop leg mount, then turn the leg until the screw holes line up and the connecting cable on the top of the leg faces the in toward the motor.

- Attach the leg to the desktop with four M6 × 16 screws, tightening them firmly with the 4 × 4 Allen key.

- Repeat the steps to attach the other leg 2.
Note: See the section on “Installing the Adapter and Connecting the Cables” for cable connections.
INSTALLING THE FEET
Attach the feet to the bottoms of the legs with four 6 × 16 screws each. Make sure that the adjustable pads on the bottom of the feet face down and the long portion of each foot faces forward (as shown).

INSTALLING THE SWITCH
Attach the switch to the bottom of the desktop with two ST4.2*19 screws.
Tighten the screws with the 5 × 5 Allen key. Make sure that the flat side of the switch is against the desktop and the UP and DOWN buttons are facing forward.

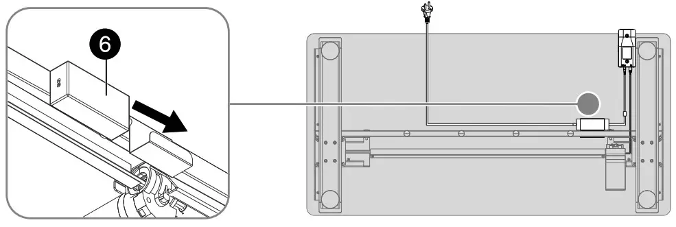
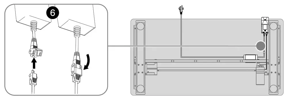
INSTALLING THE ADAPTER AND CONNECTING THE CABLES
- Slide adapter 6 into the slot on the bottom of the desktop so that the female connector is on the left (as shown) and the adapter cable Is on the right (see detail).

- Connect the cable from the switch to the adapter cable 6, then lock them together (see detail).

- Plug the small connecter on the power cord into the female connector on the adapter (see detail).

- Connect the adapter cable 9 to the DC port. Connect the motor cable to the M1 port (see detail).

- Attach the cables to the bottom of the desktop with the cable ties provided (see detail).

USING YOUR STANDING DESK
1 With another person to assist you, lift the desk from the floor and turn it upright.
2 Place the desk where you want it, on a firm, level floor.
3 Plug your desk into a power outlet.
4 Press the
to raise the desktop and press them
to lower the tabletop.
Note: Make sure that the table and surrounding area are clear from obstructions before moving the table up or down.
Reset
- At the lowest position, press and hold the down button (longer than 5 seconds) to reset the lifting system.
When the lifting system bottoms out, rebounds, then stop, the reset is successful. - If the lifting system fails, release the button, then press and hold the down button (longer than 5 seconds).
When the lifting system bottoms out, rebounds, then stop, the reset is successful.
Anti-collision function:
Note: When the lifting system’s built-in sensor encounters resistance, the lifting system pauses, then reverses motion and stops.
- Press and hold the
and
buttons together (longer than 5 seconds) to turn off or turn on the anti-collision function.

SPECIFICATIONS
- Maximum weight: 110 lbs. (50 kg)
- Input voltage required: 100-240 v ~ 50/60 Hz
- Lowest position: 28.7 in. (73 cm)
- Highest position: 48.4 in. (123 cm)
- Dimensions (desktop size) (H×W×D): 47.2 × 23.6 × 0.7 in. (120 × 60 × 1.8 cm)
TROUBLESHOOTING
The tabletop will not raise or lower
- Make sure that all cables are securely connected.
- Make sure that the tabletop is not overloaded. The maximum weight should not exceed 110 lbs. (50 kg).
- Try again after 30 minutes.
- Contact your supplier or dealer.
IMPORTANT SAFETY INFORMATION
- You should only use your table when the temperature is between 32 – 104° F (0-40° C).
- The power adapter requires 100-240 VAC ~ 50/60 Hz.
- Do not expose the power adapter to moisture, or excessive dust. It may cause shock hazards.
- Operate the adapter in a well-ventilated area. Maximum ambient temperature around the power adapter must not exceed 104° F (40° C).
- Do not open the power adapter under any circumstances. The power adapter is not intended to be repaired in case of failure or component defect. There are no internal serviceable parts.
- Discontinue use, if any of the following should occur:
- The adapter shuts down when it connects to the switch’s port. (LED turns off)
- The adapter’s LED light blinks when the adapter is plugged into an AC power outlet.
- A cord or plug is damaged or frayed.
- Make sure to connect the adapter’s plug and switch’s port correctly.
- The socket shall be installed near the adapter and shall be easily accessible.
- Make sure that your table is correctly and completely assembled before you use it.
CAUTION: You should unplug the power cord before cleaning your table. Wipe the dust from the surface with a slightly damp cloth. Do not use caustic or abrasive cleaners or any solvents (such as benzene or gasoline) to clean your table.
CAUTION: Children should not be allowed to operate the table.
LEGAL NOTICES
FCC PART 15
This device complies with Part 15 of the FCC Rules.
Operation of this product is subject to the following two conditions:
(1) this device may not cause harmful interference, and (2) this device must accept any interference received, including interference that may cause undesired operation.
This equipment has been tested and found to comply with the limits for a Class B digital device, pursuant to Part 15 of the FCC Rules. These limits are designed to provide reasonable protection against harmful interference in a residential installation. This equipment generates, uses, and can radiate radio frequency energy and, if not installed and used in accordance with the instructions, may cause harmful interference to radio communications. However, there is no guarantee that interference will not occur in a particular installation. If this equipment does cause harmful interference to radio or television reception, which can be determined by turning the equipment off and on, the user is encouraged to try to correct the interference by one or more of the following measures:
- Reorient or relocate the receiving antenna.
- Increase the separation between the equipment and receiver.
- Connect the equipment into an outlet on a circuit different from that to which the receiver is connected.
- Consult the dealer or an experienced technician for help.
FCC WARNING
Changes or modifications not expressly approved by the party responsible for compliance with the FCC
Rules could void the user’s authority to operate this equipment.
ONE-YEAR LIMITED WARRANTY
For a complete warranty, visit www.insigniaproducts.com.
CONTACT INSIGNIA
1-877-467-4289 (U.S. and Canada) or 01-800-926-3000 (Mexico)
www.insigniaproducts.com
INSIGNIA is a trademark of Best Buy and its affiliated companies
Distributed by Best Buy Purchasing, LLC
7601 Penn Ave South, Richfield, MN 55423 U.S.A.
©2021 Best Buy. All rights reserved.























