Laser Distance Meter
Instruction Manual
VER: V1


Your excellent helper in the laser distance test!
NF-271 Laser Distance Meter

Please read the complete instructions including safety precautions before attempting any testing.
Please read all of the operational guide and safety regulations in this manual before operation. Improper operations without complying with this manual guide could cause damage to the device, influence measurement results, or bodily injury to the user.
The instrument is not allowed to disassemble or repair in any way. It is forbidden to do any illegal modification or performance change for the laser emitter.
Please keep it out of reach of children and avoid using it by any irrelevant personnel.
It is strictly prohibited to shoot eyes or other parts of the body with the laser; it is not allowed to take the laser to shoot any object’s surface with a strong reflection.
Due to electromagnetic radiation interference to other equipment and devices, please don’t use the meter in the plane or around medical equipment, and don’t use it in inflammable, explosive environments.
Discarded batteries or meter devices shall not process just like household garbage, please handle them in line with related laws and regulations.
Any quality issues or any questions on the meter, please contact local distributors or manufacturers in time, we are ready to offer solutions for you.
Overview
NF-271 is designed to measure Distance, Area, Volume, and Pythagorean measurement, which is mainly applied in indoor decoration and design, and building construction. In these basic functions, NF-272L has upgraded many more functions, such as Level measurement, Vertical measurement, Voice broadcast, Degree measurement, and so on.

| 1 | Add | 2 | Subtract |
| 3 | Power & Clear | 4 | Measure |
| 5 | Menu | 6 | Benchmark & Unit switch |
| 7 | Record query & setting |
Display Instruction

| 1 | Battery condition | 7 | Setting |
| 2 | Beep | 8 | Display |
| 3 | Buzzer (271) | g | Data storage |
| Voice broadcast (272L) | 10 | Data storage number (271) | |
| 4 | Laser function opener | Degree (272L) | |
| 5 | Benchmark point | 11 | Signal |
| 6 | Area/volume/ Pythagorean | 12 | Auxiliary indicator |
| 13 | Unit |
Product Features

Operation instructions
3.1. Turn on & off
Long press”
“2s to turn on,
Long press”
“2s to turn it off.
3.2. Single measurement
Press ”
“turn on the laser and Press”
” again, and the result will display on the screen.
3.3. Continuous measurement
Long press”
” 2s to go in, and the MAX & MIN will show. Press “
” or ”
” to quit. Besides, it will stop if no operation after 3mins.
3.4. Area measurement
Press “
” to go in when the testing mode is in Single measurement, and Press”
“to get the length & width, then it will work out the area on the screen.
3.5. Volume measurement
Press “
” to go in when the testing mode is in Area measurement, and Press “
” to get the length & width & height values, then it will work out the volume on the screen.
3.6. Pythagorean measurement
Press “
” to go in when the testing mode is in Volume measurement, then press “
” to get the 1 & 2 values, it will work out the height “L” on the screen.
3.7. Secondary Pythagorean measurement “1”
Press “
” to go in when the testing mode is in Pythagorean measurement, then press”
” to get the 1 & 2 & 3 values, it will work out the height “L” on the screen.
3.7. Secondary Pythagorean measurement “2”
Press “
” to go in when the testing mode in Pythagorean measurement 1, then press “
” to get the 1 & 2 & 3 values, it will work out the height “L” on the screen.

3.8. Level measurement ( Only for NF-272L )
Press “
” to go in when the testing mode is in Pythagorean measurement 2, then press “
” to get the 1, it will automatically calculate the angle degree between the hypotenuse and the horizontal edge, vertical Length “H” and horizontal length “L”.
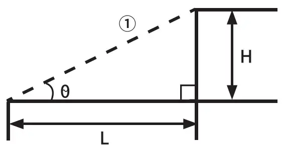
3.9. Vertical measurement ( Only for NF-272L )
Press “
” to go in when the testing mode is in Level measurement, then press “
” to go in, then press “
” to get the 1 & 2 lengths, it will work out the degree “θ” and length “L”.
3.10. Addition & subtraction measurement
Under the Single, Area, Volume measurement mode, press “
” to get a result “A”, then press “
” or “
“, press “
” again to get another result “B”, then it will automatically calculate the value (“A+B “or “A-B”).

3.11. Unit switching
Long press “
” 2s to switch the unit, optional from (0.000m—)0.00m-03.00ft-0100″°/0—>0.0in—>0%in)
3.12. Benchmark switching
Press “
” to go in, and you can set the benchmark to measure from the front side 0), or from the end side (2).

3.13. Unit switching
Press “
” to go in, and you can query the data measured before. Then press “
” or”
” to quit.
3.14. Setting
Press”
” 2s to go in, the flashing arrow on the screen indicates that the Buzzer/Voice broadcast switch setting has been entered. Press”
” or “
” to adjust the Off/On. Then press “
” to go voice calibration setting, by pressing”
” or “
“, adjust the parameters. Press “
” to quit.

Specification
| Model | NF-271 | NF-272L | ||||
| Range | 50m | 70m | 60m | 80m | 100m | |
| Accuracy | +/-1.5 mm | |||||
| LCD screen | FSNT with backlight | |||||
| Wavelength & Output | 620-680nm, <1mw | |||||
| Working temperature | 0-40°C | |||||
| Storage temperature | -20-60°C | |||||
| Laser Off | The 30s | |||||
| Auto-off | 2minutes | |||||
| Protection level | IP54 | |||||
| Power | AAA | 850mAh Lithlium battery | ||||
| Voice broadcast | X | V | ||||
| Degree measurement | X | V | ||||
| Level measurement | X | V | ||||
| Unit switching | m/ft/in/ft+in | |||||
| Benchmark switching | ||||||
| Single measurement | V | |||||
| Continuous measurement | ||||||
| Area measurement | V | |||||
| Volume measurement | V | |||||
| Pythagorean measurement | ||||||
| Vertical measurement | X | V | ||||
| Addition & subtraction measurement | X | V | ||||
| Data storage | 50 sets | 99 sets | ||||
| Size | 119*50*26mm | |||||
| Weight | 100g | |||||
Packing List
| 1 | Packing List | 1 pcs |
| 2 | Carry bag | 1 pcs |
| 3 | USB cable | 1 pcs |
| 4 | Reflector board | 1 pcs |
| 5 | AAA battery | 3pcs |
| 6 | Manual | 1 pcs |
| 7 | Qualification certification | 1 pcs |
Error reasons and solutions
| Code | Reason | Solution |
| 203 | High or low temperature | Measure at the required temperature range |
| 220 | Low battery | Replace new battery |
| 254 | Wrong calculate | Measure again incorrect operation |
| 255 | Weak signal | Test the strong reflection ability of the target |
| 256 | Strong signal | Don’t measure under strong light |
| 257 | Out-of-measure range | Measure within the range |
| 300 | hardware error | Restart, or contact dealer if it happens again |
Overview — Laser distance meters

Your excellent helper in the laser distance test!


















