Neomounts NM-D750DSILVER Monitor Arm Gasveer

Caution
- To ensure safety, please read this manual carefully before installation and follow the instructions. Store this manual in a secure place for future reference.
- The manufacturer shall not be legally responsible for any equipment damage or personal injury caused by incorrect installation or operation other than that covered in this manual.
- The mount is designed for easy installation and removal. The manufacturer shall not be liable for damage to equipment or personnel injuries arising out of human factors or acts of God, Such as earthquakes or typhoons.
- It is recommended that the Wall mount bracket be installed by qualified personnel only
- At least two persons are needed to install or remove the product to avoid the hazard of falling objects.
- Please carefully inspect the area where the wall mount is to be installed
– Avoid places that are subject to high temperatures, humidity or contact with water.
-Do not install the product near air conditioning vents or areas with excess dust and fumes.
– Only install on vertical walls and avoid slanted surfaces.
-Do not install in places subject to any shock or vibration.
-Do not install in places subject to direct exposure to bright light, at it may cause eye fatigue when viewing the display panel. - Maintain sufficient space around the display to ensure adequate ventilation.
- To ensure sate installation, first, check the structure or the wall and select a secure mounting location.
- The wall should be strong enough to sustain a weight of at least four times of the display and Wall mount bracket combined. The mounting location must be able to withstand earthquakes or another strong shocks.
- Do not modify any accessories or use broken parts. Contact your dealer with any questions.
- Tighten all screws (do not exert excessive Torce to avoid breaking the crew or damaging its thread).
- Drill holes and bolts will be left in the wall once the display and Wall mount bracket are removed. Stains may occur after extended use.
- Since the manufacturer has no way to control the wall type and installation of the wall mount, the warranty of the product shall only cover the body of the wall mount. The warranty period of the product is 5 years.
- Please consult the English language manual for any dispute on conditions.
OVERVIEW

PARTS

INSTALLATION
- Mount the desk clamp to the rod

- Place the rubber pads

- Attach the adjustment knob

- Place the cover

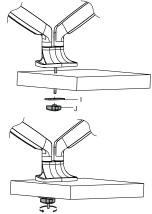
- Install the clamp to the desk

- Mount the desk grommet to the rod

- Place the rubber pads

- Install the grommet through the desk

- Attach the VESA Plate to the monitor

- Install the monitor

- Adjust the gas spring

- Run cable through the cable cover

- Adjust the mount to your desired position



























