DYNASTY FirePlace BTS35, BTS40, BTS60 3 Sided Smart Electric Fireplace

Product Information
- Product Name: Dynasty Fireplaces
- Model Numbers: DY-BTS35 / DY-BTS40 / DY-BTS60
- Manufacturer: Dynasty Fireplaces
- Address: 3231 No. 6 Road, Unit 127, Richmond, BC V6V 1P6 Canada
- Contact Information: Phone: +1 877-521-1009 | Email: [email protected]
- Website: dynastyfireplaces.com
- Support Website: support.dynastyfireplaces.com
Product Usage Instructions
- Read the entire manual carefully before attempting to assemble, install, operate, or maintain the product.
- Ensure that the plug fits tightly into the outlet. Faulty wall outlet connections or loose plugs can cause overheating.
- Be aware that heaters draw more current than small appliances and overheating may occur even if it has not occurred with the use of other appliances.
- During use, frequently check if the plug outlet or faceplate is hot. If so, discontinue use immediately and have a qualified electrician inspect and/or replace the faulty outlets.
- Take note that the heater has a polarized plug. If the plug does not fit fully in the outlet, reverse the plug or contact a qualified electrician. Do not attempt to defeat this safety feature.
- Comply with FCC and IC regulations regarding interference and radiation exposure limits.
General Specifications
| Electrical Specifications (all models) | |
|---|---|
| Input Voltage | 120V AC, 60 Hz |
| Cable Length | 72 inches (1.8 meters) |
| Max. Power Consumption | 1500W |
| Heat Output | 1500W Nominal, 1500W Max., 750W Min. |
| Flame Only Operation | DY-BTS35: 27W, DY-BTS40: 28W, DY-BTS60: 46W |
Note: For further information, warranty details, and setup guides, please visit the support website mentioned above or contact the provided support email and phone number.
Models
DY-BTS35 / DY-BTS40 / DY-BTS60
READ CAREFULLY BEFORE ATTEMPTING TO ASSEMBLE, INSTALL, OPERATE, OR MAINTAIN THIS PRODUCT.
PROT ECT YOURSELF AND OTHERS BY OBSERVING ALL SAFETY INFOR MATION. FAILURE TO COMPLY WITH INSTRUCTIONS COULD RES ULT IN PERSONAL INJURY AND/OR PROPERTY DAMAGE.
WARNING: To reduce risk of fire, electrical shock, or personal injury, read and understand all instructions, including safety information before plugging in and operating.
For setup guides, full product specs, and warranty information, please visit us at: support.dynastyfireplaces.com

Contact us: [email protected]
1-877-521-1009
SAFETY INFORMATION
- Read all instructions before using this heater!
- This heater is hot when in use. To avoid burns, DO NOT let bare skin touch hot surfaces. If provided, use handles when moving this heater. Keep combustible materials, such as furniture, pillows, bedding, papers, clothes, and curtains at least 3 feet (0.9m) from the front of the heater and keep them away from the sides and rear.
- Extreme caution is necessary when any heater is used by or near children or invalids and whenever the heater is left operating and unattended.
- DO NOT operate any heater with a damaged cord or plug or after the heater malfunctions, has been dropped or damaged in any manner. Discard heater or return to authorized service facility for examination and/or repair.
- DO NOT run power cord under carpeting. DO NOT cover power cord with throw rugs, runners, or similar coverings. DO NOT route power cord under furniture or appliances. Arrange power cord away from traffic area, and where it will not be tripped over.
- DO NOT insert or allow foreign objects to enter any ventilation or exhaust opening, as this may cause electric shock or fire, or damage the heater.
- To prevent a possible fire, DO NOT block air intakes or exhaust in any manner. Doing so could cause a fire. DO NOT use on soft surfaces, like a bed, where openings may become blocked.
- A heater has hot and arcing or sparking parts inside. DO NOT use it in areas where gasoline, paint, or flammable liquids are used or stored.
- Use this heater only as described in this manual. Any other use not recommended by the manufacturer may cause fire, electric shock, or injury to persons.
- ALWAYS plug heaters directly into a wall outlet/receptacle. NEVER use with an extension cord or relocatable power tap (outlet/power strip).
- DO NOT place the heater near a bed because objects such as pillows or blankets can fall off the bed and be ignited by the heater.
- NEVER use this heater in bathrooms, laundry rooms, or any other location where the heater could fall into a bathtub or pool, become damp, or come in contact with water.
- AVOID FIRE! Regularly inspect all air vents to make sure they are free from dust, lint, or other blockage. Unplug the unit and clean with a vacuum ONLY. DO NOT rinse or get wet.
- NEVER hang this unit on a wall directly below an electrical outlet.
- NEVER permanently install in a recessed area of the wall. This may result in blocked air flow, overheating, or fire.
- ALWAYS secure to wall framing before use.
- WARNING: REDUCE THE RISK OF FIRE OR ELECTRIC SHOCK—DO NOT USE THIS HEATER WITH ANY SOLID-STATE SPEED CONTROL DEVICES.
- This product is not intended to be a primary heat source. It is for supplemental heat only.
- INDOOR use only! NEVER use this heater outdoors! Doing so may result in electric shock!
- Risk of electric shock! DO NOT OPEN! No user-serviceable parts inside!
- NEVER modify this heater. Doing so could result in personal injury or property damage. Modification of this fireplace completely voids all warranties.
- ALWAYS turn this heater off before unplugging it from the outlet.
- ALWAYS disconnect this unit from the power supply before performing any assembly or cleaning, or before relocating the electric fireplace.
- NEVER leave this heater unattended. ALWAYS unplug this heater when not in use.
- ALWAYS store this heater in a dry location. NEVER use the fireplace if it has become wet.
- ONLY use this heater on a 120V AC 15-Amp circuit. NEVER overload the circuit. If this heater trips the circuit breaker, unplug all other appliances on the same circuit before the next use. Avoid plugging other appliances into the same circuit as this heater.
- NEVER plug this heater into an outlet that is old, cracked, or has any loose wires or connections. Plugging this heater into a faulty outlet could result in electric arcing within the outlet that could cause the outlet to overheat or catch fire.
- ALWAYS check your heater cord and plug connections with each use!
- MAKE SURE the plug fits tight in the outlet! Faulty wall outlet connections or loose plugs can cause the outlet to overheat.
- Heaters draw more current than small appliances. Overheating may occur even if it has not occurred with the use of other appliances.
- During use check frequently to see if the plug outlet or faceplate is HOT! If the outlet or faceplate is HOT, discontinue use immediately and have a qualified electrician inspect and/or replace the faulty outlets.
This heater has a polarized plug (one blade is wider than the other). As a safety feature to reduce the risk of electrical shock, this plug is intended to fit in a polarized outlet only one way. If the plug does not fit fully in the outlet, reverse the plug. If it still does not fit, contact a qualified electrician. Do not attempt to defeat this safety feature.

FCC Statement
This device complies with part 15 of the FCC Rules. Operation is subject to the following two conditions:
- This device may not cause harmful interference, and
- This device must accept any interference received, including interference that may cause undesired operation.
FCC warning:
Any Changes or modifications not expressly approved by the party responsible for compliance could void the user’s authority to operate the equipment.
Note: This equipment has been tested and found to comply with the limits for a Class B digital device, pursuant to part 15 of the FCC Rules. These limits are designed to provide reasonable protection against harmful interference in a residential installation. This equipment generates uses and can radiate radio frequency energy and, if not installed and used in accordance with the instructions, may cause harmful interference to radio communications. However, there is no guarantee that interference will not occur in a particular installation. If this equipment does cause harmful interference to radio or television reception, which can be determined by turning the equipment off and on, the user is encouraged to try to correct the interference by one or more of the following measures:
- Reorient or relocate the receiving antenna.
- Increase the separation between the equipment and receiver.
- Connect the equipment into an outlet on a circuit different from that to which the receiver is connected.
- Consult the dealer or an experienced radio/TV technician for help.
This equipment complies with FCC radiation exposure limits set forth for an uncontrolled environment. This equipment should be installed and operated with minimum distance 20cm between the radiator & your body.
IC Statement:
This device complies with Industry Canada license-exempt RSS standard(s).
Operation is subject to the following two conditions:
- This device may not cause interference, and
- This device must accept any interference, including interference that may cause undesired operation of the device.
This equipment complies with IC RSS-102 radiation exposure limits set forth for an uncontrolled environment. This equipment should be installed and operated with minimum distance 20cm between the radiator & your body.
GENERAL SPECIFICATIONS
ELECTRICAL SPECIFICATIONS (all models)
| INPUT VOLTAGE | 120V AC, 60 Hz |
| CABLE LENGTH | 72″, 1.8m |
| MAX. POWER CONSUMPTION | 1500W |
| HEAT OUTPUT | 1500W Nominal |
| 1500W Max. | |
| 750W Min. |
FLAME ONLY OPERATION
| DY-BTS35 | DY-BTS40 | DY-BTS60 |
| 27 W | 28 W | 46 W |
AMBIENT LIGHTING
| DY-BTS35 | DY-BTS40 | DY-BTS60 |
| 17 W | 25 W | 26 W |
WiFi OPERATION
- Controlled via Dynasty app
- Connect on 2.4 GHz network only WiFi 802.11 b/n/g
PRODUCT DIMENSIONS

| Model | A | B | C | D | E | F | G | H | I |
| DY-BTS35 | 872 mm | 840 mm | 739 mm | 506 mm | 110 mm | 325 mm | 220 mm | 315 mm | 15 mm |
| 34 ⅜ in. | 33 in. | 29 in. | 20 in. | 4 ⅜ in. | 12 ¾ in. | 8 ⅝ in. | 12 ⅜ in. | ½ in. | |
| DY-BTS40 | 1032 mm | 1000 mm | 633 mm | 400 mm | 110 mm | 325 mm | 220 mm | 315 mm | 15 mm |
| 40 ⅝ in. | 39 ⅜ in. | 25 in. | 15 ¾ in. | 4 ⅜ in. | 12 ¾ in. | 8 ⅝ in. | 12 ⅜ in. | ½ in. | |
| DY-BTS60 | 1632 mm | 1600 mm | 633 mm | 400 mm | 110 mm | 325 mm | 220 mm | 315 mm | 15 mm |
| 64 ¼ in. | 63 in. | 25 in. | 15 ¾ in. | 4 ⅜ in. | 12 ¾ in. | 8 ⅝ in. | 12 ⅜ in. | ½ in. |
PACKAGE CONTENTS

PLEASE REMOVE ACCESSORIES AND MANUAL BEFORE DISCARDING PACKAGING
For warranty, parts, or product support, please visit our site at: support.dynastyfireplaces.com
Contact us at: [email protected]
PREPARATION & FRAMING
LOCATING YOUR ELECTRIC FIREPLACE
Your new electric fireplace may be installed virtually anywhere in your home. However, when choosing a location, ensure that the general instructions are followed. For best results, install out of direct sunlight. Power supply service must be either completed or placed within the electric fireplace prior to finish to avoid reconstruction.
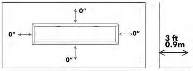
MINIMUM CLEARANCE TO COMBUSTIBLES
| FRONT | BACK | SIDES | TOP | BOTTOM |
| 36″ / 0.9m | 0″ | 0″ | 0″ | 0″ |

WARNING! Keep drapery and other furnishings at least 3ft /0.9m from the front of the electric fireplace.
FRAMING & INSTALLATION
Note: Ensure that you leave adequate room to remove and replace the front screen or optional front.

Framing Dimensions
| Model | W | H | Depth |
| DY-BTS60 | 1610 mm | 643 mm | 320 mm |
| 63 ⅜ in. | 25 ⅜ in. | 12 ½ in. | |
| DY-BTS40 | 1010 mm | 643 mm | 320 mm |
| 39 ¾ in. | 25 ⅜ in. | 12 ½ in. | |
| DY-BTS35 | 850 mm | 749 mm | 320 mm |
| 33 ½ in. | 29 ½ in. | 12 ½ in. |
INSTALLATION
FIREPLACE CONFIGURATION
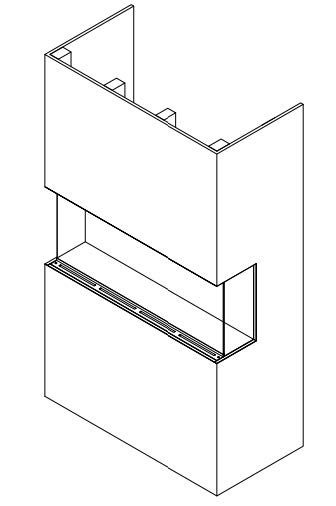
When unpacking the fireplace, the side plates have been fixed on the appliance. Remove them if you want the appliance to be installed in a two-sided or three-sided configuration.

Take out the edging strips and fix them to any side where the side panel has been removed. This will create an edge for drywall or finishing materials.
The fireplace can be installed in 3 different configurations. The intended configuration should be considered before installation:
- Single-sided front configuration (front window visible only)
- Two-sided configuration (front and one sided visible)
- Three-sided configuration (front and sides visible)
NOTE:

- Do not fix any edging strips for one sided installation
- For two-sided installation, fix the edging strips ONLY to the side to be exposed – DO NOT REMOVE THE COVER PLATE OF THE UNEXPOSED SIDE
- For three-sided installation, fix the edging strips to both sides
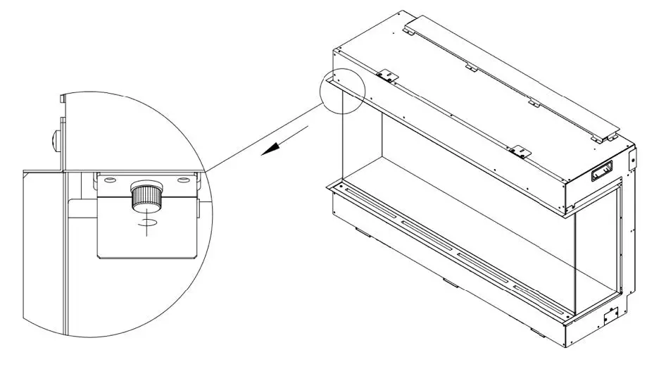
Secure the edging strips with the eight ST4*8 screws already on the fireplace from the side panels.

Before installing the fireplace into the wall enclosure, it is recommended that the power is turned on and the appliance is operated to check function and that power is supplied to the fireplace.
INSTALLATION
NOTE: Ensure that air can enter the vents on the underside and the top of the fireplace. The fireplace is fitted with metal feet on the top and bottom. Do not block the top vents or underside between the feet.

- Build frame according to framing dimensions on Page 8 and ensure a power source is available. It is recommended to install the fireplace after finishing the wall to ensure the side brackets sits flush with the wall finishing.

- Push the appliance into the frame and fold out the brackets on the top and lower edge of this appliance to secure it to the stud with (C) ST 4*40 Screws.

- Cover the framing by drywall panels or your finishing of choice. The finishing material can be used to cover the exposed metal areas on the sides and front of the appliance.
PLACING MEDIA & REMOVING FRONT GLASS
- Remove the front glass panel by removing the thumbscrews and fixing brackets and bolt, and then remove the front glass by pulling forward and lifting out of position.


- After removing the glass front panel, turn on the flame.
- You may see some groups of red lights on the bottom of back screen. These are reflections of LED lights under the front edge of the fuel bed area. Place the black glass ember components tightly against back glass.
- Sprinkle vermiculite and the small clear crystals sprinkle it between the black glass embers to cover the remaining visible sections of the fuel bed area.
- Position the logs or large crystal pieces over the flame bed. Rearrange or create the arrangement to your own liking. All the logs will fit onto the appliance, but can be left off if desired.
- Reinstall the front glass panel.

POWER OPTIONS
Plug-in
You may run the power cord out of the framed wall opening to an existing outlet or install an outlet on a nearby wall stud within the wall). If the cord is not long enough to reach the outlet, a grounded extension cord minimum AWG No. 14 wiring and rated to a minimum or 1875 watts may be used.
Hard-wire
A qualified electrician may remove the cord connection and wire the appliance directly to the house hold wiring. The appliance must be electrically connected and grounded in accordance with local codes.
FIREPLACE REPAIR GUIDES
For full detailed instructions and step-by-step guides on how to repair and service the fireplace, including repair and replacement of parts such as LED lights, motor, heater, etc., please visit our support website at: support.dynastyfireplace.com
SERVICEABLE PARTS LIST

NOTE:
*PARTS WITH “XX” AT THE END DENOTES THE SKU OF THE FIREPLACE. FOR EXAMPLE, A DY-BTX64 WILL REPLACE THE “XX” WITH “64”
For parts, please contact your dealer, distributor, or point of purchase and provide model number and serial number when requesting service parts
OPERATION
This appliance can be operated by remote control and onboard buttons, however onboard buttons have limited functions. A beep should be heard when the power is first applied.
ONBOARD BUTTONS
The onboard buttons are located under the trim on the top left.

Press the STAND-BY button to turn on or off the electric fireplace. This will turn on the flame LEDs and flame bed LEDs, and enable control of other functions
Press the FLAME button to turn on/off the flame LEDs.
Press the HEATER button to turn on/off the heater and cycle through heat levels High/Low. Heat level is indicated by the Heater Indicator light in the middle of the appliance.
- Press once for low heat (Heater indicator ●○)
- Press twice for high heat. (Heater indicator ●●)
- Press three times to turn off heat (Heater indicator ○○)
Press the SPEED button to adjust the flickering speed of the flames. There are six total settings for the flame speed.
WIFI CONFIGURATION
The Melody series is controllable via Dynasty Fireplaces’ own smartphone app for Android and iOS. Download the Dynasty app, and signup for an account with your email, and connect your fireplace. To download the app, visit: dynastyfireplaces.com/download
For more information on WiFi setup, and connecting to voice-assistants visit: support.dynastyfireplaces.com
WIFI SETUP
NOTE: WiFi control and operation of the fireplace can only be done after an account has been created, and the device has been linked to your account
- Download the Dynasty app, follow the onscreen instructions to create an account. Only an active email is required to create an account
- With the fireplace in standby mode (flame and heater turned off, plugged into power), press and hold the WiFi Button for 5 seconds until the flame bed flashes red and makes a beeping sound.
- Ensure the flame bed is blinking RED, then return to the app to complete setup and link the fireplace to your account. The fireplace flame bed will flash GREEN for a successful connection, and BLUE for an unsuccessful connection.
For more information on WiFi setup, and connecting to voice-assistants visit: support.dynastyfireplaces.com
REMOTE CONTROL


CLEANING & MAINTENANCE
ALWAYS turn the heater OFF and unplug the power cord from the outlet before cleaning, performing maintenance, or moving this fireplace. Failure to do so could result in electric shock, fire, or personal injury.
CLEANING
NEVER immerse in water or spray with water. Doing so could result in electric shock, fire, or personal injury.
Metal:
- Buff using a soft cloth, slightly dampened with a mild cleaning solution if needed.
- DO NOT use brass polish or household cleaners as these products will damage the metal trim.
Glass:
- Use a good quality glass cleaner and dry thoroughly with a paper towel or lint-free cloth.
- NEVER use abrasive cleansers, liquid sprays, or any cleaner that could scratch the surface.
Plastic:
- Wipe gently with a slightly damp cloth and a mild cleaning solution and warm water.
- NEVER use abrasive cleansers, liquid sprays, or any cleaner that could scratch the surface.
Vents:
- Use a vacuum or duster to remove dust and dirt from the heater and vent areas.
- Clean the exterior of the fireplace with a slightly damp cloth or duster.
MAINTENANCE
Risk of electric shock! DO NOT OPEN! No user-serviceable parts inside!
ALWAYS turn the heater OFF and unplug the power cord from the outlet before cleaning, performing maintenance, or moving this fireplace. Failure to do so could result in electric shock, fire, or personal injury.
Electrical and Moving Parts:
- The fan motors are lubricated at the factory and will not require lubrication.
- Electrical components are integrated in the fireplace and are not serviceable by the consumer.
Storage:
- Store heater in a clean dry place when not in use.
Replacement parts:
- Use only replacement parts supplied by Dynasty Fireplaces. Use of any other parts, or modifying the fireplace in any way, will void all warranties.
- If you’ve made a purchase through one of our retailers, contact them to order parts, or contact [email protected]
For full detailed instructions and step-by-step guides on how to repair and service the fireplace, including repair and replacement of internal parts such as LED lights, motor, heater, etc., please visit our support website at: support.dynastyfireplace.com
WARRANTY
This product is inspected, tested and carefully packaged to minimize the chance of damage during shipment. If a part within three years, or 48 months from the date of purchase proves to be defective in material or fabrication under normal use, the part will be repaired or replaced. Dynasty Fireplaces’ obligation under the warranty is to replace or repair defective parts at our discretion. Any expenses or damage resulting from the installation, removal, or transportation of the product will be the responsibility of the owner and are not covered by this warranty. The owner assumes all other risks arising from the use or misuse of the product. The warranty will be void if the product damage or failure is deemed by Dynasty to be caused by accident, alteration, misuse, abuse, incorrect installation or removal, or connection to an incorrect power source by the owner. Dynasty Fireplaces neither assumes, nor authorizes and person or entity to assume for it any obligation or liability associated with its products.

Dynasty Fireplaces
3231 No. 6 Road, Unit 127
Richmond, BC Canada
V6V 1P6
Telephone: (604) 821-1009
Toll free: 1-877-521-1009
Website: dynastyfireplaces.com
Support: [email protected]
Support Site: support.dynastyfireplaces.com

























