CAMBRIDGE CAM14FSFP-1BLK 17.8-in Freestanding 4606 BTU Electric Fireplace Instruction Manual
READ & SAVE THESE INSTRUCTIONS
Carefully read and review before assembling, installing, operating or maintaining this product. Observe all safety instructions and information.
FAILURE TO FOLLOW WARNINGS & OPERATIONAL INSTRUCTIONS CONTAINED IN THIS MANUAL CAN RESULT IN PROPERTY DAMAGE OR PERSONAL INJURY.
CONSUMER SAFETY INFORMATION
- Read this manual before installing and operating this appliance. Failure to follow these instructions may result in electric shock, fire property damage, personal injury and will void the warranty.
- Requires the use of Fireplace Mantel.
- Do not store or use gasoline or other flammable liquids or vapors in the vicinity of this appliance.
IMPORTANT SAFETY INSTRUCTIONS
When using electrical appliances, basic precautions should always be followed to reduce the risk of fire, electric shock and injury to persons including the following:
- The manufacturers instructions completely before using this appliance.
- This appliance will become hot when in use. To avoid burns, do not let bare skin touch hot surfaces. The grill at the top of this heater in particular will become hot when the heater is active. Keep combustible materials such as furniture, pillows, bedding, paper, cloth, curtains, etc. at least 3 feet (0.9meter) away from the front of the appliance. Keep all items away from the sides and back of the appliance and take special care not to block the air intake or exhaust vents.
- Extreme caution is necessary when the appliance is used by or near children or invalids and whenever the heater is left operating and unattended.
- Do not operate the heater if the power cord or plug has been damaged or the heater has been damaged or malfunctioned in any way. Take the appliance to an authorized service facility for examination, electrical or mechanical adjustment or repair.
- Do not use outdoors.
- Do not use the appliance in bathrooms, laundry rooms or other similar indoor locations where it may contact water. Never locate the appliance where it may fall into a bathtub or other water container.
- Do not run the power cord under carpeting. Do not cover the power cord with throw rugs, runners, or similar floor coverings. Take care to position the cord away from high traffic areas and such that it can’t be tripped over.
- To disconnect the appliance, turn all controls “OFF”, and then remove the plug from the electrical outlet.
- he appliance comes equipped with a 3 prong-grounding plug. Do not attempt to cut the grounding prong. Connect to properly grounded 120V outlets only. This appliance, when installed, must be electrically grounded in accordance with local codes or, in the absence of local codes, with the power current.
- Do not insert or allow foreign objects to enter any ventilation or exhaust openings as this may cause an electric shock or fire, or damage the appliance.
- To prevent a possible fire, do not block air intakes or exhausts in any manner. Do not use on soft surfaces, like a bed, where openings may become blocked.
- All electrical heaters have hot and arcing or sparking parts inside. Do not use in areas where gasoline, paint, or flammable liquids are used or stored or where the appliance will be exposed to flammable vapors.
- Avoid using the appliance with an extension cord. Extension cords may overheat and cause a risk of fire. If an extension cord MUST be used, the cord must be No.16 AWG minimum size and rated not less than 1875 Watts. The extension cord must be a 3-prong cord with grounding type plug and cord connection and should not exceed 20′ (6m) in length.
- When transporting or storing the heater, take care to keep both the unit and power cord / plug dry, free from excessive vibration and away from heat sources.
- Use the heater only as described in this manual. Any other use not recommended by the manufacturer may cause fire, electric shock, or injury to persons.
- Do not attempt to burn wood or other materials in this heater.
SAVE THESE INSTRUCTIONS
LISTING APPROVALS
This heater has been tested in accordance with the CSA Standards.
| Model Number: | XFRST1519-1 |
| Description: | Electric Fireplace |
| Voltage: | 110-120V AC, 60Hz |
| Watts: | MAX 1350W |
| Length: | 15.7 |
| Height: | 19.1 |
| Depth: | 7.5 |
OPERATING INSTRUCTIONS
Read all instructions and warning prior to operating the appliance.
Ensure that all control are in the “OFF” position before plugging the appliance into a properly grounded electrical outlet.
Controls are located on the back of heater Your heater stove is now ready for operation:
For flame affect only, Slide ON / OFF switch to the ON position. Indicator light will come on.
For low heat, ON / OFF switch and I switch must be on. Indicator light will come on.
For high heat, ON / OFF switch, I and II switch must be on. Indicator light will come on

CARE AND CLEANING OR MAINTENANCE
Turn heater OFF and unplug from electrical outlet before any cleaning or maintenance is performed.
Keep combustible materials,such as furniture,pillows,bedding,papers,clothing,and curtains at least 3 feet away from fireplace.
Use a vacuum or duster to keep heat and vent area from dust and dirt.The exterior of the fireplace should be cleaned with a damp cloth or duster.Do not use abrasive cleaners or liquid sprays.
Warning: Any other servicing should be performed by an authorized service representative.
MAINTENANCE
WARNING: Before attempting to perform any maintenance on this appliance, turn all controls to the “OFF” position and unplug the heater. Allow the appliance to be “OFF” for at least 10 minutes before performing any maintenance in order to allow all components to cool properly.
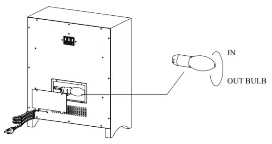
Flame effect/Light bulb replacement:
Allow the electric fireplace insert to cool before attempting to replace light bulbs. The flame effect on this electric fireplace insert is created by illuminating(1) clear 120V,40watt E-12(small base, chandelier candle type)light bulbs. The life of the light bulbs will depend on how often the fireplace is used. Do not use light bulbs that exceed 40 watts per bulb.
- Turn power to off and unplug insert from electrical outlet before changing light bulbs.
- Slide fireplace mantel away from wall to gain access to back of fireplace.
- Locate access panel on back of insert.
- Using a Phillips screwdriver, remove screws in access panel. Open door and replace light bulbs as necessary. It is recommended that both bulbs be replaced at the same time.
- Follow steps 1 through 4 in reverse order to reinstall access panel.
NOTE: We do not supply replacement light bulbs. They can be purchased at many home centers or hardware stores.

Care and maintenance:
Turn heater OFF and unplug from electrical outlet before any cleaning or maintenance is performed.
Keep combustible materials such as furniture, pillows, bedding, papers, clothing, and curtains at least 3feet (0.9meter) away from fireplace.
Use a vacuum or duster to keep heat and vent area clean from dust and dirt. The exterior of the fireplace should be cleaned with a damp cloth or duster. Do not use abrasive cleaners or liquid sprays.
Warnings and cautions:
WARNING To avoid electrical shock never open the back panel of the until the power has been turned off, and the insert unplugged.
WARNING Any electrical repairs to this electric fireplace, should only be performed by a qualified technician.
WARNING Any electrical wiring repairs should only be performed by qualified electrician, and also must comply with local building codes.
WARNING Discontinue use of this electric fireplace if any of the follow has occurred: Water damage, if insert has been dropped or dented, if power cord has become broken, if power cord becomes hot to touch, if unit smokes or smells like smoke.
Note: When the heat function is used for the first time, a slight odor may be present. This is normal and should not occur again unless heater is not used for extended periods of time and dust is allowed to accumulate on heater element.
TROUBLE SHOOTING
WARNING: Turn off the appliance, unplug and let cool for at least 10 minutes before attempting to service. Only a qualified professional should attempt to service or repair the appliance.
| PROBLEM | POSSIBLE CAUSE | CORRECTIVE ACTION |
| 1.No power, no indicator lights | Insert was not plugged in | Make sure that power cord is plugged into 120V outlet |
| 2.No power, no indicator lights | No power at outlet | Check circuit breaker or fuse |
| 3.Power indicator lights come on, logs will not glow and no flame effect | Broken or burned out light bulbs | Follow instructions for replacing light bulbs |
| 4.Log glow, but no flame | Flame spinner disconnected | Call customer service for instructions |
| 5.Flame and logs glow, but no heat | Heater switch is off | Push heater button. Indicator light will come on |
| 6.Heater and /or flame turn off while operating | Timer function may been on | Push On/Off button to reset |












