V I V O MOUNT-DS01 Universal Docking Station Mount

Product Information
The Universal Docking Station Mount (SKU: MOUNT-DS01) is a versatile product designed to mount docking stations and other devices to various surfaces. The mount comes with a VESA adapter, mounting bracket, velcro straps, and a clamp. It supports a weight capacity of up to 17.6lbs (8kg). The product can be assembled in three different ways: VESA mounting, under-desk mounting, and clamp mounting.
Package Contents:
- A (x1) VESA Adapter
- B (x1) Mounting Bracket
- C (x2) Velcro Strap
- D (x1) Clamp
- S-A (x2) M6x5mm Screw
- S-B (x2) 0.25 x 0.5 Screw
- M-A (x4) M4x10mm Screw
- M-B (x4) ST5x14mm Screw
Tools Needed:
Phillips Screwdriver
Assembly Options:
VESA Mounting:
- Step 1: Connect Mounting Bracket (B) to VESA Adapter (A) using M6x5mm Screw (S-A) and a Phillips screwdriver.
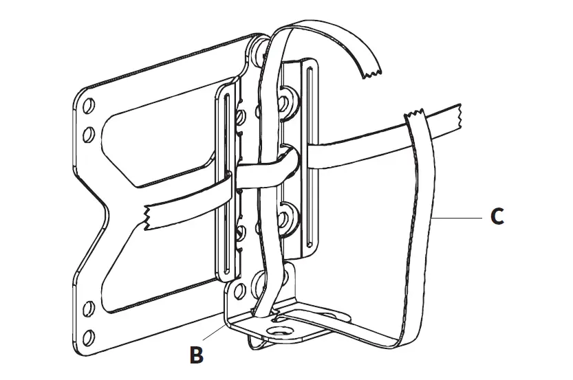
- Step 2: Slide Velcro Straps (C) through the bottom and side slots on Mounting Bracket (B).
- Step 3: Mount assembly to VESA holes on monitor or over VESA plate using M4x10mm Screws (M-A) using a Phillips screwdriver.
Under Desk Mounting:
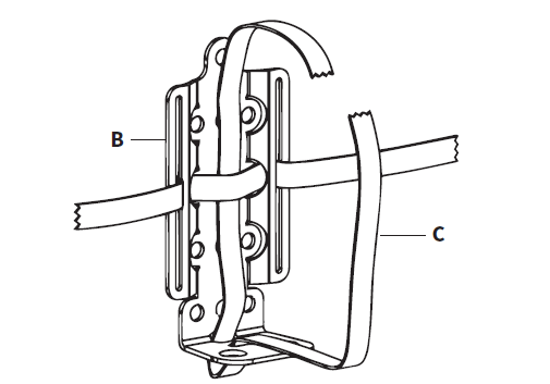
- Step 1: Slide Velcro Straps (C) through the bottom and side slots on Mounting Bracket (B).
- Step 2: Mark and drill pilot holes using a 3/32 (2.5mm) bit, drilling 3/8 (10mm) deep. Install Mounting Bracket (B) to underside of desktop using ST5x14mm Screws (M-B) and a Phillips screwdriver.
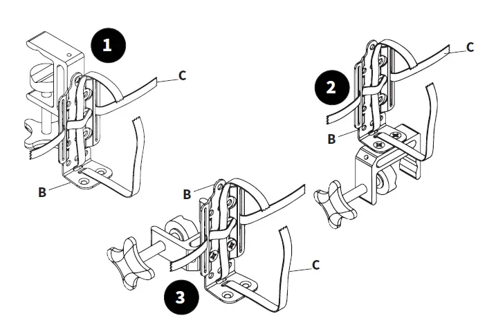
Clamp Mounting:
- Step 1: Choose one of the orientations and attach Mounting Bracket (B) to Clamp (D) using 0.25 x 0.5 Screws (S-B) and a Phillips screwdriver.
- Step 2: Slide Velcro Straps (C) through the bottom and side slots on Mounting Bracket (B).
- Step 3: Secure Clamp (D) to desired location.
Warning:
- Choking hazard: small parts – not for children under 3 years.
- Adult supervision is required. Do not exceed weight capacity.
- Failure to do so may result in serious injury.
Contact Information:
If any parts are received damaged or defective, please contact the manufacturer for a replacement. For more information or assistance, contact the dedicated support team via phone, email, or live chat on the website.
- Phone: 309-278-5303
- Email: [email protected]
- Website: www.vivo-us.com
SKU: MOUNT-DS01
Scan the QR code with your mobile device or follow the link for helpful videos and specifications related to this product
https://vivo-us.com/products/mount-ds01
GET IN TOUCH
Monday-Friday from 7:00 am-7:00 pm CST
- [email protected]
- www.vivo-us.com
- 309-278-5303
Chat live with an agent!
WARNING!
If you do not understand these directions, or if you have any doubts about the safety of the installation, please call a qualified technician. Check carefully to make sure there are no missing or defective parts. Improper installation may cause damage or serious injury. Do not use this product for any purpose that is not explicitly specified in this manual. Do not exceed weight capacity. We cannot be liable for damage or injury caused by improper mounting, incorrect assembly or inappropriate use.
WARNING: CHOKING HAZARD
SMALL PARTS – NOT FOR CHILDREN UNDER 3 YEARS. ADULT SUPERVISION IS REQUIRED.
PACKAGE CONTENTS
NOTE: SOME HARDWARE INCLUDED MAY NOT BE USED
TOOLS NEEDED
DO NOT EXCEED WEIGHT CAPACITY.
Failure to do so may result in serious injury.
ASSEMBLY
OPTION A | VESA Mounting
- Connect Mounting Bracket (B) to VESA Adapter (A) using M6x5mm Screw (S-A) and a Phillips screwdriver.

- Slide Velcro Straps (C) through the bottom and side slots on Mounting Bracket (B), as shown.

- Mount assembly to VESA holes on monitor or over VESA plate using M4x10mm Screws (M-A) using a Phillips screwdriver.

OPTION B | Under Desk Mounting
- Slide Velcro Straps (C) through the bottom and side slots on Mounting Bracket (B), as shown.

- Mark and drill pilot holes using a 3/32” (2.5mm) bit, drilling 3/8” (10mm) deep. Install Mounting Bracket (B) to underside of desktop using ST5x14mm Screws (M-B) and a Phillips screwdriver.

OPTION C | Clamp Mounting
- Choose one of the orientations below and attach Mounting Bracket (B) to Clamp (D) using 0.25” x 0.5” Screws (S-B) and a Phillips screwdriver.

- Slide Velcro Straps (C) through the bottom and side slots on Mounting Bracket (B), as shown.

- Secure Clamp (D) to desired location.

THIS PAGE INTENTIONALLY LEFT BLANK
Love your new VIVO setup and want to share? Tag us in your photo! @vivo_us
Open Monday – Friday 7:00am – 7:00pm CST,
our dedicated support team can offer immediate assistance with rapid response times. If any parts are received damaged or defective, please contact us. We are happy to replace parts to ensure you have a fully functioning product.
- 309-278-5303 AVG. RESOLUTION TIME (within office hrs): 5M 4S
- www.vivo-us.com AVG. RESOLUTION TIME (within office hrs): < 15 M Chat live with an agent!
- [email protected]
AVG. RESPONSE TIME (within office hrs): 1HR 8M
- 23% within < 15m
- 38% within < 30m
- 61% within < 1hr
- 83% within < 2hr
- 92% within < 3hr
FOR MORE VIVO PRODUCTS, CHECK OUT OUR WEBSITE AT: www.vivo-us.com

















