Flexson S5-FS Floor Stand for Sonos Five
TOOLS NEEDED

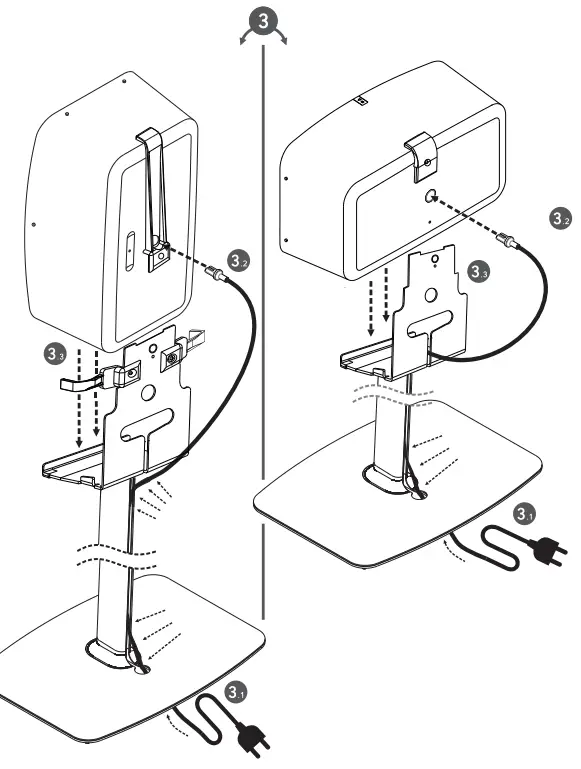
INSTALLATION

FAQS
In addition to placing your Sonos speaker on a floor stand, you can also mount it to the wall.
Designed to perfectly fit the Sonos Five and Play:5, this Flexson wall-mount bracket is as strong as it is discreet. The bracket securely holds the speaker in portrait position, from where it can be swiveled (up to 30 degrees left or right) and tilted (up to 15 degrees down) to angle your music to the perfect place.
The Sonos Five is a wireless smart speaker and as mentioned, it is the upgraded version of the Sonos Play Five. The Sonos Five has more memory and processing power compared to its predecessor. In addition to that, the Bluetooth low-energy and NFC are also improved as well as the wireless radio feature on this speaker.
The Sonos Five has a good soundstage performance. You can place it horizontally when you want to listen to stereo content and vertically for mono. Its directivity is also pretty good for a non-360-degree speaker, though it’s still somewhat directional-sounding. This speaker’s dynamics performance is disappointing.
For a single Five speaker, we recommend positioning the speaker horizontally to enable stereo sound. Place Five across the room from where you’ll be listening (at or close to your ear height for best results). For stereo pair placement information, see Set up stereo pair.
Don’t get either one of them. Get the Sonos Five – because the Play:5 is discontinued long ago! If you can’t or won’t get the Five for any reason, however, then definitely the Play 5 (Gen2). FYI, I sold my two Play 5 (Gen1) in favor of two Play 5 (Gen2) as soon as the latter was released.
Most users would agree that Sonos’ best speaker setup for music is a stereo pair of Fives. The mids on the Five are far superior than the One. And two Fives will give you plenty of bass without a subwoofer.
Second, you could “trade in” that Play:5, get 30 percent off of a newer Sonos product, and then do whatever you want with the old speaker—discard it, hand it off to a friend, or store it in your personal speaker museum.
While you can connect the Sonos Five directly to your TV with the 3.5 mm input, this won’t provide you surround sound quality audio, but it will be far better than your TV’s built-in speakers
The Play:5 (branded as the PLAY:5, formerly the ZonePlayer S5) is a smart speaker developed by Sonos, announced on October 13 and released on November 5, 2009, and is the debut product in the Play line of products.
Sonos has unveiled a replacement for its Play:5 multiroom speaker, dropping the “Play” from its name in the process. The Sonos Five has been redesigned and features new hardware, in order to make better use of the new features coming in the Sonos S2 software to be released in June
Sonos has a more streamlined approach to its home speakers, so they’re your best bet if you want a seamless listening experience. However, Bose offers plenty of other products in addition to soundbars and home speakers, so Bose gives you more options. Both brands deliver when it comes to audio quality.
The rep added that it’s highly likely the next generations of Sonos speakers will continue to be supported for several years—at a minimum of five years after the product is no longer sold
Sonos claimed that Amazon has also infringed its patents with the Echo lineup, but The New York Times reported that Sonos executives didn’t want to fight both Google and Amazon
The Five is the biggest and most powerful wireless home speaker in Sonos’ range, and it sounds every inch as detailed and musically pleasing as we’ve come to expect from Sonos. This flagship iteration (released in June 2020) adds increased memory, snappier processing and a new, er, wireless radio feature




















