Mobile Floor Stand for Tablets (7” to 10.5”) –
Height Adjustable
User Manual
SKU: STNDTBLTMOB
Compliance Statements
Use of Trademarks, Registered Trademarks, and other Protected Names and Symbols
This manual may make reference to trademarks, registered trademarks, and other protected names and/or symbols of third-party companies not related in any way to StarTech.com. Where they occur these references are for illustrative purposes only and do not represent an endorsement of a product or service by StarTech.com, or an endorsement of the product(s) to which this manual applies by the third-party company in question. Regardless of any direct acknowledgment elsewhere in the body of this document, StarTech.com hereby acknowledges that all trademarks, registered trademarks, service marks, and other protected names and/or symbols contained in this manual and related documents are the property of their respective holders.
PHILLIPS® is a registered trademark of Phillips Screw Company in the United States or other countries.
Safety Statements
Safety Measures
- Product installation and/or mounting should be completed by a certified professional as per the local safety and building code guidelines.
Warning Statements
- Assemble this product according to the instructions.
- Read the entire manual and ensure the instructions are fully understood before assembling and/or using this product.
- Do not exceed the weight capacity of this product. Overloading this product might result in injury or property damage.
- Weight capacity of the mount: 0.90 kg (1.98 lb.)
- Do not allow children to climb on this product, or use this product without proper supervision.
- This product is intended for indoor use only and should not be used
- Before adding equipment to this product, ensure the product has been properly assembled, and that the product can support the weight of the added equipment.
- Make sure all of the equipment has been properly secured before adjusting this product.
- Pinch hazard! Keep your fingers clear from moving components.
- Tipping Hazard! This product is freestanding and therefore prone to tipping if mishandled or overloaded. Exercise caution when moving, loading, unloading, and adjusting the product. Failure to do so could result in equipment damage and/or personal injury.
product Diagram
Side view

Product Dimensions
Note: All dimensions in square brackets are in [inches]. All other measurements are in millimeters.
Product Information
Requirements
For the latest product information, technical specifications, manuals, and Declarations of Conformance, please visit: www.startech.com/STNDTBLTMOB
- Tablet
- Supports most Tablets with a diagonal measurement of: 8 – 266.7 mm (7 – 10.5 in.)
- Maximum thickness: 10.5 mm (0.41 in.)
Package Contents
- Base, Lower x 1
- Base, Upper x 1
- Base, Interior x 1
- Casters x 4
- Telescopic Pole Assembly x 1
- Tablet Holder x 1
- Pole Mounting Screw x 1
- User Manual x 1
Installation
Pinch hazards! Keep hands away from any pinch points created by the mechanical components when adjusting the tablet. Failure to do so may result in serious personal injury.
Tipping Hazard! This product is freestanding and therefore prone to tipping if mishandled or overloaded. Exercise caution when moving, loading, unloading, and adjusting the product. Failure to do so could result in equipment damage and/or personal injury.
Snap Together the Base Components

Thread the Casters into the Base Assembly.

Attach the Telescopic Pole Assembly to the Base Assembly, Using the Pole Mounting Screw

Insert a Tablet into the Tablet Holder

Caution: Please ensure that tablet is securely fixed.
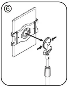
Attach the Tablet Holder Assembly to the Telescopic Pole Assembly

- Press and hold the Buttons on either side of the Attachment Point, located at the end of the Telescopic Pole Assembly.
- Align the Tablet Holder with the Attachment Point, located at the end of the Telescopic Pole Assembly, and release the Buttons.
Operation
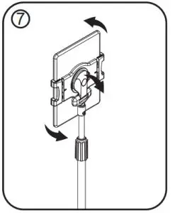
Tilt and Rotate the Tablet Holder Assembly

Adjust the Height of the Telescopic Pole Assembly
Note: Always hold the lower portion of the Telescopic Pole Assembly during height adjustments.

Rotate the Tablet Holder Assembly

Warranty Information
This product is backed by a five-year warranty.
For further information on product warranty terms and conditions, please refer to www.startech.com/warranty.
Limitation of Liability
In no event shall the liability of StarTech.com Ltd. and StarTech.com USA LLP (or their officers, directors, employees or agents) for any damages (whether direct or indirect, special, punitive, incidental, consequential, or otherwise), loss of profits, loss of business, or any pecuniary loss, arising out of or related to the use of the product exceed the actual price paid for the product.
Some states do not allow the exclusion or limitation of incidental or consequential damages. If such laws apply, the limitations or exclusions contained in this statement may not apply to you.
Hard-to-find made easy. At StarTech.com, that isn’t a slogan. It’s a promise.
StarTech.com is your one-stop source for every connectivity part you need. From the latest technology to legacy products — and all the parts that bridge the old and new — we can help you find the parts that connect your solutions.
We make it easy to locate the parts, and we quickly deliver them wherever they need to go. Just talk to one of our tech advisors or visit our website. You’ll be connected to the products you need in no time.
Visit www.startech.com for complete information on all StarTech.com products and to access exclusive resources and time-saving tools.
StarTech.com is an ISO 9001 Registered manufacturer of connectivity and technology parts. StarTech.com was founded in 1985 and has operations in the United States, Canada, the United Kingdom, and Taiwan servicing a worldwide market.
Reviews
Share your experiences using StarTech.com products, including product applications and setup, what you love about the products, and areas for improvement.
| StarTech.com Ltd. 45 Artisans Crescent London, Ontario N5V 5E9 Canada | StarTech.com LLP 4490 South Hamilton Road Groveport, Ohio 43125 The U.S.A. | StarTech.com Ltd.Unit B, Pinnacle 15 Gowerton Road Brackmills, Northampton NN4 7BW United Kingdom | StarTech.com Ltd.Siriusdreef 17-27 2132 WT Hoofddorp he Netherlands |
To view manuals, videos, drivers, downloads, technical drawings, and more visit www.startech.com/support
















