Meyer 19742 Tablet PC Stand Holder
User Manual
19742 Tablet PC Stand Holder
- Flexible and stable! Display your tablet PC to maximum effect.
- Equally suitable for the stage, home and studio
- For tablet PCs with width 160-320 mm, height 120-222 mm
- The stand holder is an effective and secure attachment system for tablet PCs:
- guaranteed by the integrated spanning tension spring and the side guard arm (3)
- A secure hold is provided by the integrated moss rubber protectors on the spanning
- clamping jaws, vibration sound is eliminated and the tablet housing protected
- Connects to all microphone stands with a 3/8″ internal thread
- Adjustment options to fulfil every requirement: tablet size, tilt angle, direction, portrait/landscape format: all adjustable to suit the
- user’s requirements
Thank you for choosing this product. These instructions contain information about the installation and use of the tablet PC holder. We suggest you keep the instructions in a safe place for later use.
SAFETY NOTES
- The stand must be sufficiently stable and have a 3/8″ threaded bolt, e.g. K&M microphone stands
- 199, 200, 21020, 21090, 210/6, 210/8, 252, 259, 260, 260/1, 27105, etc.
- Screw the stand holder onto the stand: we recommend 3 turns
- Please place the tablet PC in the cradle carefully and check it sits securely
- Manoeuvre the stand holder with care; be certain the tablet is securely held before adjusting
- (tilt, format and direction)

INSTALLATION (A-I)
A PREPARE THE STAND
A (see Safety Notes above)
B LAY OUT THE COMPONENTS FOR 19742 IN ORDER
- Tablet cradle
- Swivel joint
- Guard arm
C PRE-ADJUSTING THE TABLET CRADLE - Ensure that the “large latch” is disengaged – look for the 3 mm gap (see Fig.) Slide the “large latch” upwards, applying gentle trength. There will be an audible click.
- Slide out the upper section: The distance between the sides should be approx.10-15 mm less than the height or width of the tablet PC.
- Slide the “large latch” back down (there should be an audible click)
D CONNECTING THE SWIVEL JOINT TO THE MICROPHONE STAND - First, turn the knurled disc on the screw mounting of the stand as far as it will go
- Swivel joint – also turn this on the screw mounting – but not as far as it will go – we recommend leaving a gap of approx. 3 turns
- Turn the knurled disc in the opposite direction until there is no more free play between it and the swivel joint
- Tighten the wing nut
E ATTACHING THE GUARD ARM - Place the guard arm in a suitable groove of the swivel joint in such a way that the end sits closely with the tablet (11a)
- Important: The tablet PC must be aligned centrally (see points 26 and 27), if necessary, correct the position of the guard arm.
INSTALLATION (A-I)
Continuation
F ATTACHING THE CRADLE - Place the cradle on the four hooks of the swivel joint
- Slide the cradle to the stop position (you will hear a click)
G CLIP THE TABLET PC IN THE CRADLE - “Move the “small latch” upwards (click!) – this allows the arm to be moved upwards against a spring tension
- a Hold the cradle firmly with one hand…
16.b …align the tablet PC centrally in the clamping jaw and slide upwards until…
16.c …the tablet PC can also be clipped into the lower side of clamping jaw - The spring tension of the arm will push the tablet PC onto the four moss rubber protectors of the clamping jaw
NOTE: - The tablet PC should sit neatly with the guard arm. The position of the guard arm may need to be corrected depending on the size of the tablet PC. See I 23 ,24 & 26, 27.
- Now slide the “small latch” down (click!) – the upper jaws are now securely fixed
H REMOVING THE TABLET PC FROM THE CRADLE - Slide the “small latch” up again – the pull-out section is now released
- Hold the tablet PC and use it to push out the top side of the cradle
- Unclip the tablet PC in a downwards motion and remove
I DISMANTLING (Fig.re.) (e.g. to re-position the guard arm 3) - Release the lock between the tablet cradle and the swivel joint as follows:
23.a Press the lever down and hold down
23.b Slide the tablet cradle upwards to stop approx. 6 mm
23.c Lift the tablet cradle - Remove the guard arm
- If required, the swivel joint can be unscrewed from the stand

USER INSTRUCTIONS
ADJUSTING THE TABLET CRADLE
First the tablet must be removed from the cradle Suitable for tablet PCs with a screen size 6 to 10.1″ Ensure the cradle tension is adjusted correctly so the tablet is held securely (C4-6)
26. Position the tablet in the holder centrally and properly balanced
27. The guard arm must always touch the side of the tablet and be under the tablet as additional security when the tablet is positioned in the portrait format!
28. The soft moss rubber protects are effective protectors for the surface of the tablet and also prevent slip
29. The upper clamping jaw can be extended widthways, e.g. to access connections. In general, the jaw should extended as wide as possible.
How to clip in the tablet is described in G.
DIMENSIONS FUNCTIONS SETTINGS (J-M)
At a Glance & Step by Step
J TABLET SIZES
Range:
– min. 160 to max. 320 mm width
– min. 120 to max. 222 mm height
ADJUSTMENT
The tablet does not have to be removed to adjust the TILT, FORMAT or DIRECTION of the tablet.
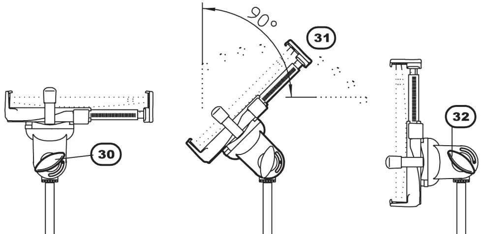
K TILT
The tablet can be fixed in any position between portrait and landscape format.
30 Hold the tablet and loosen the wing nut slightly
31 Tilt the tablet as required and
32 Re-tighten the wind nut
L FORMAT
The cradle can be moved through 90°.
33 Hold the tablet and turn to portrait or landscape format – or position at an angle! Invisible stops in the cradle prevent the cradle from slipping out of position
34 NOTE: the guard arm must be placed so that when the cradle is in the portrait position it is at the lower edge of the tablet; it may be necessary to turn the guard arm 180°
before inserting in the swivel joint (see E bzw. I23, 24)
M DIRECTION
35 START POSITION:
The knurled disc and threaded bushing of the cradle are tensed against each other
36 Release tension by turning the disc
37 Turn the tablet PC cradle to face the required direction
38 Tighten the knurled disc and threaded bushing again
38 (see 35)
FAULT FINDING (F) and SOLUTION (S)
F: Tablet PC wobbles
S: Check the tensioning of the upper cradle jaw and if necessary readjust (C 4-6)
S: Check the “large latch” of the cradle and if loose click back in place (C 4-6)
F: Tablet PC is not positioned centrally
S: Re-position the guard arm (E, 26 and 27)
F: Tablet cradle wobbles
S: Check the screw connections and if necessary tighten (D9, K32)
S: Has the cradle been clipped in correctly? Repeat clipping in procedure (F13and 14)
F: Tablet cradle cannot be released from the joint component
S: Press the lever, then release the tablet and remove (I23)
TECHNICAL DATA
| Materials | Swivel joint, adapter, grip: polyamide (PA-6) screws, nuts, washers, spring: steel Tablet cradle: PC-ABS |
| Load | Tablet-PCs (check dimensions) |
| Dimensions | For tablets with width 160-320 mm, height 120-222 mm For tubes: o 11-30 mm |
| Carton | 300 x 75 x 220 mm |
| Weight | net: 0.77 kg, gross: 1.0 kg |
KÖNIG & MEYER GmbH & Co. KG
Kiesweg 2, 97877
Wertheim, www.k-m.de
19742-300-55
Rev.15 03-80-196-00 5/17
C PRE-ADJUSTING THE TABLET CRADLE
D CONNECTING THE SWIVEL JOINT TO THE MICROPHONE STAND
E ATTACHING THE GUARD ARM
INSTALLATION (A-I)
G CLIP THE TABLET PC IN THE CRADLE
NOTE:
H REMOVING THE TABLET PC FROM THE CRADLE
















