Parrot Uncle MD8803-6110V 6-Light Wood Bead Chandelier

PACKAGE CONTENTS 
DESCRIPTION
PART/DESCRIPTION/QTY.
| A | Canopy | 1 |
| B | Mounting Bracket | 1 |
| C | Threaded Nipple | 1 |
| D | Hex Nut | 3 |
| E | Socket | 6 |
| F | Coupling | 1 |
PART/DESCRIPTION/QTY.
| G | Hardware circle | 1 |
| H | Screw Collar Ring | 1 |
| I | Screw Collar Loop | 1 |
| J | Fixture Loop | 1 |
| K | Chain | 1 |
| L ( 1) | Wood bead pendant | 12 |
| L (2) | Wood bead pendant | 12 |
HARDWARE CONTENTS
SAFETY INFORMATION
Please read and understand this entire manual before attempting to assemble, operate or install the product.
WARN ING
IMPORTANT: NEVER attempt any work without shutting off the electricity.
Place the main power switch in the “OFF” position and unscrew the fuse(s), or switch “OFF” the circuit breaker switch(es), that control the power to the fixture or room you are working in. Place the wall switch in the “OFF” position. If the fixture to be replaced has a switch or pull chain, place it in the “OFF” position.
Do not use bulbs with wattage greater than specified on this fixture.
California Prop. 65: This lighting fixture contains chemicals known to the state of California to cause cancer, birth defects, and/or other reproductive harm. Wash hands after use.
CAUTION
- If you have any doubts about how to install this lighting fixture, or if the fixture fails to operate completely, please contact a licensed electrical contractor.
- All parts must be used as indicated in these instructions. Do not substitute any parts, leave parts out, or use any parts that are worn out or broken. Failure to obey this instruction could invalidate ETL listing and/or C.S.A certification of this fixture.
PREPARATION
- Before beginning the assembly of the product, make sure all parts are present.
- Compare parts with the package contents list and hardware contents list. If any part is missing or damaged, do not attempt to assemble the product.
- Estimated assembly time: 30 minutes to 1 hour
- Tools Required for Assembly (not included): Phillips screwdriver, flathead screwdriver, wire strippers, electrical tape, ladder, and safety glasses.
ASSEMBLY INSTRUCTIONS
- Screw fixture loop (J) onto coupling (F).
Note: The electrical cable will need to get pulled through the individual parts as they are installed on this and later steps. - Hardware circle (G) Wood bead pendant (L).

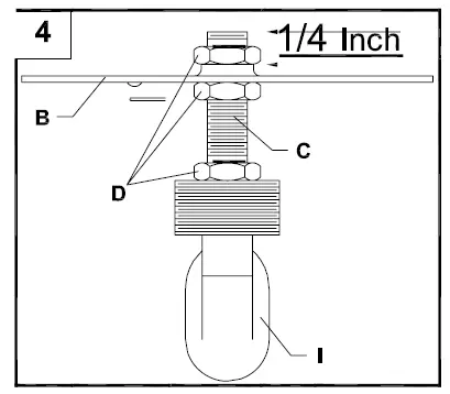
Note: The wooden beads hung up and down the ironing - Position threaded nipple (C) in the mounting bracket
(B) so when mounted:
The threaded nipple (C) will protrude a minimum of 1 /4 inch beyond the raised center portion of the mounting bracket (8).
The threaded nipple (C) height is positioned so 1 /2 the exterior threads of the screw collar loop (I) will extend past the canopy (A) when it is mounted.
Note: Canopy is only needed to determine the position of the threaded nipple and fixture loop. It will be installed later. - Once the proper position of the threaded nipple (C) a d mounting bracket (B) has been determined, secure with hex nuts (D) as follows:

- Screw one hex nut (D) onto the threaded nipple (C) and tighten against the raised portion of the mounting bracket (B).
- Screw another hex nut (D) onto the threaded nipple (C) and tighten it against the flat portion of the mounting bracket (B).
- Screw the remaining hex nut (D) onto the threaded nipple (C) and tighten it against the screw collar loop (I).
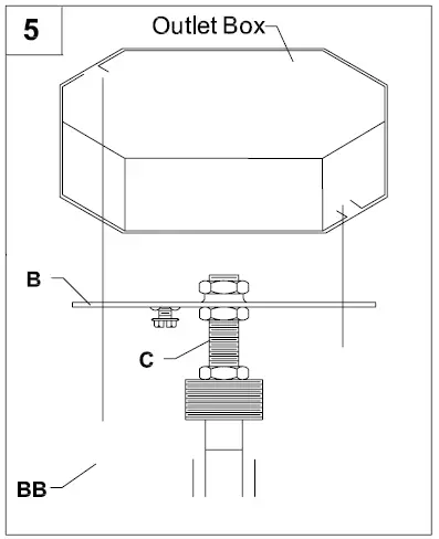
- Connect mounting bracket (B) to the outlet box with short machine screws (BB).

Hardware Used Short Machine x 2 BB Screw
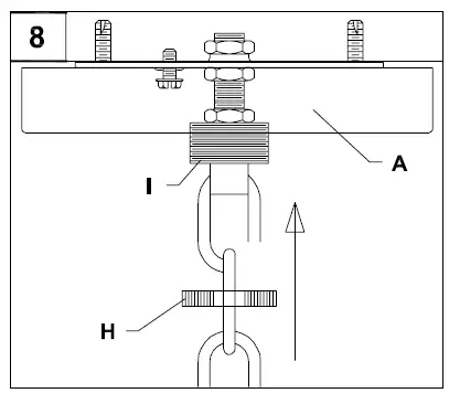
- Thread chain (K) through screw collar ring (H) and canopy (A). Using the open chain links on chain (K), attach one end to the screw collar loop (I) and the other end to the upper fixture loop (J). Weave the fixture electrical and ground wires through every other chain link and pass through threaded nipple (C) into the outlet box. Lower the screw collar ring (H) and canopy (A) over the chain (K).

- Wire connection guide: Ground wire:
For installation in the United States: Wrap ground wire from outlet box around ground screw preassembled on mounting bracket (B) no less than 2 in. from wire end.- Tighten the ground screw. If a fixture is supplied with a ground wire, connect it to the outlet ground wire with a wire connector (AA).
- For installation in Canada: If a fixture is supplied with ground wire, wrap ground wire around the ground screw on the mounting bracket (B). Tighten the ground screw.
- Connect the fixture ground wire to the outlet ground wire with the wire connector (AA).
Supply wires: - Connect the Neutral (White) supply wire from the outlet box to the Neutral fixture wire
- (White or Parallel Cord “D” shaped and ribbed).
- Connect the Hot (Black) supply wire from the outlet box to the Hot fixture wire (Black or Parallel Cord round and smooth).
NOTE: - Fixture wires will either be:
- Black and White.
- Parallel Cord SPT-1 lamp wire with one round smooth wire and one “D” shaped ribbed wire.
Hardware Used
AA Wire Connector
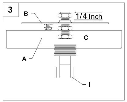
- Pass canopy (A) over the screw collar loop (I). Attach screw collar ring (H) to screw collar loop (I) to secure canopy (A).

7 BARE COPPER OR GREEN GROUND SUPPLY MRE BLACK SUPPLY WIRE WHITE SUPPLY WERE BLACK SUPPLY WIRE WHITE SUPPLY MORE
BARE COPPER, OR GREEN GROUND FIXTURE WE AA BLACK FIXTURE WMRE WHITE FIXTURE WERE OR PARALLEL FIXTURE CORD (ROUND AND SMOOTH) PARALLEL FIXTURE CORD (“D”SHAPED AND RIDGED)
- Insert 40-watt max. a candelabra-base incandescent bulb or CFL/LED equivalent (none included) into the socket (E).

CARE AND MAINTENANCE
- Always be certain that the electric current is turned off before cleaning this item.
- Use a soft, moist cloth with mild non-abrasive soap to clean the fixture. Never use glass cleaner on fixtures, as it will damage the metal finish.
- All glass shades may be washed in a towel-lined sink with warm water and mild soap. Do not wash shades in an automatic dishwasher.
TROUBLESHOOTING
- PROBLEM
- The fixture does not light.
- POSSIBLE CAUSE
- The fixture may be wired incorrectly.
- Worn or broken bulb.
CORRECTIVE ACTION
- Check to wire.
- Replace bulb.
WARRANTY
Parrot Uncle warrants that itS products will be free from defects in material and workmanship for one
- year from the date of purchase by the Original Purchaser.
To replace a product that has a warranted defect, the Original Purchaser shall return any allegedly defective parts or products to the authorized Parrot Unde warehouse that the product was purchased from with PROOF OF PURCHASE, Original Purchaser’s name and return address, and a description of the claimed product direct.
If any of the warranted products are found by Parrot Uncle, In its sole discretion, to be defective, such products Wil, at Parrot Unde’s sole option and cost be replaced, repaired or refunded less an amount directly attributable to Original Purchaser’s prior use of the product Parrot Uncle will return the repaired or replaced product prepaid freight. This warranty does not cover labor or other costs or expenses to remove or install any defective, repaired, or replaced product
The parties here to expressly agree that original Purchaser’s sole and exclusive remedy against Parrot Unde shall be for the repair, replacement, or refund of defective products as provided here in. his warranty extends only to product Ownership by the Original Purchaser, is not ransterable wnether to hers, subsequent owners, or otherwise; and is void the onginal Purchaser ceases to
Own the product
This warranty does not apply to any products that have been subjected to mlsuse, mlshandllng, mlsapplcatlon, connected to voltage at more than 5% above standard North Amerlcan voftage, unusual use (ncludlng Dut not imited to use in an enronment where the annual average amblent
Operaung temperature Is below 2/ or abOve 9b degrees Fanrenhet), neglect (includlng but not Imited to improper maintenance), accident, acts of god such as high winds, improper installaion or care, failure to follow the Product’s Witten instructions for normal use and care, improper packaging of products returned to Parrot Uncle, modification (including but not limited to use of unauthorized parts or attachments), or adjustment or repair. Significant product exposure to chemicals, harsh deaners, salt water or salt air wI void any and all warranties on exterior inishes. Ihis warranty only applies when all components, induding transformers, have been provided by Parrot Uncle. Substtuting another manufacturer’s product and/or components will render the warranty completely void.
THIS WARRANTY GIVES YOU SPECIFIC LEGAL RIGHTS. YOU MAY ALSO HAVE OTHER RIGHTS, WHICH VARY FROM STATE TO STATE. SOME STATES DO NOT ALLOW LIMITATIONS ON HOW LONG AN IMPLIED WARRANTY LASTS OR THE EXCLUSION OR LIMITATION OF INCIDENIAL OR CONSEQUENTIAL DAMAGES SO THE ABOVE LIMITATIONS OR EXCLUSIONS MAY NOT APPLY TO YOU. THE FOREGOING WARRANTY IS IN LIEU OF ALL OTHER WARRANTIES, EXPRESS OR IMPLIED, INCLUDING THOSE OF MERCHANTABILITY, FITNESS FOR ANY PARTICULAR PURPOSE, OR INFRINGEMENT. ORIGINAL PURCHASER SHALL IN NO EVENT BE ENTITLED TO, AND PARROT UNCLE SHALL NOT BE LIABLE FOR, INDIRECT, SPECIAL, INCIDENTAL, OR CONSEQUENTIAL DAMAGES OF ANY NATURE, INCLUDING, BUT NOT LIMITED TO LOSS OF PROFIT, PROMOTIONAL AND/OR MANUFACTURING EXPENSES, OVERHEAD, INJURY TO REPUTATION AND/OR LOSS OF CUSTOMERS.



Note: The electrical cable will need to get pulled through the individual parts as they are installed on this and later steps.
(B) so when mounted:



















