iStarUSA 3U Rackmount Chassis D-300

Hardware Guide
- Aluminum Bezel (3 color options: Red, Blue, Silver)
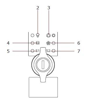
- Power LED
- Alarm reset (TC-ISF08 required)
- HDD LED
- Temp Sensor 1 LED (TC-ISF08 required)
- Fan LED (TC-ISF08 required)
- Temp Sensor 2 LED (TC-ISF08 required)
- Handle
- 5.25” Bay x4
- Key lock
- USB 2.0 x2
- Reset button
- Power button
- 3.5” Bay x2
- Ear Mount



- For 2U /3U Power Supply
- Expansion slot x7
- 60mm fan x1
- Cross bar/ Fan bar
- For ATX, micro-ATX MB
- For optional sensor board TC-ISF08
- Removable Air Filter
Package Contents

- Cable tie
- Expansion slots cover
- Screws kit x1
Optional Items






















